Материал: №2 Проводники

Внимание! Если размещение файла нарушает Ваши авторские права, то обязательно сообщите нам

вследствие хотя и очень слабой, но различной температурной зависимости работ выхода еφА и еφВ. Величина термоэлектродвижущей силы металлических термопар пропорциональна разности температур спаев:

,

(3.11)

где αТ – коэффициент термо-э.д.с.

Влияние деформаций на удельное сопротивление. Большое влияние на удельное сопротивление металлов оказывает искажение структуры, вызванные напряженным состоянием твердого тела. Изменение удельного сопротивления при упругом растяжении или сжатии на практике приближенно оценивается формулой

(3.12)

где ρ – удельное сопротивление металла при механическом напряжении σ; ρ0

– удельное сопротивление металла до механического воздействия; s – коэффициент механического напряжения, характеризующий структуру данного металла; знак «+»соответствует растяжению, знак «-» – сжатию.

Изменение ρ при упругих деформациях связано с изменением амплитуды колебаний узлов кристаллической решетки металлов. При растяжении амплитуда увеличивается, при сжатии – уменьшается. Увеличение амплитуды колебаний ведет к снижению подвижности носителей заряда.

Пластическая деформация, как правило, повышает удельное сопротивление металла вследствие искажения кристаллической решетки.

б).
Рис. 3. 2. Зависимости параметров сплавов от соотношения медь-никель (в процентах по массе):
а - удельное сопротивление; б – температурный коэффициент
удельного сопротивления
а).

Удельное сопротивление сплавов. Как уже отмечалось, примеси и нарушения в структуре кристаллической решетки ведут к увеличению удельного сопротивления про-водников.

Значительный рост удельного сопротивления имеет место при сплавлении двух и более металлов в том случае, если они образуют твердый раствор (при отвердевании совместно кристал-лизуются – атомы одного металла входят в кристаллическую решетку другого).

Пример зависимости удельного сопротивления сплава двух металлов от

изменения их процентного содержания a).

представлен на рис. 3.2, а. При этом наблюдается и определенная закономерность в изменении температурного коэф-фициента удельного сопротивления (рис. 3.2, б). Данные изменения параметров обусловлены не только изменением подвижности носителей заряда, но в ряде случаев и частичнымб). возрастанием их концентрации с ростом температуры. Сплав, у которого уменьшение подвижности носителей заряда с ростом температуры компенсируется

возрастанием концентрации носителей, имеет αρ=0.

Наиболее значимые электротехнические металлы и сплавы

Проводники низкого сопротивления

Медь – наиболее широко используемый материал в электротехнике. Его преимущества: малое удельное сопротивление, высокая механическая прочность, удовлетворительная стойкость к коррозии, хорошая технологичность, относительная легкость пайки и сварки.

Алюминий — второй по значению проводниковый материал. Удельное сопротивление в 1,6 раза больше удельного сопротивления меди, но алюминий

в 3,3 раза легче меди (большая проводимость на единицу массы). Более распространен в природе, меньшая себестоимость. Недостаток – низкая механическая прочность.

Латунь – сплав меди с цинком (до 50 % ), часто с добавками Al, Fe, Mn, Ni, Pb и других элементов (в сумме до 10 %). Хорошо обрабатывается давлением, удовлетворительная механическая прочность, высокая пластичность, стоек к коррозии.

Железо (сталь) — наиболее дешевый и доступный металл, высокая механической прочность. Однако даже чистое железо имеет значительно более высокое по сравнению с медью и алюминием удельное сопротивление. Удельное сопротивление стали (железа с содержанием углерода и других элементов – As, Mn, P, Al, Si ), еще выше. Характерна малая коррозийная устойчивость, поэтому поверхность стальных проводов защищают слоем более устойчивого материала, чаще всего покрывают цинком.

Проводники высокого сопротивления

Сплавы высокого сопротивления применяют при изготовлении электроизмерительных приборов, образцовых резисторов, реостатов, электронагревательных устройств. В электроизмерительной технике от них требуется возможно меньшее значение температурного коэффициента сопротивления и малая термо-э.д.с. относительно меди. Наиболее распространенными являются сплавы на медной основе – манганин и константан, а также хромоникелевые (нихромы) и железохромалюминиевые сплавы.

Манганин – 85 % – Cu, 12 % – Mn, 3 % – Ni, отличается желтоватым оттенком, технологичен. Для получения малого αр и высокой стабильности сопротивления во времени сплав подвергают отжигу в вакууме с последующим медленным охлаждением и длительной выдержкой при комнатной температуре.

Нихром – от 55 до 78 % – Ni, от 15 до 23 % – Сr, до 1,5 % – Mn,

остальное – железо. Используют для нагревательных элементов. Высокая жаростойкость (до 1200 °С ) с близкими значениями температурных коэффициентов линейного расширения сплавов и их оксидных пленок.

Константан – 60 % – Сu, 40 % – Ni. Данное соотношение меди и никеля, обеспечивает максимальное значение ρ и минимальное значение αρ (близко к 0 и обычно имеет отрицательный знак) (рис. 3.2). Хорошо поддается обработке. При нагреве до 400 – 500 °С на поверхности образуется прочная и

гибкая пленка оксида (электроизоляционная). Константан в паре с медью или железом приобретает большую термо-э.д.с., что позволяет использовать его для изготовления термопар.

Особенности

измерения

сопротивления

проводниковых

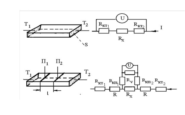
материалов. Измерение величины удельного электрического сопротивления проводниковых и полупроводниковых материалов затруднено существованием так называемых контактных сопротивлений, возникающих в местах соприкосновения измерительных электродов с поверхностью образца. Величина контактного сопротивления определяется материалом проводника и контактов; состоянием их поверхности; контактным усилием и рядом других факторов.При использовании двухэлектродной схемы (рис. 3.3, а), когда падение напряжения на образце измеряется с помощью тех же электродов (Т1 и Т2), через которые к нему проводится ток, величина контактных сопротивлений (RКТ1 и RКТ2) входит составной частью в общее измеряемое сопротивление, что вносит большую погрешность в определяемое значение RХ, а следовательно, и ρ. С целью снижения этой погрешности при измерении удельного сопротивления проводников и полупроводников применяют четырехэлектродный (четырехзондовый) метод (рис. 3.3, в).

а).

б).

в).

г).

.

Рис. 3.3. Принцип подключения электродов и эквивалентные схемы при двух- и четырехэлектродном методах измерения электрического сопротивления

В дополнение к токовым вводят еще и потенциальные электроды (П1 и П2), и по величине падения напряжения на них определяют

сопротивление соответствующего участка образца. Входное сопротивление измерителя напряжения Rv при этом должно быть много больше суммы

контактных сопротивлений потенциальных электродов RКТ1 и RКТ2. На рис. 3.3 представлены расположение электродов (а, в) и соответствующие эквивалентные схемы (б, г). При расчете удельного электрического сопротивления исследуемого образца учитываются его геометрические размеры – площадь сечения S и расстояние между потенциальными электродами (зондами) l.

Описание измерительной установки

Измерение осуществляется четырех-зондовым методом с помощь универсального вольтметра. Температура внутри измерительной камеры измеряется с помощью термопары и мультиметра.

Порядок выполнения работы

Перед началом испытаний изучить лабораторную установку, ознакомиться с порядком подключения исследуемых образцов и требуемых схем измерений. Заготовить необходимые таблицы для занесения экспериментальных данных, переписать параметры объектов измерений, необходимые для дальнейших расчетов. После собеседования с преподавателем приступить к выполнению работы.

Т а б л и ц а 2

 

 

Название

 

Название

 

Название

 

Название

 

Название

 

 

материала

 

материала

 

материала

 

материала

 

материала

0С

 

 

 

 

 

 

 

 

 

 

 

 

 

 

 

 

 

 

 

 

 

 

 

 

 

 

 

 

 

 

 

 

 

 

 

 

 

 

 

 

Т,

R,Ом

 

,ρОм∙м

0С-1

R,Ом

 

ρ,Ом∙м

0С-1

R,Ом

 

ρ,Ом∙м

0С-1

R, Ом

 

ρ,Ом∙м

0С-1

R,Ом

 

ρ,Ом∙м

0С-1

 

α

 

α

 

α

 

α

 

α

 

 

 

 

,

 

 

 

,

 

 

 

,

 

 

 

,

 

 

 

,

 

 

 

 

ρ

 

 

 

ρ

 

 

 

ρ

 

 

 

ρ

 

 

 

ρ

 

 

 

 

 

 

 

 

 

 

 

 

 

 

 

 

 

 

 

 

 

 

 

 

 

 

 

 

 

 

 

 

 

 

 

 

 

 

 

 

 

 

Обработка результатов измерений

1.Рассчитать удельное сопротивление исследованных металлических проводников;

2.Рассчитать температурный коэффициент удельного сопротивления исследованных металлических проводников;