Материал: Водоснабжение и канализация жилого дома

Внимание! Если размещение файла нарушает Ваши авторские права, то обязательно сообщите нам

В одонасыщенных грунтах ввод заделывают бетоном и цементным раствором или с помощью сальника. Глубина заложения труб ввода принимают в зависимости от глубины заложения наружной водопроводной сети и глубины промерзания грунта. Минимальная глубина укладки вводов (при отсутствии промерзания грунта) составляет 1 м. В месте присоединения ввода к наружной водопроводной сети следует предусмотреть колодец диаметром не менее 700 мм с установкой в нем задвижки на вводе (или вентиля - при диаметре ввода 40 мм и менее) и спускного крана. При пересечении водопроводных трубопроводов с канализационными расстояние между ними в свету по вертикали должно быть не менее 0,4 м, с другими трубопроводами - не менее 0,2 м. При меньшем расстоянии водопроводные трубы укладывают в металлическую гильзу с вылетом на 0,5 м в обе стороны от точки пересечения, а в водонасыщенных грунтах - на 1,0 м.

Расстояние по горизонтали (в свету) между вводом водопровода и выпуском канализации должно быть не менее 1,5 м (при диаметре ввода до 200 мм включительно). В месте присоединения ввода к наружной сети устраивают колодец. Для возможности опорожнения ввод укладывают с уклоном 0,005 в сторону наружной водопроводной сети.

4.3 Водомерные узлы и устройства для измерения расходов воды


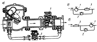
Для учета потребляемой воды в зданиях проектируются водомерные устройства. Водомерные узлы располагают, как правило, сразу же после ввода. Водомерный узел (рис. 6) состоит из устройства для измерения количества расходуемой воды, запорной арматуры, контрольно-спускного крана, соединительных фасонных частей и патрубков из водогазопроводных стальных труб.

Рис. 6 Водомерный узел: 1 - первый запорный вентиль; 2 - водосчетчик; 3 - контрольно-спускной кран; 4 - второй запорный вентиль; 5 - обводная линия; 6 - опломбированная задвижка

Различают водомерные узлы простые (без обводной линии) и с обводной линией, на которой устанавливают опломбированную задвижку в закрытом положении. Водомерный узел с обводной линией применяют, главным образом, на объединенных системах хозяйственно-питьевого и противопожарного водопровода для пропуска воды на пожар по обводной линии, минуя водосчетчик, а также в зданиях, где недопустим перерыв в подаче воды. Запорную арматуру (вентили, задвижки) устанавливают перед водосчетчиком и после него. Между водосчетчиком и запорной арматурой по направлению движения воды устанавливают контрольно-спускной кран (или патрубок с пробкой), который служит для спуска воды из системы внутреннего водопровода, контроля располагаемого напора, проверки правильности показания водосчетчика. Водомерный узел располагают в теплом и сухом нежилом помещении с температурой воздуха не ниже 5°С в легкодоступном для осмотра месте вблизи наружной стены у ввода в здание. Чаще всего его располагают в помещениях центрального теплового пункта (ЦТП), в подвалах или приямках, устраиваемых в коридорах, либо на лестничных площадках здания. Во избежание излишних потерь напора водомерные узлы собирают так, чтобы водосчетчик был установлен на прямом участке, а не на обводной линии. Для учета количества воды, расходуемой в зданиях, применяют крыльчатые и турбинные скоростные водосчетчики. Принцип действия водосчетчиков основан на суммировании числа оборотов помещенной в поток воды вращающейся крыльчатки или турбинки. Скорость вращения крыльчатки или турбинки пропорциональна средней скорости движения воды в месте установки прибора. Передаточный механизм передает частоту вращения крыльчатки (турбинки) счетному механизму, связанному с циферблатом, который суммирует количество воды, прошедшей через водосчетчик. Крыльчатые водосчетчики типа ВК изготавливают калибром 15-50 мм. Ось вращения крыльчатки у водосчетчиков ВК расположена перпендикулярно направлению движения воды. В зависимости от способа подвода воды к крыльчатке водосчетчики бывают одноструйные и многоструйные. Крыльчатые счетчики размещают только в горизонтальном положении на резьбовых соединениях. На входе в счетчик устанавливают сетку для выравнивания потока и задержания попавших в воду окалины, продуктов коррозии. Турбинные водосчетчики выпускают калибром 50-250 мм с фланцами для установки на трубопроводе.

Ось вращения турбинки водосчетка расположена параллельно направлению потока воды, поэтому его установка не зависит от ориентации в пространстве. Перед водосчетчиками следует предусматривать прямой участок длиной, равной пяти диаметрам, а после счетчика - одному диаметру. При значительных колебаниях расходов воды для учета малых и больших количеств применяют комбинированные водосчетчики, состоящие из крыльчатого и турбинного, с переключающим клапаном. Комбинированные водосчетчики завода "Водоприбор" выпускают двух типов: параллельные и последовательные. Малые расходы воды фиксируются крыльчатым водосчетчиком, а при увеличении расхода клапан направляет поток воды в турбинный счетчик. Показания счетчиков суммируют (рис. 7).

В настоящее время разработаны конструкции с дистанционной передачей показаний счетчиков по линии связи к регистрирующим приборам.

Рис. 7. Комбинированный скоростной счетчик воды: а - конструкция; б - схема параллельного соединения счетчиков; в - схема последовательного соединения счетчиков; 1 - клапан; 2 - крыльчатый счетчик; 3 - турбинный счетчик

4.4 Трассировка водопроводных сетей внутри здания


Правильный выбор мест прокладки сетей внутреннего водопровода существенно снижает стоимость устройства системы и облегчает ее эксплуатацию. При нижней разводке магистральный трубопровод, начиная от водомерного узла, следует прокладывать в подвальном этаже или в техническом подполье, а при их отсутствии - в каналах первого этажа, иногда совместно с другими трубопроводами (отопления, горячего водоснабжения), располагая его под ними или рядом с ними. Прокладка трубопроводов в земле под полом не допускается. Трубопроводы, кроме пожарных стояков, прокладываемые в шахтах, кабинах и каналах, изолируют от конденсации влаги.

Прокладка трубопроводов в помещениях с температурой ниже 2°С требует устройства термоизоляции. Подпольные каналы бывают непроходные высотой 0,3-0,7 м, проходные высотой 1,7-1,8 м и полупроходные высотой 0,8-1 м. Ширина каналов находится в пределах 0,3-1 м. Каналы делают прямоугольного сечения, выполняя их из несгораемых материалов. Сверху их прикрывают съемными плитами.