Материал: Технология добычи высоковязкой нефти на Ярегском месторождении

Внимание! Если размещение файла нарушает Ваши авторские права, то обязательно сообщите нам

Погружные электродвигатели и гидрозащита к ним используются аналогичными, применяемыми в агрегатах погружных центробежных электронасосов для добычи нефти.

Устройство и принцип действия винтовых насосов

Погружные винтовые электронасосные агрегаты ЭВН5 всех типоразмеров изготавливаются по одной и той же конструктивной схеме с двумя рабочими органами, соединенными параллельно, что обеспечивает:

-  удвоение подачи при одном и том же поперечном габарите;

-       рабочие органы (винтовые пары) гидравлически взаимно уравновешенны, что исключает передачу значительных осевых сил на опорные подшипники насоса и пяту электродвигателя.

Погружной винтовой электронасосный агрегат ЭВН5 (рисунок 2.5) состоит из следующий элементов: пусковая кулачковая муфта центробежного действия, основание с приводным валом, сетчатые фильтры, установленные на приеме насоса, рабочие органы с правыми и левыми обоймами и винтами, две эксцентриковые шарнирные муфты, предохранительный клапан и шламовая труба.

При работе агрегата, крутящий момент от электродвигателя через вал протектора гидрозащиты, пусковую муфту и эксцентриковые муфты насоса передается рабочим винтам. По принципу действия насосы относят к объемным, а по способу передачи энергии жидкости - к ротационным. Основными рабочими органами являются однозаходные геликсоидальные роторы с правым и левым направлением спирали и две резиново-металлические обоймы, внутренняя полость которых представляет собой двухзаходную винтовую поверхность с шагом в 2 раза большим, чем шаг винта, выполненную из маслобензиностойкой резины или другого эластомера.

Рисунок 2.5 - Винтовой погружной насос: 1 - шламовая труба; 2 - предохранительный клапан; 3 - фильтр; 4 и 6 - винты; 5 и 7 - шарнирные муфты; 8 - вал насоса; 9 - пусковая муфта

Принцип действия насоса заключается в том, что между винтом и обоймой по всей длине образуется ряд замкнутых полостей, которые при вращении винта заполняются перекачиваемой жидкостью, перемещаемой от приема насоса к его выкиду. Винты вращаются вокруг своей оси и по окружности с радиусом равным эксцентриситету.

Жидкость поступает одновременно в левый и правый органы насоса через приемные сетки-фильтры. В камере между винтами потоки соединяются, и следуя дальше по кольцевому каналу между корпусом насоса и верхней обоймы, жидкость через предохранительный клапан поступает в напорную линию.

Пластовая жидкость перекачивается практически без пульсации, не создавая стойкой эмульсии из нефти и воды. Подача насоса равна сумме подач рабочих пар, а напор насоса - напору каждой рабочей пары.

Все основные узлы и детали диафрагментных насосов унифицированы и применяются, за некоторым исключением, во всех насосных агрегатов.

В винтовых насосах типа ЭВН5 имеется ряд специфических деталей: пусковая кулачковая муфта, эксцентриковые шарнирные муфты, предохранительный клапан, шламовая труба, сетчатый фильтр.

Пусковая кулачковая муфта центробежного типа соединяет валы протектора и насоса и обеспечивает с помощью выдвижных кулачков пуск насоса при движении максимального крутящего момента на валу двигателя, соответствующем частоте вращения 800-1200 об/мин.

Это вызвано тем, что винтовой насос имеет большую инерцию покоя и, чтобы запустить его (преодолеть силы трения), требуется повышенный пусковой момент. Кроме того, пусковая муфта не позволяет валу насоса вращаться в обратную сторону.

При обратном вращении за счет скоса на кулачках, муфта не включается, и кулачки проскальзывают и тем самым предохраняют насос от отворачиваний резьбовых соединений. Муфта так же защищает насос от аварийного режима работы, т.к. при выходе из строя одного из рабочих органов отключается последний. Внутри основания насоса расположен вал с подшипниками и опорные пяты из силицированного графита. Основание (рисунок 2.6) можно использовать только в насосах, комплектуемых гидрозащитой типа 1Г51.

Рисунок 2.6 - Основание винтового насоса

- защитная втулка; 2 - бронзовая втулка; 3 - опорная пята; 4 - приводной вал

В основании нет сальника, а смазка трущихся поверхностей осуществляется пластовой жидкостью. На приводной вал надеты защитные втулки из нержавеющей стали, которые вращаются в бронзовых втулках. Концевые неподвижные пяты опираются на резиновые прокладки для равномерной пердачи усилий на всю поверхность пяты.

Эксцентриковая муфта (рисунок 2.7) обеспечивает возможность сложного планетарного вращения в обоймах. Благодаря чему жидкость проталкивается вдоль оси винта и создается необходимый напор для подъема жидкости на поверхность.

Эксцентриковые муфты, установленные между винтами, приводным валом и нижним винтом, состоящих из 2 универсальных шарниров, позволяют совершать сложные планетарные движения в обоймах.

Муфта состоит из 2 шарнирных узлов, соединенных резьбовым валиком, вращение в муфте передается роликами, расположенными в специальных гнездах поводка корпуса. Осевая сила воспринимается поводком и сферической шайбой. Резиновые манжеты и пружина сохраняют смазку в шарнирном узле и защищают от механических примесей. Шарнирность узла обеспечивается сферическими опорными поверхностями поводка и шайбы и зазором между роликами и соответствующими отверстиями в корпусе и поводке.

Рисунок 2.7 - Эксцентриковая муфта

- корпус; 2 - поводок; 3 - ролики; 4 - сферическая шайба; 5 - валик; 6 - пружина; 7 - уплотнительная манжета

В верхней части насоса расположен золотниковый предохранительный клапан (рисунок 2.8), который состоит из корпуса, золотника, поршня, амортизатора и корпусных деталей. Клапан выполняет следующие функции:

-  пропускает жидкость в колонну нкт при спуске насосного агрегата в скважину;

-       обеспечивает слив жидкости из колонны нкт при подъеме агрегата из скважины;

-       препятствует при остановках насоса сливу жидкости из колонны труб через рабочие органы насоса (вся жидкость сливается через клапан в затрубное пространство);

-       защищает насос от сухого трения и повышенного давления в напорной линии;

-       обеспечивает перепуск жидкости из напорной линии обратно в скважину или при недостаточном притоке жидкости из пласта, или при содержании в жидкости большого количества газа.

Работа клапана представлена на рисунке 2.8. Показаны 3 промежуточных положения клапана: заполнение жидкостью колонны труб и слив жидкости при спуске и подъеме насосного агрегата (рисунок 2.8 а); подача жидкости на поверхность при работающей установке (рисунок 2.8 б) и сброс жидкости на поверхность при недостаточном притоке жидкости или при большом газовом факторе обратно в скважину (рисунок 2.8 в).

Шламовая труба защищает насос от механических примесей, окалины, выпадающих из колонны НКТ при остановке насоса, монтаже и выполняет роль отстойника.

Рисунок 2.8 - Схемы работы предохранительного клапана

Материалы основных деталей

В насосах с подачами 62, 100, 200 м³/сут рабочие винты изготавливают из титанового сплава ОТ-4, а в насосах с подачами 16 и 25 м³/сут - из стали марки 40Х. Остальные ответственные детали насосов изготавливают из нержавеющей стали марок 95Х18 и легированной стали марки 12ХН3А. Для защиты от коррозии и повышения износостойкости рабочая поверхность винтов покрывается слоем хрома.

Для обоймы используется специальная резина марки 2Д-405, с высокими физико-механическими свойствами, или эластомер, обычно из синтетического каучука. Гарантийная наработка до отказа обоймы, непрерывно работающей в нефтяной скважине с напорами 900-1500 м, не менее года при сроке хранения 2 года.

Обоймы, покрытые изнутри эластомером, изготавливают, как правило, в пресс-форме. Эластомер заполняет форму и подвергается вулканизации. С помощью литьевых стержней с правым и левым направлением винтовых спиралей формируется соответствующие обоймы - правые и левые. Перед сборкой качество и размер обойм контролируется гладкими цилиндрическими калибрами. По торцам обоймы контролируется твердость эластомера.

В основании насосов под гидрозащиту 1Г51 применяется высокопрочный силицированный графит марки СГ-П.

Погружные электродвигатели винтовых насосов и их гидрозащита

Приводом винтовых насосов служит погружной электродвигатель маслонаполненный, трехфазный, асинхронный с короткозамкнутым ротором, четырехполюсной, переменного тока частотой 50 Гц, с частотой вращения вала 1500 об/мин.

Для погружного электродвигателя принято следующее обозначение:


Принципиальная схема погружного электродвигателя представлена на рисунке 2.9.

Гидродвигатель комплектуется гидрозащитой 1Г51 (рисунок 2.10), состоящей из протектора, устанавливаемого между насосом и электродвигателем и компенсатора, присоединяемого к нижней части электродвигателя.

Гидрозащита обеспечивает герметизацию внутренней полости электродвигателя от попадания пластовой жидкости, выравнивает давление внутри него с давлением в скважине на уровне подвески, компенсирует температурные изменения объема и расхода масла.

Рисунок 2.9 - Погружной электродвигатель: 1- опора; 2 - головка; 3 - корпус подшипника верхнего; 3- статор; 5 - ротор; 6 - подшипник промежуточный; 7 - корпус подшипника верхнего; 8 - основание; 9 - фильтр; 10 - клапан перепускной

Рисунок 2.10 - Электродвигатель ПЭД с гидрозащитой типа 1Г51

         - протектор; 2 - перепускной клапан; 3 - компенсатор

2.4 Техника безопасности на нефтяном предприятии

На каждый технологический процесс проектной организацией должен составляться, а нефтегазодобывающим предприятием утверждаться технологический регламент, который уточняется после пусконаладочных работ.

Отказы, неполадки оборудования и систем, нарушения технологического регламента, другие инциденты регистрируются предприятием в соответствии с требованиями Федерального закона "О промышленной безопасности опасных производственных объектов''.

Проходное отверстие для силового кабеля в устьевой арматуре должно иметь герметичное уплотнение.

Силовой кабель должен быть проложен от станции управления к устью скважины на эстакаде. Допускается прокладка кабеля на специальных стойках-опорах.

Монтаж и демонтаж наземного электрооборудования электронасосов, осмотр, ремонт и их наладку должен проводить электротехнический персонал.

Кабельный ролик должен подвешиваться на мачте подъемного агрегата при помощи цепи или на специальной канатной подвеске.

Кабель, пропущенный через ролик, при спускоподъемных операциях не должен касаться элементов конструкции грузоподъемных механизмов и земли.

При свинчивании и развенчивании труб кабель следует отводить за пределы рабочей зоны с таким расчетом, чтобы он не был помехой работающему персоналу.

Скорость спуска (подъема) погружного оборудования в скважину не должна превышать 0,25 м/с. В наклонно-направленных скважинах с набором кривизны 1,5° на 10 м скорость спуска не должна превышать 0,1 м/с.

Ствол скважины, в которую погружной электронасос спускается впервые, а также при смене типоразмера насоса, должен быть проверен шаблоном в соответствии с требованиями инструкции по эксплуатации погружного электронасоса.

3. Расчет параметров винтового насоса

Для расчета примем одновинтовой насос. Зададимся исходными данными:

-  радиус поперечного сечения винта: 12,5 мм;

-       удельный вес материала винта: 3,9 Н/м³;

-       шаг винта: 24 мм;

-       угловая скорость: 157 об/с;

-       эксцентриситет винта: 13 мм;

-       давление нагнетания: 2 МПа;

-       давления всасывания: 0,6 МПа;

-       плотность нефти: 950 кг/м³;

-       напор насоса: 1000 м;

-       диаметр поршня: 36 мм;

-       диаметр золотника: 18 мм.

Определим силы, вызывающие трение, винта и регламентирующие положение винта в обойме. Таких сил две: сила инерции и радиальная гидравлическая сила.

Сила инерции, существование которой обусловлено кинематикой движения винта, на длине шага винта.

Сила инерции, существование которой обусловлено кинематикой движения винта, на длине шага винта:

                                                                                 (3.1)

где r - радиус поперечного сечения винта, м;- шаг винта, м;

е - эксцентриситет винта, м;

γ - удельный вес материала винта, Н/м³;

ω0 - угловая скорость перемещения оси винта относительно оси обоймы, с-1;- ускорение силы тяжести, м³/с;

а - коэффициент, учитывающий силу инерции от вращения эксцентриковой муфты и той части тела винта, которая выступает из обоймы.

Радиальная гидравлическая сила, определенная Д.Д. Саввиным:

                                                                                       (3.2)

где Pk - межвитковый перепад давления:

                                                                                    (3.3)

где Рн - давление нагнетания, МПа;

Рвс - давление всасывания, МПа;- количество шлюзов в каждой нарезке обоймы.

Равнодействующая этих двух сил равна:

                                                                                (3.4)

Суммарная нормальная сила на контактной линии на длине шага винта:

                                                (3.5)

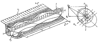
Из рисунка 3.2 видно, что угол φ=500 является углом поворота оси сечения обоймы относительно оси z, a γ = 650 - угол между силами .

Таким образом, устанавливаем, что нормальная сила, прижимающая винт к обойме, является функцией обеих радиальных сил, а также соотношением их значений.

Рисунок 3.1 - Схема действия сил в насосе


                                                                                 (3.6)