АНОТАЦІЯ
Курсовий проект на тему: «Розробка конструкції водовідділювача ВДМ-15» складається з пояснювальної записки виконаної на сторінках, яка містить рисунків, таблиці використано літературних джерел. Графічна частина складається з 2-х листів формату А1, на яких зображено загальний вигляд обладнання та кресленик вузла.
Пояснювальна записка складається з аналітичного огляду існуючих конструкцій обладнання для відділення транспортерно-миючої води, будови та принципу дії, технологічного процесу монтажу та ремонту, особливості підбору конструкційних матеріалів. Також приведені правила експлуатації жомовіджимного пресу, заходи з охорони праці та навколишнього середовища приведені пропозиції по модернізації обладнання.
В розрахунковій частині приведені
розрахунки потужності та конструктивних елементів обладнання, розрахунки
такелажного оснащення для монтажу обладнання та розрахунок балок.
ВСТУП
Буряк, який подається на переробку землею, піском, камінням, гичкою, соломою та іншими домішками. Кількість домішок, залежить від погодних умов і засміченості поля бур’яном, може досягати до 10-12% до маси буряків.
При попаданні в бурякорізку такий буряк тупить ножі, в результаті чого погіршується якість стружки, знижується продуктивність дифузійної установки і підвищуються втрати цукру від діяльності мікроорганізмів.
Для очищення буряку від домішок використовують соломогичковловлювачі, каменевловлювачі, водовідділювачі та бурякомийки.
Для відділення води від буряководяної суміші використовують водовідділювачі. По конструкції їх можна розділити на дискові та ротаційні. Найбільшого розповсюдження отримали дискові водовідділювачі. Транспортерно-миюча вода проходить між дисками разом з землею і піском а буряк проштовхується рухомими дисками до бурякомийки.
Над водовідділювачем після миття
рекомендується встановлювати сопла для ополіскування буряків чистої хлорованою
водою.
1. АНАЛІТИЧНИЙ ОГЛЯД ІСНУЮЧИХ
КОНСТРУКЦІЙ ОБЛАДНАННЯ
Перед подачею до бурякомийки і після
виходу з неї від буряка відділяється вода. Для цієї мети застосовуються
водовідділювачі. У них же відбувається відділення від буряка і мілких домішок
(тріски, уламків і хвостиків буряків і т.п.) На багатьох заводах експлуатуються
водовідділювачі, виконані у вигляді похилого металевого жолоба довжиною 1,5-2
м, дно якого представляє собою грати з металевих прутів або смугової сталі.
Однак вода на таких пристроях повністю відокремитися не може, тому що при
швидкості руху суміші близько 1,5 м/с час перебування суміші на
водовідділювачах близько 1-1,5 с.
Рисунок 1.1 Водовідділювач ВД-15-65
Як типовий прийнятий дисковий водовідділювач ВД-15-65. На станині 1 водовідділювача в підшипниках 2 обертаються вали 3, на які надіті фігурні гумові диски 4 у вигляді ромашки, що обертаються з частотою 85 об/хв в водовідділювачі перед мийкою і 107 об/хв після мийки (зміна частоти обертання досягається заміною шківа редуктора). Привід валів здійснюється від електродвигуна 5 потужністю 2,8 кВт через клинопасову передачу 6, редуктор 7 і зірочки 8. На кожному валу (крім двох крайніх) встановлено по дві зірочки. Одна з них є відомою для власного вала, інша - провідною для наступного.
Через зірочки перекинуті пластинчасті втулково-роликові ланцюги 9. Зірочки і ланцюги поміщені в масляну ванну 10. Привід водовідділювача встановлений на рамі 11, а електродвигун може переміщатися з санчатами 12 для натягування клинопасової передачі. Масляні ванни і передача закриті кожухами 13. Буряк, проходячи через диски водовідділювача, надходить в бурякомийку, а в зазори між дисками проходить вода і дрібні домішки, які йдуть через патрубок 14. Для того щоб буряк не звалювалася в сторони, встановлені борти 15. Водовідділювач має масу близько 2,0 т і розрахований для заводу потужністю 1500 т буряка за добу. Зазори між дисками і сусідніми валами складають 10,5 мм, а між дисками сусідніх валів - 4 мм.
Під час роботи водовідділювача необхідно слідкувати за його справністю. Кожухи на масляній ванні і клинопасовій передачі повинні бути ретельно встановлені. У ванні повинно бути достатньо масла. Перед пуском водовідділювача потрібно переконатися в надійному кріпленні вузлів і деталей, а диски змочити водою. Не можна проводити регулювання, ремонт і змащення механізмів під час роботи. Металева конструкція водовідділювача повинна бути заземлена. Основні недоліки дискових водороздільники в тому, що у них диски, підшипники і ланцюгові передачі швидко зношуються, а буряк у них значно подрібнюється (до 3,5%). У ротаційному водовідділювачі ВР-20 ці недоліки усунені.
Він складається з горизонтального
пруткового барабана 2 діаметром 1,1 м і довжиною 1,5 м з зазорами між прутами
20 мм і діаметром прутів 24 мм. Буряко-водяна суміш з гідротранспортера 1
надходить у внутрішню частину барабана, де, потрапляючи на спіральні витки 3,
встановлені на внутрішній поверхні барабана, втрачає швидкість, і вільно
проходить через зазори між прутами, потрапляє в бункер 6 . Буряк з допомогою
спіральних витків подається в мийку. Барабан встановлений на стійках 5 під
кутом 5 ° і обертається з частотою 10 об/хв на опорних роликах 9 і
підтримуючому ролику 4 від електродвигуна 7 потужністю 7 кВт через редуктор і
ланцюгову передачу.
Рисунок 1.2 Ротаційний
водовідділювач ВР-20
Для очищення щілин між прутами барабана збоку його встановлений вал 8 зі скребками. Такий водовідділювач добре відокремлює від буряка не тільки воду, а й пісок і інші домішки розміром до 20 мм, а також частково відокремлює солому, бадилля. При цьому буряк пошкоджується незначно (0,6-0,7% до маси буряків). Над водовідділювачем після миття рекомендується встановлювати сопла для ополіскування буряків чистої хлорованою водою. Ополіскування зменшує забрудненість до 0,008-0,015%. до маси буряків. Витрата води на обполіскування 15-20% до маси буряків.
Таблиця 1.1
Технічна характеристика водовідділювачів
|
Показники |
Марки |
||
|
|
ВДМ-15 |
ВДФ-3 |
ВДФ-6 |
|
1. Продуктивність т/доб |
1500 |
3000 |
6000 |
|
2. Загальна кількість валів, шт |
8 |
12 |
12 |
|
3. Час перебування буряку на водовідділювачі, с |
3 |
3 |
3 |
|
4. Зазори між гумовими дисками, мм |
6 |
6 |
6 |
|
5. Електродвигун, шт |
1 |
2 |
2 |
|
тип |
АО-2-41-6 |
||
|
потужність, квт |
2,8 |
3 |
3 |
|
частота обертання, об/хв |
960 |
960 |
960 |
|
6. Редуктор, тип |
Ц2УН-160 |
||
|
7. Габаритні розміри, мм довжина |
2250 |
3435 |
3435 |
|
ширина |
2171 |
2317 |
2996 |
|
висота |
1210 |
1317 |
|
|
8. Маса, кг |
1875 |
3539 |
4346 |
|
9. Завод виробник |
Катиринопільський ремонтно-механічний завод |
||
2. КОНСТРУКТИВНО-ТЕХНОЛОГІЧНА ЧАСТИНА
.1 Будова та принцип роботи
обладнання
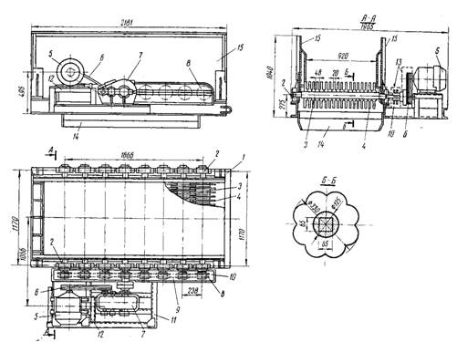
Водовідділювач ВДМ-15, складається з станини 5 до якої закріплені підшипники 4 в яких обертаються вісім квадратних валів 14, на які надіті фігурні гумові ступиці 19 з дисками 6, що обертаються з частотою 1,41 с-1 (85 об/хв). Зміна частоти обертання досягається заміною шківа редуктора.
Привод валів здійснюється від
електродвигуна 10 потужністю 2,8 кВт через клинопасову передачу 11, редуктор 8,
муфту й зірочки 3. На кожному валу (крім двох крайніх) встановлено по дві
зірочки. Одна з них є ведуча для власного вала, інша - ведена для наступного.
Через зірочки перекинуті пластинчасті втулочно-роликові ланцюги 2 з кроком 25,4
мм. Зірочки і ланцюги поміщені в масляну ванну 1 для змащування. Обертання від
редуктора передається четвертому (зліва на малюнку) валу, а від нього
ланцюгової передачу - до решти валів. Привід встановлений на рамі 7, а
електродвигун може переміщатися санчатами 9 для натягу клинопасової передачі.
Масляна ванна закрита кришкою, а клинопасова передача - кожухом 15. Фігурний
диск, виконаний з гуми, має по шість виступів 16 і западин 17.

Рисунок 2.1 Дисковий водовідділювач ВДМ-15
Для забезпечення жорсткості диска глибина западин виконана мінімальною, виходячи з вимог найменших втрат бурякової маси. На одному з шести робочих виступів є короткий виступ 18 («чобіток»), призначений для очищення проміжків між дисками та їх ступиць. Переваги таких дисків в тому, що зазори між дисками та їх ступицями завжди залишаються чистими, вільними для проходження транспортерної води і домішок, оскільки «чобіток» безперервно очищає їх, викидаючи уламки буряків вгору.
На одному валу диски встановлюються так, щоб «чобітки» розташовувалися в ряд, а на суміжних валах - таким чином, щоб «чобітки» на валу проходили попереду ступиць диска попереднього валу були здвинуті на 20-30°. Буряк, проходячи по дисках попадає в бурякомийку, а в зазори між дисками проходять вода і дрібні домішки, які відводяться через жолоб 12. Для того щоб буряк не звалювалася з водовідділювача в сторони, встановлені борти 13. Тривалість перебування буряків на водовідділювачі 3 с.
Під час роботи дискових водовідділювачів необхідно слідкувати за його справністю. Кожухи на масляній ванні повинні бути ретельно встановлені. У ванні повинно бути достатньо масла. Не можна проводити регулювання, ремонт і змащення механізмів під час роботи.
Металева конструкція повинна бути заземлена.
.2 Особливості підбору конструкційних матеріалів
Для відділення від буряководяної суміші води використовуються дискові водовідділювачі. На водовідділювачах також відбувається відділення від буряка мілких домішок (соломи, гички, уламків і хвостиків буряків і т. п.) На багатьох заводах експлуатуються водовідділювачі, виконані у вигляді похилого металевого жолоба довжиною 1,5-2 м, дно якого представляє собою грати з металевих прутів або смугової сталі. Однак вода на таких пристроях повністю відокремитися не може, тому що при швидкості руху суміші близько 1,5 м/с час перебування суміші на водовідділювачах близько 1-1,5 с.
Водовідділювач складається з станини до якої закріплені підшипники в яких обертаються вісім квадратних валів, на які надіті фігурні гумові ступиці з дисками, що обертаються. Зміна частоти обертання досягається заміною шківа редуктора. Зірочки і ланцюги поміщені в масляну ванну для змащування. Обертання від редуктора передається четвертому (зліва на малюнку) валу, а від нього ланцюговою передачею - до решти валів. Привід встановлений на рамі. Масляна ванна закрита кришкою, а клинопасова передача - кожухом. Фігурний диск, виконаний з гуми.
Буряк з водою подається на валки які обертаються і проштовхують буряк вперед а вода проходить між дисками і відводиться в колектор. Корпус підлягає інтенсивному абразивного впливу за рахунок тертя буряків та корозійному впливу від води.
Для виготовлення частин водовідділювача використовуємо такі матеріали:
корпус, огородження, захисні кожухи - Ст.3сп ГОСТ 16523-70;
вали водовідділювача - Сталь 45 ГОСТ 1050-88;
гумові валки - Гума ТМКЩ ГОСТ 7338-90;
рама із стального прокату - Ст.3сп2 ГОСТ535-88;
трубопроводи води - Ст.3кп ГОСТ 380-94;
.3 Технологічний процес складання обладнання
Технологічний процес складання обладнання повинен відповідати вимогам стандартів і технічним умовам. Технологічний процес складання полягає в поєднанні деталей у вузол, а вузли в машину. Всі роботи поділяються на окремі послідовні операції, переходи, прийоми.
Технологічний процес складання машин складається з наступних основних етапів:
підготовки деталей для складання;
складання вузлів, комплектів;
загального складання машини;
випробування машини і здачі її відділу технічного контролю;
маркування, комплектування, упаковка та відправка замовнику.
У процесі виконання складальних робіт здійснюється також фарбування для захисту деталей від корозії, та гарного естетичного вигляду.
Підготовка деталей для складання повинна включати наступні основні роботи:
очистку деталей від бруду, видалення задирок і забоїн;
гідравлічні випробування деталей та вузлів і виправлення виявлених дефектів;
очистку і забарвлення внутрішніх частин масляних ванн.
Перед початком складання обладнання необхідно перевірити комплектність поставки у відповідності з специфікаціями. При тривалому зберіганні обладнання на складах всі законсервовані деталі і складанні одиниці обладнання підлягають контрольному огляду, ревізії і розконсервації в терміни, передбачені технічними умовами на виготовлення, комплектування і поставку обладнання.
Під час ревізії запірно-регулюючої арматури слід впевнитись в наявності маховичка, болтів, гайок. Відсутності тріщин і раковин у корпусі, глибоких рисок на ущільнених поверхнях запірного органа і фланців, погнутості шпинделя.
Виявлені під час збирання обладнання і запірно-регулюючої арматури незначні дефекти усуваються. Потім повторно перевіряють на легкість відкривання і закривання запірні пристрої арматури. Трубопровідну арматуру після ремонту випробовують на міцність і щільність. Корпус арматури випробовують на міцність пробним тиском по ГОСТ 356-80.
При виконанні зварювальних робіт вказуються методи зварювання та типи зварних швів.
Складання водовідділювача починають з рами, на якій встановлюють вали в підшипникових вузлах. Підшипникові вузли до рами кріпляться болтами. На хвостовиках валів закріплюють зірочки, надягають ланцюги передачі, заповнюють масляну ванну рідким мастилом. Встановлюють привід, який складається із електродвигуна, клинопасової передачі, редуктора та з’єднувальної муфти. Встановлюють огородження на всі обертові частини. Перевіряють напрям обертання валів, вали повинні обертатися по ходу руху буряководяної суміші.
По закінченню складання проводяться випробування обладнання, в яке обов’язково включають пробний пуск на неробочому ході для перевірки правильності напрямку обертання рухомих частин, а також перевірку зварних швів.
При виявлення в процесі складання
обладнання дефектів, які допущені при проведенні робіт, випробування потрібно
повторити після їх усунення.
3. ЕКСПЛУАТАЦІЙНО-РЕМОНТНА ЧАСТИНА
.1 Правила експлуатації та обслуговування обладнання
Дискові водовідділювачі призначені для відділення від буряка транспортерних і мийних вод, бурякових хвостиків, бадилля і дрібних домішок. Дискові водовідділювачі встановлюють перед і після бурякомийки.
Підготовка дискових водовідділювачів.
. Рама водовідділювача перед бурякомийкою повинна мати регульований підйом хвостовій частині на висоту 150 - 300 мм (залежно від обсягу надходить буряководяної суміші). Підйом здійснюють гвинтами або підкладками.
. Горизонтальний лоток гідравлічного транспортера над дисковим водовідділювачами закінчується на рівні осьової лінії першого валу.
. Бічні стінки водовідділювача повинні мати висоту, яка виключає розбризкування води і потрапляння коренеплодів в зазори між ними і дисками.
. Для подовження терміну служби ланцюгів і зірочок дискового водовідділювача рекомендується обладнати його закритим масляним картером з горизонтальним роз'ємом.
. Для більш повного відділення води і домішок водовідділювач до бурякомийки повинен мати дванадцять валків, а після бурякомийки - шість або вісім валків. Частота обертання валків 80-105 об./хв.
. При складанні дискового водовідділювача необхідно підтримувати однакові зазори між дисками: бічні - 6 мм, торцеві - 7 мм.
. Над водовідділювачами перед бурякомийками рекомендується для попереднього відмивання буряка встановити два соплоаппарата, що формують поперечно потоку буряків плоскі струменя освітленої води під тиском 1,0 МПа і спрямовані на 5-й і 9-й валки під кутом відповідно 75 і 90°. На соплоаппарати водовідділювача перед бурякомийкою подають освітлену транспортерно-мийну воду в кількості 50% до маси буряка, а на соплоаппарат після бурякомийки - чисту воду в кількості 30% до маси буряка.
. Після третього від кінця валка дискового водовідділювача, встановленого після бурякомийки, рекомендується змонтувати два ряди бризгалок (у двох трубах діаметром 50 мм розташовані отвори діаметром 3 - 4 мм, з кроком 20-25 мм) для обприскування буряка 1-процентним розчином хлорованої води.