Материал: Разработка конструкции электрофлотатора

Внимание! Если размещение файла нарушает Ваши авторские права, то обязательно сообщите нам

         обеспечение максимально надежного контакта двух или трех фаз исходного твердого или жидкого вещества, исходного газообразного вещества и электрода;

         обеспечение максимально высокой производительности электролизера, т. е. максимального количества продукта, получаемого с единицы площади, занимаемой электролизером;

         стабильность характеристик электрода в течение длительного периода его эксплуатации;

         надежный подвод тока, обеспечивающий равномерность его распределения по поверхности электрода;

         свободный отвод жидких и газообразных продуктов электролиза.

Конструкция электрода во многом определяется способом его включения в электрическую цепь. При монополярном включении электродов все катоды присоединены к отрицательной, а все аноды к положительной шинам источника постоянного тока. В этом случае обе стороны электрода поляризованы либо катодно, либо анодно. Общее напряжение на таком электролизе­ре равно напряжению между одной парой электродов, а общая сила тока равняется силе тока, проходящей через пару электродов, умноженной на число таких пар в электролизере.

При биполярном включении электродов постоянный ток подводится лишь к крайним электродам, которые являются монополярными.

Остальные электроды, расположенные между крайними электродами, являются биполярными. Одна сторона таких электродов поляризована анодно, а другая катодно. В этом случае общее напряжение на электролизере равняется произведению напряжения между одной парой электродов и общим количеством пар, а общая сила тока, равняется си­ле тока, проходящей через пару электродов.

Плоские электроды выпускаются в виде плит или металлических листов (рис. 3.1.). В некоторых случаях плоские электроды изготовляются из отдельных элементов, например, стержней. Для облегчения отвода газообразных продуктов электролиза электродные листы или плиты перфорируются . Перфорация может быть различной формы.

Рис .3.1. Конструкция плоских электродов:

а - из круглых стержней,

б - из четырехугольных стержней,

в - из листа с просечной перфорацией,

г - из листа с перфорацией круглыми отверстиями.

Отверстия и просечки в перфорированных электродных листах и плитах могут быть круглыми, квадратными, щелевиднымн и т.д.

С целью повышения производительности электролизеров прибегают к развитию поверхности электродов. Одни из приемов развития поверхностных катодов представлен на рис. 3.2. Катод, изготовленный из плетеной сетки, натянут на металлический каркас и образует сложную рельефную поверхность в виде гребенки, между зубьями которой помешают аноды.

Рис .3.2. Конструкция гребенчатых катодов:

а - двухрядная,

б - двухрядная со сдвинутыми пальцами,

в - четырехрядная,

г - однорядная.

В последнее время уделяется большое внимание повышению эффективности процесса электролиза за счет увеличения электродных плотностей тока. В процессах, скорость которых контролируется доставкой вещества к поверхности электрода, существенное значение имеет перемешивание Сточной воды, подвергаемой электролизу. Известны различные способы создания в электролизере турбулентного режима, обеспечивающего высокую скорость подачи сточной воды и удаления продуктов электролиза с поверхности электрода.

Уменьшение диффузионных ограничений скорости электрохимической реакции дает возможность повысить электродную плотность тока, а следовательно, и производительность электролизера.

Можно выделить два пути интенсификации процесса электролиза за счет перемешивания сточной воды: создание электролизеров с вращающимися электродами и проведение процесса при интенсивной прокачке сточной воды через электролизер. [5]

.3 Разработка конструкции электрофлотатора

сточный очистка электрофлотатор

Прототипом электрофлотационной очистки был выбран патент номер RU 02122525 Cl, «способ очистки сточных вод от цветных и тяжелых металлов». Патентообладателем является Российский химико-технологический университет им. Д.И.Менделеева, разработали технологии и образцы оборудования на основе электрохимических методов, которые являются высокоэффективными и экологически безопасными и позволяют решать не только экологические задачи, но и организовать водооборот, извлекать ценные компоненты.

Перспективность использования электрофлотации для водообработки связанна с образованием при электролизе раствора высокодисперсных пузырьков газа (водорода и кислорода), равномерно распределяемых в объеме обрабатываемой жидкости. Газовые пузырьки, поднимаясь вверх, сталкиваются с частицами загрязнений и флотируют их на поверхность жидкости, образуя устойчивый пенный слой - флотошлам.

Высокая степень дисперсности пузырьков, сопоставимая с размером извлекаемых частиц загрязнений; возможность одновременного извлечения загрязнений, имеющих различный фазово-дисперсный состав; высокая скорость процесса очистки; возможность плавного регулирования скорости процесса путем изменения степени насыщения жидкости пузырьками газа - все это придает электрофлотационному методу значительные преимущества по сравнению с отстойными и флотационными системами.

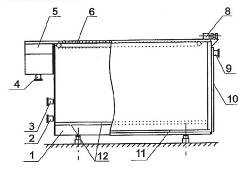
Для глубокой очистки сточных вод от ионов тяжелых металлов с исходной концентрацией до 100 мг/л в диапазоне значений pH 6,0 - 10,5 и предназначен электрофлотатор который работает следующим образом.


Сточную воду через патрубок 2 подают в нижнюю часть камеры предварительной очистки 1. Оттуда вода переливается через вертикальную перегородку 7 в камеру доочистки 11. В результате электролиза воды в камерах предварительной очистки и доочистки на поверхности электродов 12 идет выделение газовых пузырьков (водорода и кислорода), которые, поднимаясь вверх, взаимодействуют с частицами загрязнений и выносят их на поверхность воды, образуя флотошлам. В камере доочистки обеспечивается нисходящее движение жидкости с отводом ее через отверстия в нижней части в водосборник 10. При этом наблюдается дополнительный эффект очистки, связанный с фильтрацией воды через плотный слой электролитических пузырьков. Очищенная вода через патрубок 9 вытекает из аппарата. Мотор-редуктор 8 обеспечивает движение скребкового механизма 6, который сдвигает флотошлам с поверхности жидкости в камеру 5. Удаление флотошлама из установки происходит через патрубок 4.

С целью повышения степени очистки и снижения содержания солей жесткости в очищаемую воду вводят раствор щелочного реагента, содержащий фосфат-ионы, что приводит к образованию нерастворимых соединений гидроскифосфатов металлов, растворимость которых меньше, чем растворимость соответствующих гидроксидов металлов. Ввод рабочего раствора реагента осуществляется непосредственно в электрофлотатор через патрубок 3. Фосфатированием достигается также большая стабилизация воды, снижение ее коррозионного действия на металлические трубопроводы. Глубокая очистка позволяет в некоторых случаях не прибегать к ионообменному умягчению.

Применение электрофлотатора позволяет снизить жесткость воды до 0,05 - 0,1 мг-экв/л, содержание тяжелых металлов до 0,05-0,1 мг/л. Очищенная вода может использоваться для охлаждения оборудования и в системах оборотного водоснабжения.

Оптимальные параметры очистки: анодная плотность тока в камере предварительной очистки - 1 А/дм2, доочистки - 0,5 А/дм2; напряжение - 8 - 10 и 6 - 8 В. Удельные энергозатраты составляют 0,2 - 0,5 кВт∙ч/м3. Габаритные размеры 2100х1115х1500 мм.

Флотошлам - пенный продукт, удаляемый с поверхности электрохимических установок в зависимости от состава сточных вод, - представляет собой индивидуальные гидроксиды металлов или их смесь. Также в состав флотошлама входят карбонаты, фосфаты, сульфиды и органические примеси.

В отличие от осадков влажностью 99,9%, образующихся в отстойниках, флотошлам менее влажный (92-95%) и обладает хорошими фильтрующими свойствами; его удельное сопротивление фильтрованию составляет (8 - 190)∙10-11 см/г, фильтруемость (масса твердой фазы, составляющей на фильтровальной перегородке при получении единицы объема фильтрата) в 4 - 5 раз выше, чем у осадков отстойника, и составляет 4,6 - 4,8 кг/(м3∙ч).

Для механического обезвоживания флотошлама применяют фильтр-прессы, вакуум-фильтры и другое оборудование.

После обезвоживания содержания твердой фазы в шламе увеличивается до 25 - 30%.

Дальнейшее размещение обезвоженного шлама осуществляется захоронением на специально организованных полигонах.

Электрохимическое оборудование может быть обвязано в технологической схеме и смонтировано стационарно или в виде мобильного комплекса, когда установка, насос, источник тока и пульт управления процессом монтируются на передвижной платформе. Так, для очистки сточных вод и регенерации технологических растворов совместно с компанией Trionetic Inc разработана конструкция передвижной мобильной установки производительностью 10 м3/ч. Процесс очистки полностью автоматизирован. Система автоматизации предусматривает автоматическое измерение, регулирование и сигнализацию основных параметров технологического процесса: значения pH, расхода и уровней жидкости, степени очистки, значений тока и напряжения.