Материал: Расчет оборудования компрессорного цеха

Внимание! Если размещение файла нарушает Ваши авторские права, то обязательно сообщите нам

(17)

где- номинальная мощность ГТУ,  = 10000 кВт;

- коэффициент, учитывающий техническое состояние ГТУ, = =0,95;

- коэффициент, учитывающий влияние температуры - наружного воздуха; = 3,7;

 - коэффициент, учитывающий противообледелительной системы, = 1;

- коэффициент, учитывающий влияние системы утилизации тепла выхлопных газов, = 0,985;

 - номинальная температура на входе в ГТУ, К; = 288 К;

 - расчётная температура на входе в ГТУ, К;

К;(18)

где- среднегодовая температура окружающего воздуха, К; = =273,35 К;

- поправка на изменчивость климатических параметров и местный подогрев наружного воздуха на входе в ГТУ, К, = 5 К;

 - расчётное давление наружного воздуха, МПа,  = 0,0987 МПа.

Подставив данные в формулу (17), получаем:

кВт;

Исходя из расчетов, видно, что условие (16) выполняется:

Давление на выходе нагнетателя рассчитывается по формуле:

МПа;

Температура газа на выходе из ЦБН:

К.

Далее рассчитаем расход топливного газа на КЦ по следующей формуле:


где- номинальный расход топливного газа,  = 20,31 м3/ч.

2. Расчет группы неполнонапорных нагнетателей 280-12-7 первой ступени

.1 Нагнетатель типа 280-12-7

Центробежный нагнетатель Н-280-12-7 предназначен для сжатия природного газа, транспортируемого по магистральным газопроводам при температуре газа до минус 15 (С и воздуха до минус 50С). Привод нагнетателя осуществляется от газотурбинной установки мощностью 10 МВт.

Работа нагнетателя допускается по следующим схемам:

- один нагнетатель:

- два последовательно работающих нагнетателя:

- три последовательно работающих нагнетателя:

- параллельная работа одиночных нагнетателей, а также групп последовательно включённых нагнетателей.

Пуск нагнетателя производится под полным давлением компримируемого газа.

Направление вращения ротора нагнетателя - правое, т.е. по часовой стрелке, если смотреть со стороны привода.

Сорт масла: масло турбинное марки Тп-22 ГОСТ 9972-74

Масса нагнетателя в объёме поставки 25,0т, в том числе масса блока собственно нагнетателя 20,6 т., и масса блока защитных устройств 0,8 т.

Масса наиболее тяжёлой части нагнетателя;

для монтажа (блок собственно нагнетателя) - 20,6 тн

для эксплуатации (всасывающая камера) - 5,5т.

Нагнетатель с аккумулятором масла и маслопроводом образуют единый транспортный и монтажный блок. Нагнетатель выполнен в виде одноступенчатой центробежной машины с консольно-расположенным рабочим колесом и с тангенциальным подводом и отводом газа.

Вся ходовая часть нагнетателя, включающая в себя ротор, подшипники, торцевое уплотнение заключена в специальную гильзу, устанавливаемую в корпусе. Такая конструкция нагнетателя позволяет при необходимости производить быстрый его ремонт за счёт установки новой гильзы.

Нагнетатель устанавливается непосредственно на железобетонном фундаменте на клиновых прокладках без промежуточной фундаментной рамы вне помещения привода и отделяется от последнего герметичной перегородкой.

2.2 Расчет группы


Задаёмся частотой вращения ротора нагнетателя в зависимости от номинальной частоты вращения пн в диапазоне . Из характеристики нагнетателя находим, что п = 4600 об/мин. Задаёмся п = =0,7пн. Следовательно, п = 3220 об/мин.

Приведенная объёмная производительность определяется по формуле:

м3/мин(22)

где - объемная производительность нагнетателя, = =128,23 м3/мин, [2];

Приведенная частота вращения ротора нагнетателя находится по формуле:

;(23)

Где n - выбранная частота вращения ротора нагнетателя, об/мин;

 - параметры газа из характеристики, составленной для данного нагнетателя, [2];

 - параметры газа.

Степень сжатия нагнетателя находим из характеристики для данного нагнетателя по Qnp и [п/пн]пр. Из графика находим, что е= 1,185, [2].

Приведенную относительную внутреннюю мощность нагнетателя и политропический КПД находим из характеристики нагнетателя относительную приведенную внутреннюю мощность нагнетателя в зависимости от Qпр , кВт/кг×м3:

= 215 кВт/кг×м3, [2]; Политропический КПД hпол = 0,82, [2].

Внутренняя мощность, потребляемая нагнетателем, находится по формуле:

кВт;(24)

где- приведенная относительная внутренняя мощность нагнетателя  - плотность газа в нагнетателе,  = 48,4 м3/кг.

Отсюда находим мощность потребляемую нагнетателем:

кВт;(25)

где - механический КПД нагнетателя 280-12-7;  = 0,99, [2].

Удалённость режима работы нагнетателя от границы определяется по следующему условию:

,(26)

где - минимальное значение приведенной объёмной производительности, взятое из характеристики, = 300 м3/мин, [2];

.

Условие выполняется, следовательно, помпажа не возникнет.

Необходимо выполнить расчёт располагаемой мощности, исходя из приведенных ниже условий:

;(27)

где - располагаемая мощность ГТУ, кВт; она находится по формуле:

,(28)

где- номинальная мощность ГТУ,  = 10000 кВт;

- коэффициент, учитывающий техническое состояние ГТУ, = =0,95; - коэффициент, учитывающий влияние температуры - наружного воздуха; = 3,7;

 - коэффициент, учитывающий противообледелительной системы, = 0,9;

- коэффициент, учитывающий влияние системы утилизации тепла выхлопных газов, = 0,987;

 - номинальная температура на входе в ГТУ, К; = 288 К;

 - расчётная температура на входе в ГТУ, К;

К;(29)

где- среднегодовая температура окружающего воздуха, К; = =273,35 К; - поправка на изменчивость климатических параметров и местный подогрев наружного воздуха на входе в ГТУ, К, = 5 К;

 - расчётное давление наружного воздуха, МПа,  = 0,0987 МПа.

Подставив данные в формулу (17), получаем:

кВт;

 Давление на выходе нагнетателя рассчитывается по формуле:

МПа;

где- давление всасывания,  = 5,28 МПа, [2];

 - степень сжатия нагнетателя,  = 1,185, [2].

Температура газа на выходе из ЦБН:

К.

Далее рассчитаем расход топливного газа на КЦ по следующей формуле:

(33)

где- номинальный расход топливного газа,  = 20,31 м3/ч, [2];

Расчет второй ступени проводится аналогично.

2.3 Общий расход топливного газа


Общий расход топливного газа рассчитывается по формуле:

тыс м3/час;(34)

где- расход топливного газа 1-ой ступени,  = 10,93 тыс м3/час;

- расход топливного газа 2-ой ступени, = 20,31 тыс м3/час;

 - количество групп,  = 3.

3. Расчет вертикального масляного пылеуловителя

3.1 Вертикальный масляный пылеуловитель


Газ от пыли на КС очищают с помощью пылеуловителей (рис. 1), которые выпускаются трёх типов: центробежные циклонные, центробежные мультициклонные и жидкостные (вертикальные масляные).

 

Рис. 1. Блок пылеуловителей

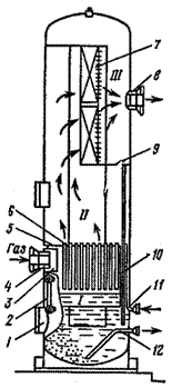
Вертикальные масляные пылеуловители (рис. 2) двух размеров - 1600 мм и 2400 мм. Промывочная жидкость: керосин, лигроин, соляровое масло. Температура застывания менее чем на 10°С ниже температуры газа. Очистка газа происходит за счёт уменьшения скорости потока и контакта его с маслом. Внутренняя полость пылеуловителя разделена на 3 секции: нижнюю промывочную, в которой все время поддерживается установленный уровень масла; среднюю осадительную, где газ освобождается от взвешенных частиц масла; верхнюю отбойную, в которой происходит окончательная очистка газа от уносимых частиц масла. Нижняя секция снабжена контактными трубками, которые имеют внизу продольные прорези-щели для создания завихрения потока. В верхней отбойной секции имеется скрубберная насадка (отбойная сетка) состоящая из швеллерных или жалюзийных секций с волнообразными профилями.

Процесс очистки газа в пылеуловителе происходит следующим образом: поступающий в пылеуловитель через патрубок 10 газ ударяется о козырек 9 и соприкасается с поверхностью масла, после чего с большой скоростью устремляется по контактным трубам 4, захватывая с собой частицы масла. В осадительной камере Б (от перегородки 5 до перегородки 6) скорость потока газа резко снижается, в результате чего происходит осаждение механических частиц и частиц жидкости. Осаждённые частицы по дренажным трубкам 11 стекают в секцию аппарата А. После осадительной камеры Б газ, освобождённый от более крупных частиц, поступает в отбойную секцию 8, где происходит окончательная его очистка. Осевший на отбойной секции 8 шлам стекает по дренажным трубкам 11 в нижнюю камеру. Очищенный газ через выхлопной патрубок 7 поступает на редукцирование. Загрязнённое масло удаляется продувкой через трубу 1 в отстойник масла. Полная очистка происходит через люк 12. Чистое масло подаётся через трубу 2. Для нормальной работы пылеуловителя уровень масла должен поддерживаться на 25-50 мм ниже концов контактных трубок. Установка масляных пылеуловителей включает в себя: масляные пылеуловители, отстойники масла, аккумулятор масла, короб для сбора грязного масла, ёмкость для чистого масла и насос. Объём масла для заполнения одного пылеуловителя составляет 2,65 м3 при диаметре 1600 мм. Расход масла допускается 25 г на 1000 м3газа. В настоящее время наибольшее распространение получили циклонные сепараторы

Рис. 2. Масляный пылеуловитель 1,2- труба; 3 - уровнемер масла; 4 - контактные трубы; 5, 6 - перегородки; 7 - выхлопной патрубок; 8 - отбойная секция; 9 - козырек; 10 - патрубок; 11 - дренажная трубка; 12 - люк.