Материал: Протоколы сети доступа - Гольдштейн

Внимание! Если размещение файла нарушает Ваши авторские права, то обязательно сообщите нам

140

Глава 5_____________________

_____________

Для предоставления конкретной дополнительной услуги может быть использована как ассоциированная с базовым соединением процедура передачи сигнальной информации QSIG-GF (пользователь имеет возможность запросить дополнительную услугу на том или ином этапе базового соединения), так и независимая от базового соединения процедура.

Возможны два варианта организации управления дополнительными услугами: сигнальная информация переносится либо информационным элементом facility в сообщениях управления базовым соединением, либо, если в данный момент такие сообщения использовать невозможно, специальным сообщением FACILITY QS1G-GF.

На уровне приложений модели OSI функционирует протокол управления дополнительными услугами, который использует сервисные элементы удаленных операций (ROSE — Remote Operation Service Elements), сервисные элементы ассоциированного управления (ACSE — Association Control Service Elements) и сервисные элементы диалога (DSE

— Dialogue Service Elements), координируемые специальными функциями

(coordination function). Читатель, вероятно, помнит, что о ROSE и ACSE уже шла речь при описании ТСАР (глава 10 тома 1) и DSS-1 (глава 4 тома 2). В настоящее время ROSE определен в рекомендации ITU-T X.219, а ACSE — в рекомендации Х.217. Что касается DSE, то сервисные элементы диалога определяются в стандартах QSIG-GF.

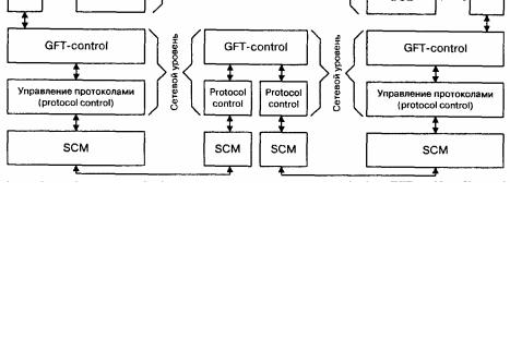
Продолжая аналогию с ОКС-7, отметим традиционную для протоколов пакетной передачи информации поддержку двух видов связи: с установлением соединения (и, как правило, с управлением последовательностью сообщений и подтверждений) и без установления соединения. Реализация этих функций на уровне 3 QSIG-GF возложена на управляющий функциональный блок GFT-Control (рис.5.3). В отличие от DSS-1 протокол QSIG-GF поддерживает как ориентированный на соединение, так и не ориентированный на соединение механизм переноса информации для независящих от базовой связи дополнительных услуг и дополнительных сетевых услуг (ANF). QSIG не допускает наличия двух независимых подсистем для обслуживания базового соединения, в то время как в ОКС-7 для этих целей могут существовать и TUP, и ISUP.

На рис. 5.3 представлены следующие основные компоненты архитектуры QSIG:

______Протокол QSIG

i4l

 

 

 

 

 

 

Рис. 5.3. Транзитное соединение (QSIG-GF)

SCM включает в себя функции уровня 2 и управления уровнем 1. Так как физический уровень протокола QSIG постоянно активизирован, то в части управления этим уровнем функции SCM сводятся к контролю работоспособности и обработке аварийных ситуаций. Процедуры уровня 2 традиционно опираются на протокол HDLC. Их можно считать полностью адекватными аналогичным процедурам уровня звена в интерфейсе «пользователь—сеть» первичного доступа ISDN (рекомендации ITU-T Q.920/Q.921).

Управление протоколом (protocol control) полностью опирается на рекомендацию Q.931 в части кодировки сообщений и содержит некоторые расширения, связанные, в основном, с возможностью обслуживания нескольких физических первичных трактов одним звеном сигнализации (например, расширенное поле метки соединения, расширенное поле идентификации канала). Имеются также расширения в части контроля последовательности сообщений, связанные с симметричностью конфигурации интерфейса и с возможностями транзита. Управление коммутируемыми соединениями также базируется на рекомендации Q.931, однако содержит расширения, связанные с симметрией интерфейса, возможностью межсетевого взаимодействия и возможностями транзита.

142

Глава 5

__

_____________

Так, процедуры Q.931 применимы для интерфейса базового доступа «пользователь—сеть» как в конфигурации «точка—точка», так и в многоточечной конфигурации с использованием вещательного режима, а для интерфейса первичного доступа — только в конфигурации «точка—точка». Процедуры ориентированы на ограниченное число идентифицируемых каналов В в базовом доступе, а также на строго определенное расположение каналов В и D в физической структуре интерфейса на первичной скорости. QSIG же позволяет поддерживать несколько физических первичных трактов с помощью одного звена сигнализации, причем исключительно в режиме «точка—точка». При этом общее число обслуживаемых каналов В не ограничивается, а нумерация их производится непрерывно от 1 до N.

Принимая во внимание вышеизложенные различия, степень совпадения QSIG-BC и DSS-1 (включая SCM и функции уровня 2, соответственно) приблизительно можно оценить в 95% (вспомним еще раз эпиграф к данной главе).

Взаимодействие составляющих QSIG-GF можно наглядно проследить на примере транзитного соединения, показанного на рис. 5.3. Как видно из рисунка, в QSIG-GF функции управления транзитом осуществляет GFTControl, аналогично тому, как в QSIG-BC это делает процедура управления базовым соединением. Прикладной уровень с сетевой точки зрения является прозрачным для двух оконечных УАТС, участвующих в предоставлении услуги. GFT-Control и DSE функционально соответствуют спецификациям DSS-1, описанным в Q.932. Однако в данном случае различий значительно больше. Во-первых, несколько различаются требования к функциям и процедурам управления протоколом (protocol control) в части включения информационного элемента facility в сообщения управления базовым соединением. Во-вторых, процедуры DSE и GFT-Control имеют отличия от процедур Q.932, связанные с транзитом и с возможностью межсетевого взаимодействия. В-третьих, имеются различия в кодировке для некоторых дополнительных услуг. Ситуация усугубляется несовпадением перечней иoпиcaнийдoпoлнитeльныxycлyгQSIG и DSS-1.

Во всей этой главе QSIG рассматривался в сравнении с DSS-1, что было сделано, в основном, в целях сокращения объема книги, хотя проведенное сравнение имеет и самостоятельный смысл. Однако для предоставления читателю более или менее полезных спецификаций уровня 3 протокола QSIG целесообразно рассмотреть информационные элементы, входящие в состав сигнальных сообщений, и типы этих сообщений.

www.kiev-security.org.ua BEST rus DOC FOR FULL SECURITY

____ Протокол QSIG

143

В сообщениях уровня 3 протокола QSIG используются следующие информационные элементы (ср. с параграфом 4.3):

Дискриминатор протокола (protocol discriminator). Данный информационный элемент используется для того, чтобы отличить сообщения, связанные с процедурами управления соединениями, от других блоков данных, также использующих услуги уровня 2. Кодирование и использование данного информационного элемента осуществляется в соответствии с п. 12.2 стандарта ETS 300 172.

Метка соединения (call reference). Данный информационный элемент используется для идентификации того соединения (или запроса услуги/отказа от услуги), к которому относится содержащее этот элемент сообщение. Кодирование и использование данного информационного элемента осуществляется в соответствии с п. 12.3 стандарта ETS 300 172. В состав элемента входит «флажок», который имеет значение «О» в сообщениях стороны, назначившей метку, и значение «I» в сообщениях встречной стороны. Значение метки соединения всегда занимает два байта, что отличает QSIG от DSS-1, в котором метка соединения имеет длину один байт для базового доступа и 1 или 2 (по умолчанию) байта для доступа на первичной скорости. Значение метки соединения устанавливается вызывающей стороной на время связи. Глобальная метка имеет значение «О». Оборудование, которое принимает сообщение с глобальной меткой, интерпретирует его как сообщение, относящееся ко всем соединениям, метки которых связаны с соответствующим соединением уровня 2.

Тип сообщения (message type). Данный информационный элемент служит для идентификации имени и, следовательно, назначения передаваемого сообщения. Кодирование и использование этого информационного элемента осуществляется в соответствии с п. 12.4

стандарта ETS 300 172.

Информационные элементы, приведенные в табл. 5.1, относятся к кодовой таблице подмножества кодов 0 и во многом схожи с аналогичными информационными элементами протокола DSS-1. Интересно отметить, что хотя кодировки и принципы формирования сообщений в DSS-1 и QSIG практически одни и те же, существуют некоторые различия, часть из которых тесно связана с применением протокола QSIG именно как межстанционного. Важным является то, что QSIG всегда использует двухбайтовую метку соединения. Характерно также, что QSIG допускает присутствие информационного элемента Progress-indicator только в сообщениях ALERTING, PROGRESS M^CONNECTLJOmaJaK DSS-1 – еще и

в

144 Глава 5_______________________________________

сообщениях DISCONNECT и SETUP ACKNOWLEDGE. Это различие обусловлено отсутствием необходимости передавать по разговорным каналам межстанционных соединительных линий корпоративной сети ISDN акустические сигналы «Занято» или «Ответ станции».

Кроме того, в QSIG используются два информационных элемента, которые отсутствуют в протоколе DSS-1, но содержатся в альтернативной кодовой таблице подмножества кодов 5:

Таблица 5.1. Перечень информационных элементов QSIG

Информационный элемент

Ссылки на пункты стандарта

 

ETS 300 172

 

 

Информационные элементы длиной 1 байт

 

 

 

Shift

12.5.3

 

 

Sending complete

12.5.20

 

 

Информационные элементы переменной длины

 

 

 

Segmented message

12.5.19

 

 

Bearer capability

12.5.5

 

 

Cause

12.5.11

 

 

Call state

12.5.6

 

 

Channel identification

12.5.12

 

 

Progress indicator

12.5.17

 

 

Connected number

12.5.13

 

 

Connected subaddress

12.5.14

 

 

Calling party number

12.5.9

 

 

Calling party subaddress

12.5.10

 

 

Called party number

12.5.7

 

 

Called party subaddress

12.5.8

 

 

Restart indicator

12.5.18

 

 

Low layer compatibility

12.5.16

 

 

High layer compatibility

12.5.15

 

 

Счетчик транзитов (Transit counter). Данный информационный элемент используется для того, чтобы ограничить число транзитных УАТС в соединении. Значение этого элемента увеличивается на 1 в каждой УАТС. Максимально допустимое значение зависит от конкретной сети и может находиться в диапазоне от 0 до 31. Инфор-