Материал: Проблемы очистки сточных вод и новые решения бурения на суше и на море

Внимание! Если размещение файла нарушает Ваши авторские права, то обязательно сообщите нам

Разновидностью гиперфильтрации является метод отделения воды из растворов высокомолекулярных соединений [12].

Более экономичным методом является химическая доочистка, реализуемая с помощью ионообменных смол [10]. С помощью ионитов успешно решаются вопросы как частичной деминерализации, так и глубокой очистки вод различного происхождения. Иониты представляют собой практически нерастворимые в воде полимерные вещества, имеющие подвижный ион (катион или анион), способный в определенных условиях вступать в реакцию обмена с ионами того же знака, находящимися в растворе.

Технологические схемы очистки буровых сточных вод.

Рис. 1.7 Принципиальная технологическая схема сбора, очистки и повторного использования буровых сточных вод.

Технологическая схема сбора , очистки и повторного использования буровых сточных вод.

БСВ по коммуникациям 1, установленным под настилом платформ или приэстакадных площадок, направляются в специальный блок сбора БСВ 2, откуда песковым насосом подаются в блок очистки 4, где при помощи гидроциклонов отделившаяся твердая фаза сбрасывается в контейнер или специальный блок 5. Очищенная БСВ поступает в блок доочистки и хранения 6, где посредством фильтров тонкой очистки отделяется от илистых частиц и с помощью аппарата электрокоагуляции очищается от нефтяной плёнки. Насосом 7 полностью очищенная сточная вода подаётся в общую систему водоснабжения буровой установки. Вода, нефть, масло в сточной воде отделяются в блоке доочистки и хранения 6 и сливаются в приёмную ёмкость буровых насосов 8 и используются для обработки бурового раствора.

Комплексная установка, предназначенная для очистки сточных буровых вод методом коагуляции и напорной флотации.

В амбаре-усреднителе смешиваются БСВ и оседают крупные взвешенные частицы. Отстой насосом перекачивается в смеситель 1, в который дозаторным насосом подаётся 10%-ный раствор коагулянта - сернокислого алюминия. Одновременно в верхнюю часть смесителя самотёком поступает нейтрализатор - известковое молоко. После интенсивного перемешивания смесь поступает в водоворотную камеру 2, где коагулированные хлопья образуются, укрупняются и оседают. Более мелкие примеси всплывают и удаляются скребковым механизмом в карман для пены.

Рис. 1.8.Принципиальная технологическая схема буровых сточных вод на установке УКОС.

Из коагулятора предварительно очищенная вода поступает в двухкамерный флотатор 3, куда при помощи насосно-эжекторной обвязки 4 и напорного бака 5 подаётся воздушная смесь. Образовавшиеся при этом осадок и пену направляют в бак приёма осадка 6, откуда давлением воздуха они передавливаются в отстойник осадка 8, где осадок обезвоживается до 95%.

Отстой спускают в сборник 8 и используют для приготовления промывочной жидкости. Очищенная вода из кармана флотатора поступает в сборник 9 для повторного использования. Наличие в установке КИП и А позволяет эффективно контролировать процесс очистки БСВ.[14]

Система очистки буровых сточных вод

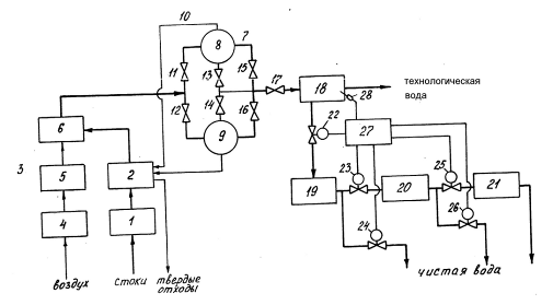
Система очистки буровых сточных вод, содержащая последовательно соединенные узел сбора сточных вод, блок отделения твердой фазы, блок очистки, блок сбора и обработки осадка, емкость для очищенной технологической воды, отличающаяся тем, что блок очистки состоит из сообщенных между собой блока воздухоподготовки, генератора озона и контактной камеры, соединенной с блоком отделения твердой фазы и блоком сбора и обработки осадка, выполненным в виде двух фильтров, имеющих систему промывки, соединенную с блоком отделения твердой фазы, кроме того, после емкости для очищенной технологической воды дополнительно установлены по меньшей мере три электродиализатора с электроуправляемыми задвижками, связанными через блок управления с датчиком степени засоленности, установленным в емкости для очищенной технологической воды.

Буровые сточные воды, образующиеся в ходе выполнения различных технологических операций, работы механизмов и устройств, собираются в узле 1 сбора сточных вод, затем направляются в блок 2 отделения твердой фазы, где твердые обезвоженные отходы выводятся, а фугат вода из блока 2 поступает в контактную камеру 6, где перемешивается с озоновоздушной смесью, подаваемой от генератора 5 озона, где идет процесс электросинтеза озона. В результате окисления примесей, содержащихся в фугате озоновоздушной смесью образуется хлопьевидный осадок, сорбирующий на своей поверхности окислы металлов, а непрореагировавший озон удаляется в верхней части камеры 6. Затем обработанный озоновоздушной смесью фугат поступает поочередно на один из фильтров 8 и 9 блока 7 сбора и обработки осадка, в процессе фильтрования происходит удаление из жидкости хлопьевидного осадка, образующийся внутри фильтра концентрат периодически смывается очищенной технологической водой. Например, открыта задвижка 11, задвижка 12 находится в закрытом положении, обработанная вода поступает на фильтр 8, отфильтровывается, задвижка 13 закрыта, задвижки 15, 17 открыты отфильтрованная вода поступает в емкость 18 для очищенной технологической воды, если задвижки 15, 17 закрыты, а открыты задвижки 13, 14, то отфильтрованная вода поступает на промывку фильтра 9, смывает образовавшийся там концентрат и поступает в блок 2 отделения твердой фазы. В режиме работы фильтра 9 открыты задвижки 12, 16, 17, а задвижки 11, 13, 14 закрыты вода поступает в емкость 18. Для промывки фильтра 8 при работе фильтра 9 открываются задвижки 12 14, а закрываются 11, 15, 16, 17.

Из емкости 18 для очищенной технологической воды вода поступает на технологические нужды: для приготовления бурового раствора, для потребления вспомогательными и подсобными производствами, на промывку производственных площадок и оборудования и так далее. Для дальнейшей очистки технологическая вода поступает в электродиализатор 19 и в зависимости от величины степени засоленности измеряемой датчиком 28, установленным в емкости 18, сигнал через блок 27 управления подается на электроуправляемые задвижки 23, 25 они открываются и вода поступает на электродиализаторы 20 и 21 для дальнейшего обессоливания.

Самый эффективный электродиализатор за один проход засоленной воды через него снижает степень засоленности воды примерно на 50 г/л, поэтому при фиксации датчиком 28 степени засоленности не более 50 г/л работает один электродиализатор 19 и открываются только задвижки 22 и 23. Если степень засоленности превышает 50 г/л, открываются задвижки 22,23, 26 и работают электродиализаторы 19, 20. При степени засоленности превышающей 100 г/л открываются задвижки 22,23,25 и работает три электродиализатора 19 21. На выходе получают воду (ГОСТ 2877-82 "Вода питьевая").[13]

Рис. 1.9 Схема системы очистки буровых сточных вод.

2. Расчётная часть

Исходные данные :

Предприятие, организация, учреждение : ОАО Неванефтепром

Выпуск сточных вод : 1

Наименование водного объекта, принимающего сточные воды : Нева

Категория водопользования (норматив качества воды) : Рыбохозяйственная (высшая категория)

Фактический расход сточных вод для установления ПДС (м.куб/час) : 21.96

Фактический расход сточных вод для установления ПДС (м.куб/сут) : 175.7

Фактический расход сточных вод для установления ПДС (тыс.м.куб/год): 64.12

Утвержденный расход сточных вод для установления ПДС (м.куб/час): 21.96

Утвержденный расход сточных вод для установления ПДС (м.куб/сут): 175.7

Утвержденный расход сточных вод для установления ПДС (тыс.м.куб/год):64.12

Характеристики выпуска :

Тип выпуска : Сосредоточенный

Расчетный расход сточных вод Qст(м.куб/с) : 0.00610

Скорость истечения сточных вод (м/с) : 2.00

Средний диаметр выпускного отверстия(м) : 0.200

Расстояние от места выпуска до берега(м) : 0

Расстояние выпускного отверстия до поверхности водного объекта(м) : 0

Расстояние от места выпуска до контрольного створа водопользования(м):500.0

Гидрологические характеристики участка водного объекта в месте сброса :

Водный объект, приемник сточных вод : Нева

Тип водного объекта : РЕКА

Средняя глубина на рассматриваемом участке Hcp(м) : 15.00

Расчетная скорость течения V(м/c) : 2.00

Расчетный расход воды Qр(м.куб/с) : 2500.0

Средняя ширина участка реки B(м) : 356.0

Коэффициент извилистости участка реки Fi(м) : 1.20

Коэфф. шероховатости ложа водного объекта : 0.0500

Уклон водной поверхности %. : 0.0300

Средний диаметр донных отложений D(мм) : 0.500

блица 2.1. Состав и качество сточных вод

№п/п

Показатели состава сточных вод

Единицы измерения

Значение

1

Взвешенные вещества

мг/дм3

235.1

2

Нефтепродукты

мг/дм3

0.0700

3

Железо общее

мг/дм3

7.82

4

Азот аммонийный

мг/дм3

15.40

5

СПАВ

мг/дм3

0.560

6

Хлориды

мг/дм3

235.0

7

Сухой остаток

мг/дм3

350.0

8

Сульфаты

мг/дм3

43.21

9

БПК полн.

мгО2/дм3

7.40

блица 2.2. Фоновые характеристики качества воды

№п/п

Контролируемые показатели

Единицы измерения

Значение

ПДК

1

Взвешенные вещества

мг/дм3

22.00

+0.250

2

Нефтепродукты

мг/дм3

0

0.0500

3

Железо общее

мг/дм3

4.25

0.100

4

Азот аммонийный

мг/дм3

1.20

0.390

5

СПАВ

мг/дм3

0.420

0.100

6

Хлориды

мг/дм3

230.0

300.0

7

Сухой остаток

мг/дм3

321.0

8

Сульфаты

мг/дм3

31.20

100.0

9

БПК полн.

мгО2/дм3

6.10

3.00


Нормативные требования, предъявляемые к расчету ПДС :

Расчет ПДС проводился применяя нормативные требования к составу и качеству сточных вод к самим сточным водам.

Расчет максимально-допустимой концентрации взвешенных веществ проводился c учетом кратности разбавления сточных вод.

РАСЧЕТ КРАТНОСТИ РАЗБАВЛЕНИЯ

Метод расчета кратности разбавления :

Расчет кратности разбавления сточных вод для водотоков проводился по детальному методу Караушева (ГГИ).

РЕЗУЛЬТАТЫ РАСЧЕТА КРАТНОСТИ РАЗБАВЛЕНИЯ:

РЕЗУЛЬТАТЫ КРАТНОСТИ РАЗБАВЛЕНИЯ ДЛЯ ВОТОКОВ МЕТОДОМ КАРАУШЕВА.

Расчет коэффициента турбулентной диффузии

Расчет коэффициента Шези "С"

При наличии данных о коэффициенте шероховатости ложа водного объекта "nш" для определения коэффициента Шези "С" используетcя формула Павловского, где y = 1/6; С = Power(Hcp,y)/nш = 31.41

При наличии данных об уклоне водной поверхности, где i - уклон водной поверхности (%.) Коэффициент Шези находится по формуле С = Vcp/sqrt(Hcp*i) = 94.28

При наличии данных о гранулометрическом составе донных отложений, применяется формула Штриклера-Маннинга : X = Hcp/Dэ = 30.00 y = 1/6 = 0.167 C = 33*Power(x,y) = 58.17, где dэ - эффективный диаметр донных отложений, определяемый по гранулометрической кривой.

Для водотоков и водоемов коэффициент турбулентной диффузии рассчитывается по формуле Караушева, Diff = g*Hcp*Vcp/M/C = 0.108 в которой Hср - средняя глубина на рассматриваемом участке, Vр - средняя скорость течения на рассматриваемом участке, C - коэффициент Шези, M - параметр, зависящий от C и равный M=0.7C+6 ,g - ускорение свободного падения.

По модели Караушева вся расчетная область потока делится плоскостями, параллельными координатным, на расчетные клетки.

Расчетный размер клетки по длине потока: Dx = Vcp*Dz*Dz/2.0/D = 1.1703 м.

где D - коэффициент турбулентной диффузии.

Расчетный размер клетки по ширине потока Dz = 0.356 м.

Количество расчетных клеток по ширине потока = 1000

Количество шагов расчета = 428

В результате расчетов, выполняемых от поперечника к поперечнику, получают поле концентраций на участке ниже места сброса загрязняющих веществ. Кратность основного разбавления определяется по формуле N1=1/Smax = 13.014

Кратность основного разбавления определяется по формуле N2=N0*N1 = 13.014

РЕЗУЛЬТАТЫ РАСЧЕТА ПДС

Таблица 2.3. ЛПВ : Нет

Наименование вещества

Ед. измерения

Sфакт

Sфон

Sнорм

Sфакт/ Sнорм

Sпдс/ Sнорм

Sпдс

ПДС (г/час)

ПДС (т/год)

Sкс

Взвешенные вещества

мг/дм3

235.1

22.00

+0.250

9.309600

1.0

25.25

554.5

1.62

22.25

БПК полн.

мгО2/ м3

7.40

6.10

3.00

2.466666

1.0

3.00

65.88

0.192

5.86


Расчетные установки для данной группы веществ:

Группа ЛПВ: Нет

Нормативные требования предъявляются: к самим сточным водам

Расчет кратности разбавления: выполняется

Расчет проводится: без учета ЛПВ

При выполнении расчета учитывается требование, если фактическая концентрация вещества больше расчетной, то за расчетную принимается фактическая концентрация.

Таблица 2.4. ЛПВ : Токсикологический

Наименование вещества

Ед. измер.

Sфакт

Sфон

Sнорм

Sфакт/ Sнорм

Sпдс/ Sнорм

Sпдс

ПДС (г/час)

ПДС (т/год)

Sкс

Железо общее

мг/дм3

7.82

4.25

0.100

78.19999

0.33333

0.033

0.731

0.00214

3.93

Азот аммонийный

мг/дм3

15.40

1.20

0.390

39.48717

0.33333

0.130

2.85

0.00834

1.12

Сульфаты

мг/дм3

43.21

31.20

100.0

0.432100

0.33333

33.33

731.9

2.14

31.36