Материал: Методы измерения температуры в нефтегазовом оборудовании. Булыгин Ю.А., Скуфинский А.И

Внимание! Если размещение файла нарушает Ваши авторские права, то обязательно сообщите нам

стойкостью, сохраняя хорошую коррозионную стойкость благодаря включению в сплав 3,4% Al, который образует на поверхности сплава тугоплавкую окисную пленку и препятствует развитию коррозионного процесса.

3.1.6.3 Необходимо отметить, что в России недостаточно производится термопар в защитных чехлах, предназначенных для специальных областей применения. Универсальные чехлы не могут решить проблему защиты термопар во многих агрессивных средах.

3.2 Термометры сопротивления, их типы и области применения

3.2.1Действие термопреобразователей сопротивления (ТС) основано на температурной зависимости сопротивлений. Указанным свойством обладает множество металлов, но лишь немногие из них удовлетворяют вторичным эксплуатационным требованиям, связанным со стабильностью свойств и нечувствительностью к внешним воздействиям по другим физическим параметрам (давление, плотность магнитного потока, потока нейтронов и т.п.

3.2.2ТС состоит из ЧЭ соответствующей конструкции, защитной арматуры и соединительных проводов (рисунок 3.).

Основные требования, которым должен удовлетворять материал чувствительного элемента ТС, следующие:

-нечувствительность к малым примесям, которые могут появиться в процессе изготовления или эксплуатации;

-простота технологии получения и изготовления.

Изменение сопротивления чувствительного элемента в виде падения напряжения или тока, передаваемых электрической линией связи непосредственно или при помощи измерительного преобразователя температуры (ИПТ), фиксируется показывающим прибором или регулятором (контроллером).

31

Способ включения ТС определяется схемой вторичного прибора и диапазоном измеряемой температуры. Номинальные функции преобразования (статические характеристики) ТС и их погрешность определяются [4].

Согласно [4], в России стандартизованы следующие типы термопреобразователей сопротивления (ТС):

-платиновые (ТСП) – с чувствительным элементом (ЧЭ) из платины;

-медные (ТСМ) – с ЧЭ из меди;

-никелевые (ТСН) – с ЧЭ из никеля. Характеристики указанных выше ТС представлены в

приложении И.

Следует отметить, что никелевые ТС не получили широкого распространения в России.

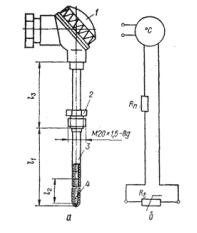
1 - головка

2 - штуцерная гайка

3 - арматура

4 - чувствительный элемент

Рисунок 3. ТС (а) и схема его включения (б)

32

Функция преобразования платинового ТС нелинейна и обычно аппроксимируется квадратичным трехчленом. Темпе-

ратурный коэффициент платины примерно равен = 3,91•10-3

K-1

3.2.3 Медные ТС

Функция преобразования медного ТС линейна:

Rt = R0 (1 + t),

где R0 — сопротивление при 0°С; = 4,28•10-3 K-1 - температурный коэффициент.

Чувствительный элемент медного ТС (рисунок 4,а) представляет собой пластмассовый цилиндр 1, на который бифилярно в несколько слоев намотана медная проволока 2 диаметром 0,1 мм. Сверху катушка покрыта глифталевым лаком. К концам обмотки припаиваются медные выводные провода 3 диаметром 1,0-1,5 мм. Провода изолированы между собой асбестовый шнуром или фарфоровыми

трубочками. Чувствительный элемент вставляется в тонкостенную металлическую гильзу 4. Гильза с выводными проводами помещается в защитный чехол (рис.4 ,б), который представляет собой закрытую с одного конца трубку 1. На открытом ее конце помещается клеммная головка 2. Для удобства монтажа защитный чехол может иметь фланец 3.

3.2.4 Обычная медь не дефицитна, дешева, чиста и гомогенна — вполне удовлетворяет всем требованиям, предъявляемым к материалу чувствительных элементов ТС для измерения умеренных температур. Существенный практический недостаток меди — при температуре выше 300°С она начинает активно окисляться. Поэтому медь применяется в чувствительных элементах ТС для измерения температур не выше 200°С. Изоляционные покрытия медных проводов — лак или шелк — также не выдерживают влияния высоких температур.

33

К числу недостатков меди следует отнести и ее малое удельное сопротивление ( = 1,7*10-8 Ом•м).

Рисунок 4. ЧЭ (а) и конструкция (б) медного ТС

ТКС определяется по сопротивлениям R0 и Rt чувствительного элемента медного ТС, измеренных соответственно при точке таяния льда и кипения воды. В диапазоне темпера-

34

тур от —50 до 200°С зависимость сопротивления меди от температуры носит линейный характер: Rt = R0 (1 + α t). Согласно ГОСТ 6651-94, медные ТС применяются для длительного измерения температуры в диапазоне от —200 до

200°С.

Медь применяется для измерения температур до 200оС, в применениях, не требующих особой точности.

Кдостоинствам медных ТС можно отнести:

-дешевый материал;

-простота получения тонкой проволоки;

-линейный характер зависимости сопротивления от температуры.

Недостатки медных ТС:

-окисляется при невысоких температурах;

-малое удельное сопротивление (ρ = 1,7*10 -8 Ом*м).

3.2.4Платиновые ТС

Для измерения температур до 630,74°С применяются платиновые ТС, ЧЭ которых изготовляются из платиновой проволоки диаметром от 0,05 до 0,2 мм, свободной от натяжений, бифилярно намотанной на каркас для устранения влияния магнитных помех.

В качестве изоляционного каркаса применяются слюдяные пластины, керамические стержни крестообразной формы сечения из кварца или окиси алюминия с канавками, в которых размещаются спирали. Слюда в естественном состоянии содержит связанную воду и адсорбированные газы. В процессе

35