Материал: Методы измерения температуры в нефтегазовом оборудовании. Булыгин Ю.А., Скуфинский А.И

Внимание! Если размещение файла нарушает Ваши авторские права, то обязательно сообщите нам

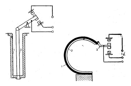
1 - трубка из металла с большим

1, 2 — полосы из металлов с разными ко-

коэффициентом температурного

эффициентами температурного линейного

расширения; 2 - стержень из ме-

расширения;

талла с малым коэффициентом

3—держатель подвижного контакта.

температурного расширения.

 

 

Рисунок Г.2 Схема устройства чувстви-

Рисунок Г.1 Схема устройства

тельного элемента биметаллического пре-

чувствительного элемента дила-

образователя температуры

тометрического преобразователя

 

температуры

 

56

Приложение Г (справочное)

Манометрические термометры

Принцип действия измерителей температуры, называемых манометрическими термометрами, основан на использовании однозначной зависимости между температурой и давлением термометрического вещества, находящегося в герметично замкнутой манометрической термосистеме. Манометрическая термосистема состоит из термобаллона, соединительной трубки (дистанционного капилляра) и упругого чувствительного элемента, которые совместно образуют герметический объем, занятый наполнителем — термометрическим (рабочим) веществом.

В зависимости от рода рабочего вещества и его агрегатного (фазового) состояния манометрические термометры подразделяют на три класса: газовые (Г), жидкостные (Ж) и конденсационные или парожидкостные (К).

Манометрические термометры выпускают в различных вариантах исполнения: в виде показывающих, самопишущих приборов без или со встроенными устройствами сигнализации или регулирования температуры. Общие требования, которым должны удовлетворять манометрические термометры, определены [8].

Схема конструктивного оформления показывающего манометрического термометра приведена на рисунке Д.1 Манометрическая термосистема термометра состоит из термобаллона 1, капилляра 2 и манометрической пружины 10. Температура термобаллона, погруженного в исследуемую среду, функционально преобразуется в давление рабочего вещества манометрической системы. Соединительный капилляр передает изменение давления на манометрическую пружину 10. Держатель 3 соединяет внутреннюю полость закрепленного конца пружины с капилляром. Свободный герметизированный конец пружины шарнирно связан поводком 5 с зубчатым сектором 4, который находится в зацеплении с трубкой 9. На оси трубки

57

насажена стрелка 8 — указатель. Зазор в передаточном механизме выбирается спиральной пружинкой.

Термобаллон имеет цилиндрическую форму; его диаметр и длина зависят от рода термометрического вещества и диапазона измеряемых температур. Термобаллон обычно выполняют из стали 1Х18Н9Т.

Манометрическая пружина имеет сечение овальной формы или в виде восьмерки в, г.

При изменении температуры термобаллона б изменяется давление внутри манометрической системы а, происходит деформация (раскрутка или закрутка) пружины. Свободное перемещение конца пружины с помощью передаточного механизма (звеньев 5—7) преобразуется во вращение стрелки 8 — указателя относительно отметок оцифрованной в градусах Цельсия шкалы. Вариация температуры среды, в которой находится пружина, т.е. отклонение температуры пружины от еѐ нормального значения 20°С, компенсируется с помощью термобиметаллического компенсатора 6.

В самопишущих манометрических термометрах (рисунок Д.2 ) давление в термосистеме, однозначно связанное с температурой термобаллона и передаваемое капилляром, преобразуется в деформацию спиральной пружины.

Один конец пружины закреплен в держателе 1, а свободный конец шарнирно связан посредством скобы 4, поводка 6, термобиметаллического компенсатора 5 с рычагом, который жестко соединен с поворотным рычагом 7. Перо для записи показаний расположено на конце рычага. Запись показаний производится на дисковой бумажной диаграмме, которая приводится во вращение (чаще со скоростью одного оборота в сутки) с помощью часового механизма или электрического синхронного микродвигателя 3. Имеются модификации манометрических термометров, записывающие показания от двух отдельных термосистем.

58

Более подробные сведения об устройстве, работе, монтаже и поверке манометрических термометров приведены в соответствующих технических инструкциях.

a—термосистема;

1

— держатель;

б — термобаллон;

2

— спиральная манометрическая пру-

в, г—профили сечения пружины; жина;

1—термобаллон;

3

— двигатель;

2

— капилляр;

4

— скоба;

3

— держатель;

5

— компенсатор;

4

— сектор;

6

— поводок;

5

— поводок;

7

— рычаг;

6

— компенсатор;

8

— ось рычага;

7

— спиральный волосок;

9

— термобаллон;

8

— указательная стрелка;

10 — капилляр.

9

— трубка;

 

 

10 — манометрическая пружина.

 

Рисунок Д.1 Схема устройства

 

показывающего манометриче-

Рисунок Д.2 Схема устройства само-

ского термометра

пишущего термометра

59

Приложение Д

(справочное)

Кварцевые датчики температуры

Для измерения температуры традиционно используются резистивные и термопарные ЧЭ. Простота их изготовления и , как следствие, низкая стоимость, стандартность передаточных характеристик обусловили широкое распространение подобных ЧЭ. В то же время информационный сигнал с этих элементов в подавляющем большинстве случаев соизмерим, а часто и меньше уровня помех, что приводит к низкой точности измерений либо заставляет применять сложные ( и дорогие) устройства обработки сигнала.

Поэтому разработчики измерительной техники периодически обращаются к альтернативным принципам преобразования температуры в электрический сигнал и , в частности, к ЧЭ температуры, выполненным на основе пьезокварцевых резонаторов, обладающих высокой точностью и долговременной стабильностью характеристик преобразования.

Датчики, построенные на основе пьезокварцевых ЧЭ, на выходе имеют частотный или цифровой сигнал, что определяет их более высокую помехозащищенность по выходу, чем у датчиков с аналоговым сигналом.

Кварцевые резонаторы, применяемые в датчиках температуры, как правило, имеют толщинно – сдвиговую моду колебаний и характеризуются типовыми параметрами, приведенными в таблице Е.1.

Благодаря бурному развитию производства электронных кварцевых часов несколько лет назад появились кварцевые резонаторы, кристаллический элемент которых имеет форму камертона. Такая форма обеспечивает высокую стабильность колебаний резонатора при очень малых размерах кристалла – 3х1х0,1 мм. Физические, метрологические и стоимостные параметры микрокамертонных резонаторов позволяют в настоящее время изготавливать миниатюрные (что особенно важно для переносной, возимой и бортовой измеритель-

60