Инв. № подл. |
Подпись и дата
|
Взам. инв. № |
Инв. № дубл. |
Подпись и дата |
ГОСТ 3.1105-74 Форма 5 |
||||||||||||||||||
|
|
|
|
|
|
|
|||||||||||||||||
Карта эскизов |
|
|
|||||||||||||||||||||
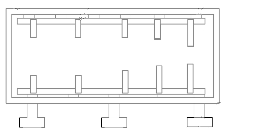
Нервюра |
|||||||||||||||||||||||
Горизонтальная сборка отштампованных деталей (стенки, пояски, стойки) в сборочную единицу(нервюру) Установка сборочной единицы на станок и высверливание отверстий КФО
|
|
||||||||||||||||||||||
|
|
|
|
|
|
|
|
|
|
|
Разраб. |
Лехман |
|
|
Лист |
||||||||
|
|
|
|
|
|
|
|
|
|
Провер. |
Курников |
|
|
1 |
|||||||||
|
|
|
|
|
|
|
|
|
|
|
|
|
|
||||||||||
|
|
|
|
|
|
|
|
|
|
|
|
|
|
Листов |
|||||||||
Изм. |
Лист |
№ докум. |
Подп. |
Дата |
Изм. |
Лист |
№ докум. |
Подп. |
Дата |
Н. Контр. |
|
|
|
2 |
|||||||||
Инв. № подл. |
Подпись и дата
|
Взам. инв. № |
Инв. № дубл. |
Подпись и дата |
ГОСТ 3.1105-74 Форма 6 |
||||||||||||||||||
|
|
|
|
|
|
|
|||||||||||||||||
|
|
||||||||||||||||||||||
|
|||||||||||||||||||||||
Выполняем разметку по спец накладкам. Сверлим отверстия по разметке. Вставляем заклепки в отверстия. Образуем замыкающие головки. Снимаем нервюру с сборочного приспособления. Закрепление нервюры в сборочном приспособлении используя отверстия КФО и прижимные фиксаторы
|
|||||||||||||||||||||||
|
|||||||||||||||||||||||