Алгоритм N 3 JPEG
Основные соотношения
JPEG - один из новых и достаточно мощных алгоритмов. Оперирует алгоритм областями 8x8, на которых яркость меняется сравнительно плавно. Вследствие этого при разложении матрицы такой, области в двойной ряд по косинусам значимыми оказываются только первые коэффициенты. Алгоритм разработан группой экспертов в области фотографии. JPEG - Joint Photographic Expert Groupподразделение в рамках ISO - Международной организации по стандартизации.
Метод позволяет сжимать некоторые изображения в 10-15 раз без серьезных потерь. Существенными положительными сторонами алгоритма является то, что:
•задается степень сжатия (степень сжатия: 2-200 (задается пользователем));
•выходное цветное изображение может иметь 24 бита на точку. Класс изображений: полноцветные, 4 битовые изображения или изображения в градациях серого без резких переходов цветов.
Отрицательными сторонами алгоритма является то, что:
•При повышении степени сжатия изображение распадается на отдельные квадраты (8x8). Это связано с тем, что происходят большие потери в низких частотах при квантовании и восстановить исходные данные становится невозможно.
•Проявляется эффект Гиббса - ореолы по границам резких горизонтальных и вертикальных переходов цветов.
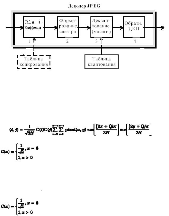
В алгоритме JPEG используется ДКП, которое раскладывает изображение по амплитудам некоторых частот. Таким образом, при преобразовании получается матрица, в которой многие коэффициенты либо близки, либо равны нулю. Кроме того, благодаря несовершенству человеческого зрения можно аппроксимировать коэффициенты более грубо без заметной потери качества изображения. Для этого используется квантование коэффициентов. В самом простом случае - это арифметический побитовый сдвиг вправо. При этом преобразовании теряется часть информации, но может достигаться большая степень сжатия. Порядок работы прямого и обратного алгоритмов приведены на рисунке 1 и рисунке 2.
Рис. 1. Схема сжатия изображений по JPEG
1
Рис. 2. Схема восстановления изображений по JPEG
Для преобразования используются следующие формулы:
Формула прямого дискретного косинусного преобразования:
ДКП
Формула обратного дискретного косинусного преобразования.
ДКП
ДКП
В получившейся матрице коэффициентов низкочастотные компоненты расположены ближе к левому верхнему углу, а высокочастотные - справа и внизу. Это важно потому, что большинство графических образов на экране компьютера состоит из низкочастотной информации. Высокочастотные компоненты не так важны для передачи изображения. Таким образом, дискретное косинусное преобразование позволяет определить, какую часть информации можно безболезненно выбросить, не внося серьезных искажений в картинку.
Время, необходимое для вычисления каждого элемента матрицы дискретного косинусного преобразования, сильно зависит от ее размера. Так как используются два вложенных цикла,
2