Материал: История издательской техники

Внимание! Если размещение файла нарушает Ваши авторские права, то обязательно сообщите нам

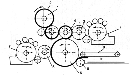
Одна из первых рулонных ротаций была построенная почти одновременно с машиной Баллока в Англии Д. Уолтером, Д. Макдональдом и Д. Калварли, а на рис. 4 приведена схема, иллюстрирующая принцип работы машины. Как видно из схемы, в этой ротации, сматывающееся с рулона 1 непрерывное бумажное полотно 2 последовательно проходило две печатные секции, в одной из которых запечатывалась лицевая сторона ленты, а в другой - оборотная. Как и в машине Баллока, печатный цилиндр 6 для оборотной стороны имел очень большие размеры. Устройство 8 разрезало запечатанное с двух сторон бумажное полотно на отдельные листы. Ротацию обслуживало три человека - рабочий, следивший за правильностью подачи бумажного полотна и ставивший новый рулон по мере истощения предыдущего и два мальчика, принимавшие готовые газеты. Эта машина печатала в Лондоне газету «Тайме» почти тридцать лет.

Рис. 4. Схема рулонной ротационной машины одной из первых рулонных ротационных машин: 1 - рулон бумаги; 2 - бумажная лента; 3 - формный цилиндр для печати на лицевой стороне листа; 4 - печатный цилиндр для печати на лицевой стороне листа; 5 - формный цилиндр для печати на оборотной стороне листа; 6 - печатный цилиндр для оборотной стороны листа; 7 - красочные аппараты; 8 - валик, разрезающий запечатанную бумагу на листы; 9 - выводное устройство

В настоящее время ушли из употребления металлические формы высокой печати. Отпала необходимость в использовании стереотипов, так как все печатные формы, независимо от вида печати, имеют гибкую основу и могут натягиваться на цилиндр или изготовляются непосредственно на цилиндре. Все печатные машины работают по ротационному принципу и предназначены либо для рулонной, либо для листовой печати. Рулонные машины, как правило, снабжены фальцевальным аппаратом, в котором от бумажной ленты отрезаются листы требуемого формата, и затем складываются в тетради.


Издательская продукция - совокупность изданий, выпущенных издательством или другой издающей организацией. Эта продукция в основном служит средством информации.

Наряду с другими видами коммуникации (радио, телевидение, кино и др.) издательская продукция является главным средством массовой информации и общения между людьми, распространения научных знаний, средством политической борьбы и выражением общественного мнения, а также хранителем духовных ценностей всех веков и народов. Эта продукция удобна для использования, имеет большую сохранность и низкую стоимость размножения. Другие средства информации не заменяют, а дополняют ее.

По периодичности издательская продукция делиться на:

·        непериодические издания, выходящие однократно без предусмотренных их сроков повторения (книги, брошюры, листовки);

·        периодические издания, выходящие через определенный промежуток времени постоянным для каждого года числом номеров, однотипно оформленных (журналы, газеты);

·        продолжающиеся издания, выходящие через неопределенные промежутки времени по мере накопления материала (сборники научных трудов и т.д.);

Книга - непериодическое текстовое книжное издание в виде блока скрепленных в корешке листов печатного материала любого формата в обложке или переплете. Имеет объём свыше 48 страниц;

Брошюра - непериодическое текстовое книжное издание свыше четырех, но не более 48 страниц;

Листовка - непериодическое текстовое листовое издание объемом от одной до четырех страниц;

Журнал (от фр. journal - газета) - один из видов периодических изданий, содержащих статьи и рефераты по различным вопросам, литературные произведения, изобразительный и другой материал. От книги журнал отличается периодичностью и оперативностью изготовления, более широкой тематикой и разнообразием содержания статей. А между собой журналы отличаются целевым назначением, периодичностью, специализацией, объемом, оформлением, конструкцией и другими признаками.

Конструкция журналов в зависимости от оформления и объема может быть различной: их могут выпускать как в переплетных крышках, так и в обложках. Однако главным образом по экономическим соображениям почти все отечественные журналы, в том числе и большого объема, выпускаются в обложках. Поэтому элементы большинства журнальных блоков почти полностью совпадают с элементами книг в обложках. Из-за большого формата и малого объема «тонких» журналов (2-3 тетради) конструкции их полос отличаются от книжных расположением текста в несколько колонок, отсутствием спусковых и концевых полос, запечатыванием внутренних и внешних сторон обложки текстовым и изобразительным материалом.

Газета - периодическое листовое издание, содержащее официальные материалы, оперативную информацию и статьи по актуальным общественно-политическим, научным, производственным и другим вопросам, а также литературные произведения, изобразительный материал и рекламу. Все газеты, выпускаемые в России, можно условно разделить на следующие группы, ведущие центральные ежедневные газеты («Российская Газета»), центральные ежедневные газеты («Московский комсомолец», «Известия», «Комсомольская правда», «Аргументы и Факты» и др.), ведомственные ежедневные газеты («Спорт - экспресс» и др.), республиканские, областные, краевые, городские («Жизнь», «Симбирский курьер», «Дыхание земли», «Народная газета», «Новый град симбирск» и др.), вечерние городские, районные, многотиражные и газеты организаций и предприятий.

Газеты выпускаются в строго установленные дни недели и время суток в сфальцованном виде объемом от 2 до 48 и более полос, в зависимости от формата издания. В нашей стране газетные издания выпускают трех форматов: А2 (основной формат), равный 420x594 мм. Это формат центральных, республиканских и некоторых городских газет («Правда», «Известия» и др.), А3 - половина А2, равный 297x420 мм (районные, городские, пионерские, спортивные и др.), и А4 - четверть А2, равный 210x297 мм.

В отличие от книжных изданий для каждого формата газеты установлен только один формат полосы, например, для формата газеты А2 формат полосы составляет 21,5x30,5 кв., т.е. 387x549 мм. Полоса газеты состоит, как правило, из текста и изображений. Текст на полосе располагается в виде колонок, число которых (от четырех до восьми) зависит от формата газеты. Наиболее применяемый формат строк - от 2,5 до 4 кв. Специальные материалы (передовые статьи или особо важные информации) набираются более крупным шрифтом. Выходные сведения помещаются на последней полосе. Газета характеризуется большим разнообразием заголовков и рубрик, набираемых различными по рисунку и размеру шрифтами.


Список использованной литературы

1.   Козлова Е.Б. История печатных средств информации. М.: МГУП, 2008;

2.      Полянский Н.Н. Основы полиграфического производства. М.: «Книга», 1991.