Материал: ФХМА дизельного топлива

Внимание! Если размещение файла нарушает Ваши авторские права, то обязательно сообщите нам

,

где  - средняя температурная поправка к плотности на 1 °С.

Рис. 5. Ареометр.

Поправка зависит от значения плотности испытуемого нефтепродукта. В обычной практике  находят по таблице в зависимости только от плотности.

1.3.2 Метод Вестфаля-мора

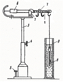
Весы Вестфаля-Мора состоят из вращающегося на призме коромысла 1 с висящим на конце его поплавком (который иногда снабжен термометром) и неподвижного штатива 3, имеющего внизу регулировочный винт 5, а наверху неподвижное острие. Коромысло состоит из двух частей или плеч: одно из них более короткое и широкое, другое более длинное и тонкое, разделенное на 10 делений, к последнему делению которого на тонкой платиновой нити подвешен стеклянный поплавок 8. Вес поплавка подобран таким, чтобы он точно уравновешивал коромысло в воздухе [2]. Прибор снабжен разновесами 7.

Рис. 6. Гидростатические весы Вестфаля-Мора: 1 - коромысло; 2 - призма; 3 - штатив; 4 - винт в стойке; 5 - регулировочный винт; 6 - противовес; 7 - серьги (гири); 8 - поплавок; 9 - цилиндр.

В чистый и сухой стакан, прилагаемый к весам Вестфаля-Мора (рис. 6), осторожно наливают нефть до тех пор, пока в него не погрузится поплавок и около 15 мм проволоки, на которой он подвешен. Равновесие весов нарушается. Для достижения равновесия на коромысла весов навешивают серьги (гири), начиная с самой крупной. Количеством гирь и их положением определяется видимая плотность нефтепродукта при данной температуре. Так как большая часть весов Вестфаля-Мора дает показания , то для пересчета значений  на стандартный и общепринятый показатель  пользуются формулой:

,

где 0,99823 - значение плотности воды при 20 оС; 0,0012 - значение плотности воздуха при 20 оС и давлении 0,1 МПа;  - "видимая" плотность, определенная гидростатическими весами;  - средняя температурная поправка на 1 оС.

1.3.3 Метод взвешенных капель

Для малого количества жидких нефтепродуктов (капли) либо для твёрдых веществ (парафина, битума и др.) пользуются методом уравнивания плотности, или методом взвешенной капли [1]: каплю или кусочек исследованного нефтепродукта вводят в спиртоводный () или водно-соляный раствор слабой концентрации () и добавляют в сосуд воду или концентрированный раствор соли до тех пор, пока испытуемый нефтепродукт не будет взвешен внутри раствора (рис. 7). В этом случае плотность нефтепродукта равна плотности раствора, которую определяют ареометром.

Этот способ пригоден лишь для технических целей.

Рис. 7. Прибор для определения плотности нефтепродукта методом взвешенных капель.

.3.4 Пикнометрический метод

Наиболее точный результат достигается при определении плотности пикнометром (до 0,00005). В зависимости от агрегатного состояния нефтепродукта, его количества и требуемой точности взвешивания применяют пикнометры различной формы и ёмкости.

Рис. 8. Пикнометр

Перед определением необходимо взвесить на аналитических весах с точностью до 0,0002 г вес чистого сухого пикнометра (рис. 8) с известным водным числом М, которое определяют по формуле:

М = М2 - М1,

где М2 - масса пикнометра с водой до метки в г;

М1 - масса пустого пикнометра в г.

При помощи пипетки с оттянутым носиком сухой пикнометр наполняют нефтью несколько выше метки, закрывают пробкой и помещают в водяной термостат с температурой 200,2 оС на 15-20 мин. Затем держа пикнометр за бумажный хомуток, удаляют избыток нефтепродукта, установив его уровень по нижнему краю мениска согласно метке пикнометра (для светлых нефтепродуктов уровень - по верхнему краю мениска). После этого пикнометр вытирают досуха и взвешивают на аналитических весах. Далее расчет проводится по формулам (2.9) и (2.10). Вместо формулы (2.10) можно использовать поправку, которую вычитают из значения .

,

где m3 - масса пикнометра с нефтью, г; m2 - масса сухого чистого пикнометра, г; m1 - масса пикнометра с водой, г.

Пересчет  в  осуществляют по формуле:

,

1.4 Определение вязкости

Вязкость жидкостей проявляется при перемещении в потоке разных её слоёв друг относительно друга с различной скоростью [4].

Вязкость является одной из важнейших характеристик нефтей и нефтепродуктов. Она характеризуется прокачиваемость нефти при транспортировке её по трубопроводам, прокачиваемость топлив в двигателях внутреннего сгорания, поведение смазочных масел в механизмах [1].

Чтобы оценить эффективность подогрева нефти для перекачки, вязкость её определяют при температурах 20 и 50 оС. Вязкость нефти тем больше, чем выше её относительная плотность и меньше содержание в ней светлых нефтепродуктов (особенно бензина). Однако при равных этих показателях вязкость нефтей с изменением температуры может изменяться по-разному в зависимости от их группового химического состава.

Основной закон вязкостного течения установлен Ньютоном:

,

где F - тангенсальная сила, вызывающая сдвиг слоёв друг относительно друга, Н;

S - площадь слоя, м2;

Коэффициент пропорциональности  называется динамической вязкостью.

Различают динамическую, кинематическую и условную вязкость. Кинематическая вязкость нефтей различных месторождений изменяется в довольно широких пределах (0,02-5,0)10-4 м2/с при 20 оС [3].

Динамическая вязкость измеряется в пуазах. Кинематическая вязкость численно равна отношению кинематической вязкости нефтепродукта к его плотности и измеряется в стоксах.

Для сравнительной оценки высоковязких нефтепродуктов и подобных им жидкостей пользуются также условной вязкостью, под которой понимается отношение времени истечения из стандартного вискозиметра (ГОСТ 1532-54) определённого объёма испытуемой жидкости ко времени истечения такого же количества дистиллированной воды при 20 оС [5].

Вязкость при данной температуре определяется по формуле:

,

где  - время истечения нефтепродукта при данной температуре; - водное число вискозиметра.

Для взаимного пересчёта различных единиц вязкости пользуются формулами, таблицами и программами.

Все вискозиметры по принципу действия делятся на следующие группы [5]:

) Капиллярные вискозиметры, основанные на определении текучести жидкости через капилляры. Из этой серии наибольшее применение получили вискозиметры Оствальда-Пинкевича и Фогеля-Освага;

Рис. 9. Стеклянный капиллярный вискозиметр: 1 - измерительный резервуар; 2 - капилляр; 3 - приёмный сосуд; M1 и М2 - метки, служащие для измерения времени истечения жидкости из измерительный резервуара.

) Приборы для определения вязкости по скорости падения тела или по затуханию колебаний твёрдого тела в испытуемой жидкости (вискозиметры Гуревича, Гепплера).

Рис. 10. Разрез вискозиметра Гепплера: 1 - установочные винты; 2 -ватерпас; 3 - запорная гайка; 4 - измерительная трубка; 5 - запорная пробка; 6 - термостатирующая рубашка; 7 - термометр; 8 - фиксатор.

) Ротационные вискозиметры Метод определения вязкости приборами данного типа состоит в измерении крутящего момента при круговом сдвиговом течении материала с постоянной скоростью в тонком кольцевом слое (в зазоре между коаксиально расположенными цилиндрами).

Рис. 11. Ротационный вискозиметр РВ-7 (с заданным крутящимся моментом): 1 - внутренний вращающийся цилиндр; 2 - внешний неподвижный цилиндр; 3 - ось вращающейся системы; 4 - термостат; 5 - мешалка термостата; 6 - термопары; 7 - шкив; 8 - тормоз; 9 - нить; 10 - блок; 11 - груз, вращающийся шкив. Скорость вращения шкива определяют по скорости опускания груза.

) Вискозиметр с вибрирующим зондом основан на изменении резонансной частоты колебаний в жидкости различной вязкости. Так как частота будет зависеть и от плотности измеряемой жидкости, некоторые модели позволяют определять эту плотность независимо от вязкости, тогда как другие используют заданное известное значение плотности [6].

Рис. 12. Вибрационный вискозиметр: 1 - U-образный камертон; 2 - постоянные магниты; 3 - чувствительные электроэлементы; 4 - пластины, определяющие уровень погружения чувствительных элементов в исследуемую жидкость; 5, 6 - катушки соответственно управления и привода; 7 - разделительный конденсатор; 8 - коллекторная цепь транзистора; 9 - сопротивление; 10 - плата; 11 - частотометр; 12 - сосуд с исследуемой жидкостью.

) Вискозиметр пузырькового типа основан на определении параметров движения пузырька газа, свободно всплывающего в вязкой среде.

1.5 Определение коэффициента поверхностного натяжения нефтепродуктов

Если поверхность жидкости представить себе как натянутую эластичную мембрану, то поверхностное натяжение жидкости можно рассматривать как силу, которая действует на единицу длины линии, ограничивающей поверхность жидкости, и стремится эту поверхность стянуть или уменьшить [5].

По мнению Гаусса, для того, чтобы увеличить поверхность S жидкости на величину dS, надо затратить некоторую энергию dr, которая для одной и той же величины dS будет зависеть от величины поверхностного натяжения жидкости. Таким образом:


Поверхностные явления играют большую роль в современных процессах нефтепереработки. Это связано с присутствием в нефтях и их фракциях некоторых полярных соединений (кислородных, сернистых и азотсодержащих) [1]. Поверхностное натяжение нефтяных жидкостей зависит от многих факторов, важнейшими из которых являются: температура, давление, химический состав жидкости, а также соприкасающихся с ней фаз.

1.5.1 Метод кольца

Это классический метод для определения поверхностного/межфазного натяжения, который основан на измерении максимального усилия (F) для отрыва кольца с известной геометрией (длиной смачивания, L), сделанного из хорошо смачиваемого материала (угол смачивания ϴ = 0°). При подъёме кольца жидкость стремится стечь с него, что приводит к постепенному утончению плёнки жидкости и отрыву кольца.

Сила межфазного натяжения рассчитывается на основе разницы между максимальным усилием (Fmax), приложенным для отрыва кольца, и силой гидростатического столба жидкости под кольцом (Fv). Данные для последней величины могут быть взяты из специальных таблиц (Харкинса-Джордана) или рассчитаны на основе разности плотностей фаз, геометрических данных кольца и высоты поднятия тонкого слоя жидкости. Краевой угол между жидкостью и стандартным кольцом равен нулю для большинства общеизвестных жидкостей (за исключением ртути).


Рис. 13. Метод кольца

Современные методы анализа показали, что максимальная нагрузка на весы (максимальное натяжение) фиксируется в момент, когда краевой угол смачивания равен 0°, при этом под кольцом образуется тонкая плёнка жидкости. В момент отрыва кольца плёнка жидкости истончается, и поверхностное / межфазное натяжение уже не максимально.

Современные тензиометры по методу кольца позволяют несколько раз растянуть/сжать тонкий слой плёнки без обрыва и, на основе нескольких измерений, рассчитать среднее значение (метод тонкой плёнки). В этом случае может быть зафиксировано изменение поверхностного натяжения во времени. Так как во время измерения происходят небольшие изменения площади поверхности, то метод также называют "псевдостатическим" (частично статическим).

В явном виде метод отрыва кольца можно наблюдать в аналоговом тензиометре K6. В современных цифровых тензиометрах (кроме тензиометра K20S) метод отрыва кольца оставлен больше для сравнения, чем для исследований. В основе современных тензиометров серии K (K20, K11, K100) лежат цифровые весы, которые позволяют чувствовать малейшее изменение веса.

Основной недостаток метода кольца дью Нуи - необходимость вводить поправки на прикладываемую силу из-за дополнительного веса жидкости под кольцом. Вес жидкости под кольцом необходимо вычесть из максимально измеренной силы, чтобы получить истинную силу, прикладываемую к кольцу для его отрыва от поверхности. Кроме веса жидкости под кольцом необходимо учитывать, разницу внешнего и внутреннего диаметра кольца. Максимальная нагрузка, при которой угол смачивания равен 0°, достигается по-разному для внутренней и внешней стороны кольца.

1.5.2 Метод Ребиндера-вейлера

Метод Ребиндера-Вейлера или метод определения максимального давления в пузырьке выполняется следующим образом [7]: в исследуемую жидкость 1, находящуюся в сосуде (рис. 14), вертикально опускается капиллярная трубка 2, узкий конец которой диаметром не более 0,5 мм касается мениска исследуемой жидкости. Другим концом эта трубка сообщается с атмосферным воздухом, поэтому внутри капилляра поддерживается атмосферное давление ро.

Рис. 14. Метод Ребиндера-Вейлера

Давление р над исследуемой жидкостью постепенно уменьшают с помощью водяного насоса. Разность давлений (ро − р) стремиться выдуть пузырек воздуха из капилляра в жидкость, но этому противодействует добавочное давление

Δр = 2σ/r

создаваемое силами поверхностного натяжения жидкости в образующемся пузырьке радиуса r и направленное к центру пузырька.

Наконец, при некоторой разности давлений (ро − р) из капиллярной трубки выдувается в жидкость воздушный пузырек. Разность давлений (ро − р), максимальная в этот момент, измеряется U-образным манометром и равна ρgh, где ρ − плотность жидкости в манометре, h − разность ее уровней.