Материал: Диагностика осевых компрессоров

Внимание! Если размещение файла нарушает Ваши авторские права, то обязательно сообщите нам

Диагностика осевых компрессоров

Содержание

Введение

. Основные принципы и методы диагностики

.1 Вибрационный метод контроля

.1.1 Технические средства вибрационной диагностики машин

.1.2 Системы непрерывного контроля вибрации.

.2 Метод акустической эмиссии (АЭ)

. Типы компрессоров и их характеристики

.1 Осевые компрессоры

.1.1 Основные элементы

.1.2 Принцип действия

. Программы диагностики неисправностей агрегатов

.1 Программа диагностики неисправностей агрегата ГПА-Ц-6,3

.2 Программа диагностики неисправностей агрегата ГТК-10-4

Заключение

Библиографический список

Введение

Ускорение темпов и расширение масштабов производственной деятельности в современных условиях неразрывно связано с возрастающим использованием энергонасыщенных технологий и опасных веществ. В результате возрастает потенциальная угроза для здоровья и жизни людей, окружающей среды, материальной базы производства. В первую очередь это относится к объектам нефтегазовой отрасли, где наблюдаются постоянная интенсификация технологий, связанная с возрастанием температур и давлений, укрупнение единичных мощностей установок и аппаратов, наличие в них больших запасов взрыво-, пожаро- и токсикоопасных веществ. В этой связи можно утверждать, что оценка риска и надежности, прогнозирование ресурса безопасной эксплуатации оборудования и разработка новых способов оценки технического состояния являются фундаментальной научной основой достижения высокого уровня промышленной безопасности. На предприятиях нефтегазовой отрасли доля насосно-компрессорного оборудования составляет порядка 35 % всего производственного оборудования, и, соответственно, уровень безопасности технологических процессов во многом определяется техническим состоянием именно данного вида оборудования.

Разработка методики выявления наиболее опасного оборудования, для которого характерны низкая надежность отдельных элементов, неудовлетворительное техническое состояние и высокая вероятность возникновения аварийных ситуаций, позволит предприятиям разработать стратегию, направленную на повышение уровня безопасной эксплуатации конкретных видов оборудования.

1. Основные принципы и методы диагностики

В настоящее время осознана необходимость разработки научных основ создания устройств автоматического контроля и управления системами обеспечения промышленной и пожарной безопасности и жизнеобеспечения работников при нештатных ситуациях, необходимо повышать эффективность методов оценки и диагностики оборудования нефтегазовых объектов.

Основной принцип диагностики включает:

последовательные и систематические измерения определенных параметров;

выявление изменений этих параметров и сравнение их с исходными данными.

Соответствующие технические приемы и методы можно подразделить на три типа:

. Полуквалифицированные - фиксирование температуры, давления или общей вибрации.

. Квалифицированные - анализ частоты вибраций, постоянная регистрация эксплуатационных характеристик, визуальный осмотр, использование датчиков деформаций.

. Высококвалифицированные - анализ моделей, использование дефектоскопии, магнитографии, голографии, акустической эмиссии.

В общем случае, чем проще методы измерений и менее квалифицированны приемы, тем более грубую, т.е. менее точную и чувствительную к изменениям в конструкции, информацию они дают и используют и тем меньше период времени, на который может быть спрогнозирована ожидаемая катастрофа.

Для измерений в реальном масштабе времени эксплуатации или при проведении регламентных работ с остановкой объектов могут быть использованы как широко применяемые, так и новые методы и средства - оптические, физические, механические, электромеханические. К ним можно отнести: внешний осмотр, ультразвуковую и магнитную дефектоскопию, методы проникающих жидкостей и фотоупругости, тензометрию, виброметрию, термометрию, акустическую эмиссию, термовидение, рентгенографию, томографию, голографию и др.

1.1 Вибрационный метод контроля

компрессор эмиссия контроль диагностика

Вибрационный метод контроля технического состояния машин (вибродиагностика) является одним из информативных и доступных методов диагностики. Применительно к оборудованию НПС вибродиагностика позволяет контролировать техническое состояние магистральных и подпорных насосных агрегатов в режиме постоянного слежения за уровнем вибрации, а также оценивать работоспособность вентиляторов, насосов систем охлаждения, маслоснабжения, отопления, откачки утечек и прочего оборудования путем периодического измерения и анализа параметров вибрации.

На рисунке 1 приведены основные дефекты, вызывающие вибрацию насосного агрегата, локализованные по месту их проявления.

Рисунок 1 - Основные дефекты, вызывающие вибрацию насосного агрегата

Из приведенных данных следует, что большинство дефектов механической, гидродинамической и электромагнитной систем приводит к изменению вибрации насосных агрегатов.

Таким образом, все дефекты насосного агрегата приводят к изменению параметров вибрации, измерив которые можно получить информацию о техническом состоянии, причинах его изменения и оценить остаточный ресурс.

При эксплуатации насосных агрегатов имеет место два принципиально различных метода измерения вибраций (колебаний) при помощи датчиков измерения абсолютных колебаний и относительных колебаний. Колебания насосных агрегатов создаются преимущественно их вращающимися частями и пульсациями давления в насосе и подводящих трубопроводах. При этом, главным возбудителем колебаний является неуравновешенность роторов насоса и электродвигателя.

Различают колебания трех видов.

Рисунок 2 - Виды колебаний и места их измерения (на примере подшипника скольжения)

Относительные колебания валов. Это быстрые движения вала ротора по отношению к вкладышу подшипника.

Абсолютные колебания опор подшипников. Под этим подразумеваются быстрые движения вкладыша подшипника и корпуса подшипника по отношению к жесткой опорной точке в пространстве.

Абсолютные колебания валов. Это быстрые движения вала ротора по отношению к жестко установленной опорной точке в пространстве.

В области механических колебаний приняты три измеряемые величины:

вибросмещение (амплитуда колебаний) - отклонение точки измерения от положения покоя;

виброскорость - скорость движения точки измерения вокруг своего положения покоя;

виброускорение - ускорение движения точки измерения вокруг своего по-ложения покоя.

Применительно к оборудованию НПС используют только характеристики вибросмещения (амплитуду колебания) и виброскорость. При измерении вибрации предпочтение отдается тому виду колебаний, который имеет самую большую информативность.

Для насосов и электродвигателей НПС оценка вибрации проводится на основе измерения абсолютных колебаний корпусов подшипников и реже относительных колебаний валов.

Чтобы выяснить причины, вызывающие вибрации насосного агрегата, необходимо провести диагностические работы с частотным анализом вибраций насосного агрегата. При частотном анализе с помощью виброизмерительной аппаратуры определяются все частотные составляющие вибраций, которые вызывают колебание машины.

Частотный анализ вибраций с помощью виброизмерительной аппаратуры можно осуществлять, в основном, тремя способами: гармоническим анализом вибраций, полосовым выделением частотных составляющих и при применении перестраиваемых фильтров.

При гармоническом анализе вибрации виброизмерительная аппаратура сама определяет частоту вращения ротора машины, настраивает встроенный фильтр на эту частоту и фильтр «пропускает» только ту часть сигнала возмущения, которая соответствует частоте вращения ротора.

Данный способ выделения гармонических составляющих вибрации является наиболее точным, но требует применения (кроме датчика вибрации) датчика, определяющего частоту вращения вала машины (например, фотоэлектрического или лазерного).

Более простым способом выделения частотных составляющих вибрации является применение полосовых фильтров. Встроенные полосовые фильтры настраиваются на определенную частоту, которая зависит от положения переключателя прибора. При этом фильтр пропускает полосу частот, соответствующую его характеристикам. Поэтому, изменяя положение переключателя, мы можем определить, какие частотные составляющие присутствуют в общем уровне вибрации.

В ряде виброизмерительных приборов имеется перестраиваемый фильтр. Если это автоматически перестраиваемый фильтр, то прибор сам последовательно изменяет частоту пропускания фильтра, и по изменениям показаний индикатора можно определить, какие частотные составляющие и с какой величиной присутствуют в общем уровне вибрации. Однако визуально это сделать сложно. Поэтому для такого частотного анализа обычно используют самописцы, подключаемые к выходу прибора, и записывают амплитудно-частотную диаграмму, по которой впоследствии определяют отдельные частотные составляющие вибрации.

Для диагностических работ можно использовать любой из этих способов частотного анализа вибрации.

Конструктивно насос и электродвигатель имеют выносные подшипники, корпуса которых используются для установки датчиков вибрации и датчика измерения частоты вращения ротора.

При эксплуатации насосных агрегатов необходимо проводить периодический контроль и оценку интенсивности вибрации агрегата в соответствии с нормами вибрации на них.

В качестве нормируемого параметра вибрации устанавливается среднее квадратическое значение виброскорости.

1.1.1 Технические средства вибрационной диагностики машин

Диагностическая аппаратура предназначается для специальной обработки вибрационного сигнала и измерения параметров вибрации: дискретизации и аналого-цифрового преобразования (АЦП) сигнала, снятия амплитудно-фазочастотных характеристик (АФЧХ) вибрации, определения гармонического спектра вибрации в линейном и логарифмическом масштабах, амплитуд и фаз гармоник, а также для запоминания исходных данных и результатов их обработки.

Вибрация преобразовывается в электрический сигнал посредством датчика, связанного с объектом измерения.

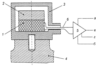
Для измерения абсолютной вибрации подшипников и других невращающихся элементов машины в качестве датчиков в настоящее время используются пьезоэлектрические датчики. Источником электрического сигнала таких датчиков является пьезочувствительный элемент. На рисунке 3 схематично изображен датчик абсолютной вибрации.

Рисунок 3 - Конструкция датчика-пьезокселерометра: 1 - пьезочувствительный элемент; 2 - сейсмическая масса; 3 - корпус датчика; 4 - объект измерения; 5 - предварительный усилитель; 6 - антивибрационный кабель; а, б - контакты подвода питания к усилителю; в, г - выход электрического сигнала

Пьезочувствительный элемент обычно изготавливают из специального керамического материала, он же обычно играет роль упругого элемента, на котором закреплена сейсмическая масса. Величины массы и жесткости упругого элемента, как известно, определяют собственную частоту датчика. Эта частота должна быть значительно (обычно вдвое) выше максимальной частоты измеряемой вибрации. Конфигурация элементов датчика различна. Она выбирается таким образом, чтобы обеспечить необходимую собственную частоту датчика, его чувствительность к вибрации и нечувствительность к поперечным составляющим вибрации. На выходе предусилителя формируется переменный электрический сигнал, пропорциональный действующему виброускорению в направлении измерения.

Пьезочувствительнй элемент формирует слабый электрический сигнал, что требует установки в непосредственной близости от датчика предварительного усилителя. Для соединения датчика с предусилителем используется специальный антивибрационный кабель, поскольку в обычных кабелях может генерироваться помеха вследствие их вибрации. Длина соединительного кабеля обычно не превышает 10 м. В ряде случаев предусилитель располагается непосредственно в корпусе датчика. В этом случае говорят о вибродатчике со встроенной электроникой.

Диапазон измеряемой вибрации определяется чувствительностью датчика и динамическим диапазоном предусилителя или предельным значением усиливаемого сигнала.

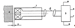
Для измерения перемещений, в частности, относительной вибрации валов, используется совсем иной по используемым физическим эффектам вибродатчик - вихретоковый. На рисунке 4 изображена схема измерения относительной вибрации вала.

Рисунок 4 - Конструкция вихретокового измерительного канала: 1 - датчик; 2 - радиочастотный кабель; 3 - УВЧ-генератор; 4 - объект измерения (вал); а, б - подвод питающего напряжения; в, г - выход электрического сигнала, пропорционального зазору

Измерение вихретоковым методом основано на регистрации изменений электромагнитного поля в зависимости от зазора между торцом датчика, содержащего обмотку, через которую проходят вихревые токи, и электропроводящей поверхностью объекта измерения.

Постоянная составляющая выходного электрического сигнала соответствует средней величине зазора между датчиком и объектом, а переменная - виброперемещению объекта.

Результаты измерений зависят от толщины и электромагнитных свойств объекта в месте установки датчика, в связи с чем для каждой группы объектов с идентичными параметрами производится соответствующая настройка (тарировка) измерительной схемы.

Частотный диапазон измерения вибрации вихретоковым методом ограничен сверху частотой УВЧ-генератора и собственной частотой крепления датчика.

Выходной электрический сигнал направляется в измерительный блок, который осуществляет обработку сигнала в соответствии с реализуемыми функциями прибора и формирует, индицирует значения измеряемых параметров.

Системы вибродиагностики и вибромониторинга подразделяются на стационарные, осуществляющие необходимый контроль измеряемых параметров непрерывно (on line), и системы, использующие переносную аппаратуру с ограниченным числом каналов для периодического измерения контролируемых параметров (off line).

Стационарные вибродиагностические системы предназначены для:

непрерывного автоматического контроля вибрации;

сбора, обработки и хранения параметров вибрационных сигналов;

вибродиагностики дефектов оборудования в процессе его работы.

Программный комплекс включает модули предварительной обработки информации, основной программный модуль и вспомогательные модули.

Структурно аппаратура выполнена из функционально завершенных измерительных блоков - виброизмерительный канал с унифицированными выходами, вторичные блоки преобразователя, коммутатор с интерфейсом, IBM совместимый АЦП и программное обеспечение, использование которых возможно в различных сочетаниях в зависимости от практических задач.

Программные средства обеспечивают автоматический сбор данных по параметрам вибрации во временной и частотных областях, их хранение, визуализацию и составление отчетов. Они поддерживают также функции определения тревожных состояний по всем нормируемым отклонениям вибрационных параметров (по уровню интенсивности, внезапному изменению, возникновению низкочастотной вибрации, плавному росту вибрации) и обеспечивают соответствующую сигнализацию при возникновении тревоги.