Материал: Автоматизация водоотливных установок

Внимание! Если размещение файла нарушает Ваши авторские права, то обязательно сообщите нам

Рис 5. Электородный датчик ЭД

Электродные датчики работают совместно с различными схемами устройств контроля уровня. Цепи контроля уровня должны быть искробезопасными. Исполнительные элементы схемы обеспечивают релейность характеристики, т. е. напряжение на обмотке исполнительного реле изменяется скачкообразно в зависимости от величины сопротивления! электрод - жидкость - «земля». Наибольшей надежностью обладают схемы контроля уровня, построенйые с использованием транзисторных и тиристорных усилителей, а также реле на герконах.

Для контроля производительности насосов в схемах автоматизации водоотливных установок применяют струйные реле флажкового типа РПН и РПФВ-1К. Эти реле просты по конструкции и не требуют сложной наладки, на их работу в малой степени влияют загрязненные рудничные воды.

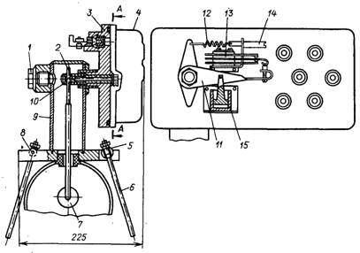
Рис. 6 Реле производительности РПФВ-1К

Реле производительности РЛФВ-1К (рис. 6) состоит из корпуса 9 и платы 3. В верхней части корпуса имеются два отверстия: одно для ввода валика 2, второе, заглушенное пробкой 1, для ключа под специальную гайку 10, крепящую шток с резиновым флажком 7. Нижняя часть корпуса представляет собой плиту с двумя проушинами для поворотных валиков 5, с помощью которых шпильками 6, 8 реле укрепляется на трубопроводе. Крышка 4 закрывает рабочую камеру реле, в которой размещена контактная группа 13. При воздействии потока жидкости на флажок 7 поворачивается жестко связанный с ним валик 2 и рычаг 11, переключающий контактную группу 13. Изменяя предварительное натяжение пружины 12 с помощью винта 14, можно настроить реле на срабатывание при определенной скорости потока жидкости. При снижении скорости жидкости в трубопроводе флажок под действием пружины возвратится в исходное положение и, следовательно, замкнутся или разомкнутся электрические цепи. Демпфер 15 предназначен для замедления колебаний подвижной системы реле.

Для контроля заливки насосов используются реле давления РДВ (рис. 7). Чувствительным элементом реле давления является диафрагма 6. Реле имеет две ступени регулировки срабатывания по давлению. Выбор ступени осуществляется при введении в действие с помощью винта 4 малого поршня 7 или малого и большого 5 поршней вместе, что соответствует уменьшению или увеличению рабочей площади диафрагмы. Сила давления воды, воспринимаемая диафрагмой, передается через поршень на шток 9, который воздействует на микропереключатель 1.

Рис. 7 Реле контроля давления РДВ

Предварительное натяжение пружины 10, необходимое для четкого срабатывания реле, регулируется штоком 9, в верхней части которого имеется участок шестигранного сечения. При регулировке шток ввинчивают в специальную гайку 8. Последняя фиксируется шпилькой 3. Зазор между штоком и микропереключателем устанавливается регулировочной гайкой 2.

Для контроля температуры подшипников в насосных установках обычно применяют термодатчики ТДЛ-2 (рис. 8). Принцип действия датчиков основан на использовании сплава, температура плавления которого 70-72 °С. При перегреве подшипника сплав 5 в наконечнике датчика расплавляется и освобождает валик 4, который под действием пружины 3 поворачивается и переключает контактную систему 2. После каждого срабатывания датчика возврат его в исходное рабочее положение производится вручную рукояткой.

Рис. 8 Термодадчик ТДЛ-2

Программу работы автоматизированной водоотливной установки обычно задает моторное реле времени - моторный коммутатор. Реле состоит из синхронного двигателя типа СД-2, зубчатой пары и до десяти контактных дисков , воздействующих на контактные группы. Диски, набранные на оси, при вращении производят переключения контактов.

. Система мониторинга и управления водоотливом

Система мониторинга и управления водоотливом (СМУВ) обеспечивает:

.        Автоматическое управление технологическим оборудованием водоотлива без участия оперативного персонала по сигналам датчиков уровня воды в водосборнике;

2.       Автоматизированное управление оборудованием водоотлива по команде оператора (дисптечера);

3.       Автоматический контроль состояния электрооборудования, работы механизмов с архивацией параметров;

4.       Достижение проектной производительности;

5.       Предотвращение развития аварийных ситуаций;

6.       Сокращение сроков устранения аварийных ситуаций;

8.       Диспетчерский контроль работы;

9.       Технологический учет моточасов насосных агрегатов и запорно- регулирующей аппаратуры;

10.     Снижение удельных норм расхода электроэнергии;

11.     Соответствие требованиям правил безопасности и требованиям системы стандартов безопасности в части управления машинами, производственными процессами и электрооборудованием.

. Назначение, маркировка и состав аппаратуры автоматизации водоотлива ААВ

Аппаратуры автоматизации водоотлива ААВ предназначена для автоматизации и оптимизации технологического процесса водоотлива на предприятиях всех уровней опасности, а также в подземных условиях и на предприятиях повышенной опасности.

МАРКИРОВКА:

ААВ - ХХ У 5

А - аппаратура

А - автоматизации

В - водоотлива

Х - количество насосов;

Х - « А » - автоматическое управление задвижками,

«Р» - ручное управление задвижками;

У - климатическое исполнение по ГОСТ 15150-69;

- категория размещения по ГОСТ 15150-69;

Пример заказа устройства для 3 насосов с автоматическим управлением задвижками: «ААВ-3А У 5, ДИГ.656131.037».

Рис. 9 Пульт оператора

СОСТАВ

Аппаратура одного горизонта водоотлива состоит :

­    Источник питания взрывозащищенный с искробезопасным выходом ИПВИ -12-1,5 ДИГ .645243.016;

­    Пульт оператора водоотлива искробезопасный ПОВИ -1.1 ДИГ.656623.005.

Датчики ( опционально ):

­    Датчик тока;

­    Датчик температуры подшипников ;

­    Датчик температуры статора ;

­    Датчик давления ;

­    Датчик уровня .

. Условия эксплуатации аппаратуры автоматизации водоотлива ААВ

Температура окружающей среды от - 5 до + 35˚С .

Относительная влажность окружающего воздуха при температуре (25 ± 2) ˚С , (98 ± 2) %.

Номинальные значения механических внешних воздействующих факторов по ГОСТ 17518.1 для группы механического исполнения М1.

8. Функции выполняемые аппаратурой автоматизации водоотлива ААВ

Аппаратурой автоматизации водоотлива ААВ выполняет следующие функции:

.        Включение и выключение комплектных распределительных устройств КРУВ в ручном и автоматическом режимах;

.        Управление задвижками трубопровода;

.        Контроль уровня воды в резервуаре ;

.        Контроль тока двигателей ;

.        Контроль давления в выходном трубопроводе насосов

.        Контроль температуры подшипников электродвигателей ;

.        Контроль температуры обмоток статора электродвигателей ;

.        Контроль положения задвижек ;

.        Индикацию уровня воды в резервуаре ;

.        Индикацию тока двигателей ;

.        Индикацию превышения давления в выходном трубопроводе насосов, предупредительное и аварийное;

.        Индикацию аварийного превышения температуры подшипников электродвигателей ;

.        Индикацию аварийного превышения температуры обмоток статора электродвигателей ;

.        Индикацию положения задвижек ;

.        Подачу предупредительных и аварийных звуковых сигналов при достижении пороговых значений технологических параметров;

.        Передачу информации по искробезопасной линии связи RS-485 протокол Modbus диспетчеру ;

.        Регистрация и хранение режимов работы водоотлива и технологических параметров на флеш карте Функция « черного ящика».

9. Работа функциональной схемы аппаратуры автоматизации ААВ

Напряжение 127 В подается на источник ИПВИ, который служит для питания пульта оператора искробезопасным напряжением 12 В. В пульте оператора установлены: программируемый контроллер ПЛК, универсальное устройство ввода - вывода УУВВ, кнопки управления КУ и информационные индикаторы ИИ. Информация от датчиков поступает на входы (AI1-AI14, DI1-DI3) универсального устройства ввода- вывода УУВВ. Датчики тока ДТ установлены в комплектных распределительных устройствах КРУВ и дают информацию о силе тока двигателей М1, М2, М3, которая поступает на аналоговые входы (AI3, AI7, AI11). Датчики давления ДД контролируют давление в выходных трубопроводах насосов Н1, Н2, Н3 (AI4, AI8, AI12). Датчики температуры подшипников ДТП и температуры статора ДТС установлены на двигателях М 1, М2, М3(AI1, AI2, AI5, AI6, AI9, AI10). Сигнал положения задвижки поступает на цифровые входы DI1-DI3. Кнопки управления КУ подключены к цифровым входам (DI4-DI6), а информационные индикаторы - к цифровым выходам (DO4-DO16). Информация об уровне воды регистрируется датчиками уровня ДУ и поступает на аналоговые входы универсального устройства ввода-вывода (AI13, AI14). Программируемый логический контроллер ПЛК последовательно опрашивает состояния входов универсального устройства УУВВ. По заданному алгоритму показания датчиков обрабатываются и отображаются на информационных индикаторах ИИ. В случае аварийного значения контролируемого параметра автоматически отключается неисправный насос Н. В автоматическом режиме ПЛК в зависимости от мгновенных показаний датчиков уровня воды ДУ, а также от скорости изменения уровня и времени суток управляет включением и отключением КРУВ и открытием и закрытием задвижек.


10. ПБ при обслуживании и эксплуатации водоотливных

Правила безопасности при эксплуатации водоотливных установок:

·              Главные насосные установки должны иметь водосборники, состоящие из двух и более выработок;

·              Насосная камера главного водоотлива должна соединяться: со стволом шахты - наклонным ходком, место введения которого в ствол должно быть расположено не ниже 7 м от уровня пола насосной камеры; с околоствольным двором - ходком, который должен герметически закрываться;

·              Главные водоотливные установки шахты и установки в капитальных уклонах с притоком воды более 50 м3/час должны быть оборудованы не менее чем тремя насосными агрегатами. Производительность каждого агрегата или группы рабочих агрегатов, не считая резервных, должна обеспечивать откачку нормального суточного притока воды не более чем за 16 ч. (для угольных шахт) и 20 ч. (для рудных шахт);

·              Главная водоотливная установка должна быть оборудована не менее чем двумя водоотливными трубопроводами, один из которых является резервным.

Вывод

В данном курсовом проекте я изучил автоматизацию водоотливных установок, каких видов и типов бывают водоотливные установки. Также я рассмотрел аппаратуру автоматизации шахтного водоотлива ААВ. Я понял, что аппаратура автоматизации шахтного водоотлива ААВ предназначена для автоматизации и оптимизации технологического процесса водоотлива. Также мне стало известно, что входит в конструкцию аппаратуры автоматизации шахтного водоотлива ААВ: источник питания взрывозащищенный с искробезопасным выходом; пульт оператора водоотлива искробезопасный; датчик тока; датчик температуры подшипников ; датчик температуры статора; датчик давления; датчик уровня. В пульте оператора установлены: промышленный программируемый контроллер ПЛК, блок ввода вывода БВВ, кнопки управления КУ и информационные индикаторы ИИ.

Список используемой литературы

1.       Батицкий В.А, Куроедов В.И., Рыжков А.А. «Автоматизация процессов и АСУ ТП в горной промышленности»:Учеб. Для техникумов. 2-й изд., перераб. И доп. - М.:Недра 1991. - 303 с.:ил.

.        Поспелов Л.П. «Основы автоматизации производства»: Учебник для техникумов. - М.:Недра, 1988. - 232 с.: ил.

.        Бухгольц В.П. «Основы автоматизации производства на горных предприятиях»: учебник для техникумов. - М.:Недра, 1981, 264с.

.        Овсяников Ю.А., Караблёв А.А.. Топорков А.А. «Автоматизация подземного оборудования»: Справочник рабочего. - М.:Недра, 1990. - 287 с.: ил.

.        Демин «Лабораторный практикум по рудничной автоматике и телемеханике» - М.:Недра, 1990.