Материал: Автоматизация скважин, оборудованных штанговыми глубинными насосами

Внимание! Если размещение файла нарушает Ваши авторские права, то обязательно сообщите нам

Автоматизация скважин, оборудованных штанговыми глубинными насосами














Автоматизация скважин, оборудованных штанговыми глубинными насосами



Введение

автоматизация штанговый насос

Современный подход к автоматизации процессов нефтедобычи диктует жесткие требования к программно-аппаратным комплексам контроля и управления ШГН. Это обусловлено истощением ресурсов нефтяных пластов, высокой стоимостью электроэнергии, стремлением нефтяных компаний снизить затраты на ремонт скважин и более эффективно использовать свой персонал. Поэтому предприятиям приходится выбирать наиболее оптимальные средства автоматизации.

Целью выпускной квалификационной работы является выбор СУ скважиной, оборудованной ШГН.

Задачами выпускной квалификационной работы являются:

изучение устройства ШГНУ;

изучение системы автоматизации скважин, оборудованных ШГН;

выбор СУ.


1. Общие сведения о штанговых глубинных насосных установках


1.1    Актуальность использования штанговых глубинных насосов


Эксплуатация скважин ШГН широко распространена на большей части нефтедобывающих месторождений мира и России, структура фонда нефтяных добывающих скважин показана на рисунке 1.1.

Рисунок 1.1 - Структура фонда нефтяных добывающих скважин по состоянию на 2009 год

Штанговые насосы, которые составляют 41% от общей структуры фонда - традиционно эксплуатируются на низкодебитных скважинах (до 40 т в сутки), суммарная добыча с использованием штанговых глубинных насосов составляет около 15%.

В последнее время добыча нефти с помощью фонтанирующих скважин фактически прекратилась. Многие скважины, пробуренные на нефтеносные пласты, сразу после окончания бурения вводятся в эксплуатацию насосным способом. Непрерывно растет фонд малодебитных скважин, доходит до 3-х т/сут.

Мощность насосного оборудования на них в 4-5 раз превышает необходимую. В настоящее время в стоимости нефти эксплуатационные расходы на электроэнергию и обслуживание энергетического комплекса доходят до 45-50%. Процесс добычи нефти после геологических работ и бурения скважин начинается с выбора оборудования. Средний срок эксплуатации нефтяных скважин около 20 лет. За это время оборудование меняется несколько раз. Это объясняется не столько его физическим износом, сколько изменением дебита нефти. Когда дебит скважины становится менее 100 т/сут/, устанавливается ШГНУ. Есть скважины, на которых сразу после бурения устанавливаются СК и до 75% скважин в России оборудованы ими. Если производительность насоса СК превышает нефтеотдачу скважины, то в настоящее время или меняют СК, или переводят ее в периодический режим работы. Причем кажущаяся экономия электроэнергии и моточасов работы оборудования при периодической эксплуатации скважин на самом деле приводит к увеличению удельного расхода электроэнергии на тонну добытой нефти и к усложнению условий эксплуатации оборудования.

Другие виды насосного оборудования имеют сейчас ограниченное применение.

Рынок ШГНУ характеризует общая отрицательная динамика. Штанговые насосы замещаются на УЭЦН, что особенно ярко выражено в Западной Сибири.

Эта тенденция обуславливается комплексом причин:

в последние годы не было введено ни одного нового крупного месторождения, которое бы оснащалось станками-качалками;

повышение качества российских УЭЦН, распространение их в сегментах, которые являлись прерогативой использования ШГН (малодебитные скважины);

малодебитные скважины и скважины с высокой обводненностью (целевой сегмент для ШГНУ) с падением мировых цен ввиду неэффективности выводятся из эксплуатации;

технологические ограничения: сложность монтажа станков-качалок на новых промыслах в удаленных районах, когда сооружение свайного фундамента дороже самого оборудования;

высокий период наработки на отказ ШГН (при правильной эксплуатации может прослужить 50 лет), что сокращает потребность в их замене;

высокая стоимость оборудования, неразвитость сервиса.

Между тем, в ряде нефтедобывающих регионов (Татарстан и Башкортостан) ШГН не имеют альтернативы, что гарантирует стабильный спрос.

Согласно оценкам Research Techart, по итогам 2009 г. продажи УЭЦН в натуральном выражении увеличились. При этом в стоимостном эквиваленте объем рынка уменьшился на 8%, в первую очередь, ввиду сокращения нефтяными компаниями средств на техническое перевооружение. Одним из следствий стало смещение спроса на более дешевые модели.

Обращает на себя внимание существенное увеличение численности скважин, оснащенных винтовыми насосными установками как с погружным двигателем, так и с поверхностным приводом. Данная тенденция характерна для новых месторождений с высоковязкой нефтью, когда применение УЭЦН нецелесообразно.

В долгосрочной перспективе следует ожидать некоторого сокращения доли УЭЦН и распространения других насосных технологий. Связывается это с тенденциями развития отрасли - ростом обводненности скважин и снижением пластового давления, а также ожидаемой разработкой шельфовых месторождений. В подобных условиях применение УЭЦН нецелесообразно.

1.2    Устройство штанговых глубинных насосных установок


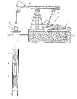
ШГНУ (рисунок 1.2) состоит из наземного и подземного оборудования. Подземное оборудование включает: штанговый скважинный насос со всасывающим клапаном 1 (неподвижный) на нижнем конце цилиндра и нагнетательным клапаном 2 (подвижный) на верхнем конце поршня-плунжера, насосные штанги 3 и трубы.

Кроме того, подземное оборудование может включать различные защитные устройства (газовые и песочные якори, хвостовики), присоединяемые к приемному патрубку ШГН и улучшающие его работу в осложненных условиях (песок, газ).

В наземное оборудование входит станок-качалка, состоящий из электродвигателя 9, кривошипа 7, шатуна 8, балансира 6, устьевого сальника 5, устьевой обвязки и тройника 4.

Отличительная особенность ШГН обстоит в том, что в скважине устанавливают плунжерный (поршневой) насос, который приводится в действие поверхностным приводом посредством колонны штанг.

СК - индивидуальный механический привод нефтяных штанговых скважинных насосов, применяется в районах с умеренным и холодным климатом.

СК сообщает штангам возвратно-поступательное движение, близкое к синусоидальному. СК имеет гибкую канатную подвеску для сочленения с верхним концом полированного штока и откидную или поворотную головку балансира для беспрепятственного прохода спуско-подъемных механизмов (талевого блока, крюка, элеватора) при подземном ремонте.

Балансир качается на поперечной оси, укрепленной в подшипниках, и сочленяется с двумя массивными кривошипами 7 с помощью двух шатунов 8, расположенных по обе стороны редуктора. Кривошипы с подвижными противовесами могут перемещаться относительно оси вращения главного вала редуктора на то или иное расстояние вдоль кривошипов. Противовесы необходимы для уравновешивания СК.

Редуктор с постоянным передаточным числом, маслозаполненный, герметичный имеет трансмиссионный вал, на одном конце которого предусмотрен трансмиссионный шкив, соединенный клиноременной передачей с малым шкивом электродвигателя 9. На другом конце трансмиссионного вала имеется тормозной барабан. Опорный подшипник балансира укреплен на металлической стойке-пирамиде.

Все элементы СК - пирамида, редуктор, электродвигатель - крепятся к единой раме, которая закрепляется на бетонном фундаменте. Кроме того, все СК снабжены тормозным устройством, необходимым для удержания балансира и кривошипов в любом заданном положении. Точка сочленения шатуна с кривошипом может менять свое расстояние относительно центра вращения перестановкой пальца кривошипа в то или иное отверстие, которых для этого предусмотрено несколько. Этим достигается ступенчатое изменение амплитуды качаний балансира, т.е. длины хода штанг.

- всасывающий клапан; 2 - нагнетательный клапан; 3 - насосные штанги;

- тройник; 5 - сальник; 6 - балансир; 7 и 8 - кривошипно-шатунный механизм;

- двигатель

Рисунок 1.2 - Схема ШГНУ

Поскольку редуктор имеет постоянное передаточное число, то изменение частоты качаний достигается только изменением передаточного числа клиноременной трансмиссии и сменой шкива на валу электродвигателя на больший или меньший диаметр.

Промышленностью выпускается большое число СК нормального ряда различных типоразмеров грузоподъемностью на головке балансира от 10 до

кН, в соответствии с широким диапазоном глубин и дебитов скважин, которые приходится оборудовать ШГН.

Типоразмеры СК и их основные параметры регламентируются государственным стандартом.

Штанговый скважинный насос состоит из длинного (2 - 4 м) цилиндра той или иной конструкции. На нижнем конце цилиндра укреплен неподвижный всасывающий клапан, открывающийся при ходе вверх. Цилиндр подвешивается на трубах. В нем перемещается поршень-плунжер, выполненный в виде длинной

(1 - 1,5 м) гладко обработанной трубы, имеющей нагнетательный клапан, также открывающийся вверх. Плунжер подвешивается на штангах. При движении плунжера вверх жидкость через всасывающий клапан под воздействием давления на приеме насоса заполняет внутреннюю полость цилиндра. При ходе плунжера вниз всасывающий клапан закрывается, жидкость под плунжером сжимается и открывает нагнетательный клапан. Таким образом, плунжер с открытым клапаном погружается в жидкость. При очередном ходе вверх нагнетательный клапан под давлением жидкости, находящейся над плунжером, закрывается. Плунжер превращается в поршень и поднимает жидкость на высоту, равную длине хода от 0,6 до 6 м. Накапливающаяся над плунжером жидкость достигает устья скважины и через тройник поступает в нефтесборную сеть.

1.3    Правила безопасности при эксплуатации скважин штанговыми глубинными насосами


Устье скважины должно быть оборудовано арматурой и устройством для герметизации штока.

Обвязка устья периодически фонтанирующей скважины должна позволять выпуск газа из затрубного пространства в выкидную линию через обратный клапан и смену набивки сальника штока при наличии давления в скважине.

До начала ремонтных работ или перед осмотром оборудования периодически работающей скважины с автоматическим, дистанционным или ручным пуском электродвигатель должен отключаться, а на пусковом устройстве вывешивается плакат: «Не включать, работают люди».

На скважинах с автоматическим и дистанционным управлением станков-качалок вблизи пускового устройства на видном месте должны быть укреплены плакаты с надписью «Внимание! Пуск автоматический». Такая надпись должна быть и на пусковом устройстве.

Система замера дебита скважин, пуска, остановки и нагрузок на полированный шток (головку балансира) должны иметь выход на диспетчерский пункт.

Управление скважиной, оборудованной ШГН, осуществляется станцией управления скважиной типа «СУС-01» (и ее модификациями), имеющий ручной, автоматический, дистанционный и программный режим управления. Виды защитных отключений ШГН:

         перегрузка электродвигателя (>70% потребляемой мощности);

         короткое замыкание; снижение напряжения в сети (<70% номинального);

         обрыв фазы;

         обрыв текстропных ремней;

         обрыв штанг;

         неисправность насоса;

         повышение (понижение) давления на устье [1].

2. Система автоматизации скважин, оборудованных ШГН

Автоматизация - закономерный процесс развития общественного производства.

Автоматизация производства на предприятии представляет собой самостоятельную комплексную проблему. К ее решению подталкивает вселяющая страх мировая конкуренция, которая как «удав» сжимает предприятия, понуждая их принимать соответствующие меры. Автоматизация создает возможности для улучшения условий и подъема производительности труда, роста качества продукции, сокращения потребности в рабочей силе и в систематическом повышении прибыли, что позволяет изменить тенденцию развития, сохранить старые и завоевать новые рынки и таким образом вырваться из объятий «удава».

Раньше технические средства позволяли лишь периодически проводить измерения технологических параметров на скважинах операторами при помощи переносных комплектов оборудования, а стационарно установленные на месторождениях современные микропроцессорные контроллеры делают возможным непрерывный автоматический их контроль. Применительно к скважинам, эксплуатируемым ШГН, это означает измерение таких технологических параметров, как динамограмма (зависимость усилия на полированном штоке от перемещения точки подвеса штанг), динамический уровень, ваттметрограмма (зависимость потребляемой мощности от перемещения точки подвеса штанг), влияние газового фактора, давление на устье скважины, суточная производительность скважины и других. При этом функции управления должны обеспечивать дистанционное включение и отключение приводного электродвигателя, аварийное отключение установки, периодический режим эксплуатации, плавное регулирование скорости вращения при помощи преобразователя частоты.

К настоящему времени известен целый ряд разработчиков и производителей контроллеров и станций управления для установок ШГН. Среди зарубежных фирм это Lufkin Automation (США), eProduction Solutions (США), «ABB» (США), Automation Electronics (США), DrSCADA Automation (США), R&M Energy Systems (США), International Automation Resources (США) и SPOC Automation (США). Известны также отечественные разработчики, среди которых можно выделить НПФ «Экос» (Уфа), НПФ «Интек» (Уфа) [2], НПО «Интротест» (Екатеринбург) [3], НПФ «Интеграл +» (Казань) [4], «Шатл» (Казань) [5], ЗАО «Линт» (Казань) [6] и других.

Использование современных интеллектуальных контроллеров обеспечивает решение таких задач, как автоматизация работы СК, оптимизация режимов работы оборудования, оперативное выявление аварийных ситуаций и несоответствия режимов эксплуатации оборудования, оперативная передача информации о состоянии объекта на пульт оператора по системе телемеханики.

Системы телемеханики на сегодняшний день строятся, как правило, с использованием радиоканала. Поэтому типичная СУ включает в себя контроллер, силовой коммутатор для включения и отключения электродвигателя, радиомодем и набор датчиков технологических параметров. Отдельные СУ имеют в своем составе преобразователи частоты для регулирования скорости вращения электродвигателя.

Таким образом, целью создания и внедрения системы автоматизации скважин, эксплуатирующихся механизированными способами является повышение эффективности производства за счёт:

получения максимального объема информации с технологических объектов для решения задач рациональной эксплуатации, оперативного контроля и управления процессами добычи и учета продукции нефтяной скважины;

оптимизации режимов добычи и внутрипромыслового сбора нефти;

повышения достоверности и оперативности контроля состояния технологического оборудования;

внедрения математических методов контроля и управления технологическими процессами и объектами нефтедобычи;

измерения новых параметров (в том числе, дебита эксплуатационных скважин раздельно по нефти, воде и газу);

снижения трудоёмкости управления технологическими процессами нефтедобычи;

замены физически и морально устаревших средств автоматизации;

повышения безопасности производства, улучшения экологической обстановки в нефтегазодобывающем регионе [7].

Управление любым технологическим процессом или объектом в форме ручного или автоматического воздействия возможно лишь при наличии измерительной информации об отдельных параметрах, характеризующих процесс или состояние объекта. Параметры эти весьма своеобразны. К ним относятся электрические (сила тока, напряжение, сопротивление, мощность и другие), механические (сила, момент силы, скорость) и технологические (температура, давление, расход, уровень и другие) параметры, а также параметры, характеризующие свойства и состав веществ (плотность, вязкость, электрическая проводимость, оптические характеристики, количество вещества и т.д.). Измерения параметров осуществляется с помощью самых разнообразных технических средств, обладающих нормированными метрологическими свойствами. Технологические измерения и измерительные приборы используются при управлении (ручном или автоматическом) многими технологическими процессами в различных отраслях народного хозяйства.