6
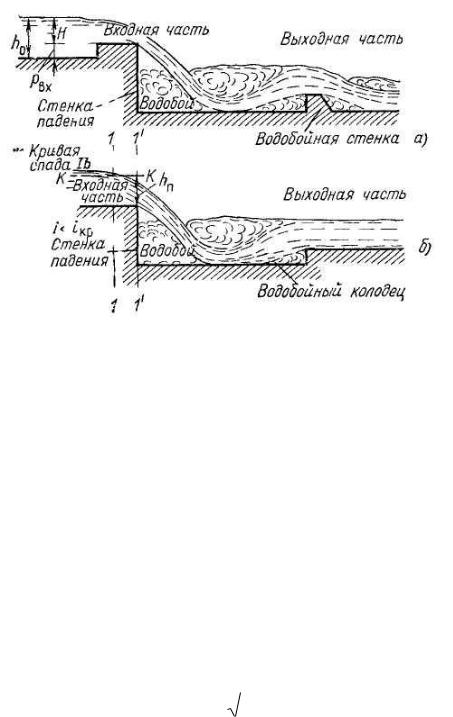
Рисунок 1- Одноступенчатый перепад.
Входная часть перепадов может выполняться в виде водослива с
широким порогом [высота |
порога со стороны подводящего русла |
pвх 0 |
(рис.1, а) или pвх 0 |
(рис. 1,6)], водослива практического |
профиля |
прямолинейного или криволинейного очертания. Поперечное сечение водослива может быть как равно поперечному сечению подводящего русла, так и меньше него. В последнем случае будет боковое сжатие.
Ширина входной части, работающей как водослив, определяется из
формулы расхода водослива
b |
|
|
|
Q |
. (1) |
|
|
|
|
|
|
||
|
|
|
|
H 3/ 2 |
||
п |
m |
2g |
||||
|
|
|
|
o |
|
|
Если входная часть перепада работает как неподтопленный водослив, то
n =1, если входная часть подтоплена, то n <1 и определяется в соответствии с рекомендациями по учету подтопления водосливов. Вопрос о подтоплении входной части решается после определения глубины воды на водобое и сравнения ее с высотой стенки падения со стороны нижнего бьефа перепада.
Высота порога на входе
7
pвх ho H , (2)
где ho - нормальная глубина в подводящем русле.
Очевидно, что при pвх =0 напор H равен глубине в подводящем русле
при равномерном движении ho , a
H |
o |
h |
|
v2 |
/ 2g , (3) |
|
o |
|
o o |
|
где vo - скорость при равномерном движении в этом русле.
Если уклон дна подводящего русла i iкр (спокойное состояние потока)
и порог в подводящем русле отсутствует, то, как известно, устанавливается кривая спада Ib (рис. 1,6).
При отсутствии бокового сжатия на расстоянии 2 2,5 hкр выше ребра стенки падения (в сечении 1-1) глубина равна критической глубине, а
непосредственно над ребром hn 0,7hкр .
Если в подводящем русле i iкр (бурное состояние потока), то глубина при равномерном движении ho на входе в сечение 1-1 равна нормальной в данных условиях. Но ho hкр . При этом на участке 1-1 глубина уменьшается
не более 5 %.
Обычно на подходе к перепадам поток находится в спокойном состоянии.
Установим отношение критической глубины hкр и напора Ho ,
соответствующих данному удельному расходу. При прямоугольном поперечном сечении
hкр 3
q2 / g , (4)
а
Ho q / m
2g 3/ 2 (5)
или
|
|
|
|
8 |
|
|
|
|
h |
/ H |
o |
2 m2 1/ 3 1,26 m2 |
0,33 |
(6) |
|
|
кр |
|
|
|
|
|
|
При 1 и m 0,3 0,55 |
|
|
|
||||
|
|
hкр 0,228 1,124m Ho ; |
(7) |
|
|
||
при 1,1 и тех же значениях m |
|
|
|
||||
|
|
hкр 0,235 1,158m Ho |
(8) |
|
|
||
Часто |
принимаемое в |
расчетах hкр 0,667Ho соответствует |
только |
||||
1, 1 |
и m 0,385 (водослив с широким порогом при отсутствии потерь, |
||||||
=1). |
|
|
|
|
|
|
|
Над ребром стенки падения глубина hn составляет: для водослива |
|||||||
практического профиля |
прямолинейного очертания |
( m 0,4) по |
Н. Н. |
||||
Павловскому |
|
|
|
|
|
|
|
hп 0,6Ho и hп 0,8 0,87 hкр (9)
а для водослива с широким порогом (по М. Д. Чертоусову и Р. Р. Чугаеву)
hп 0,47 0,5 Ho и hп 0,75 0,8 hкр (10)
Движение спокойного потока выше сечения 1-1 будет плавно изменяющимся, а на участке между сечениями 1-1 и 1'-1' резко изменяющимся со значительной кривизной линий тока. Вследствие этого распределение
9
давлений в сечении над ребром стенки падения отличается от гидростатического. При свободном падении струи избыточное давление в нижних точках потока в сечении 1'-1' равно нулю.
Суммарная сила избыточного давления в сечении 1'-1' над ребром стенки падения составит по В. Н. Попову
P k gh (11)
п ц.т.п п
т. е. в 1/ k раз меньше силы избыточного давления покоящейся жидкости при тех же площади n и глубине погружения центра тяжести.
По экспериментальным данным при свободном доступе воздуха под струю и боковых стенках, ограничивающих падающую струю, k =0,333; при истечении струи в атмосферу k =0,2; при отсутствии доступа воздуха под струю k =0.
Для удовлетворительной работы перепада необходим доступ воздуха в подструйное пространство.
Рисунок 2 –Поперечный разрез водослива Рисунок 3 – Поперечный разрез щелевого водослива
Щелевые водосливы на входе. Если ширина входной части рассчитана на пропуск только одного значения расхода Q , то при других расходах в канале будет наблюдаться кривая подкора (увеличение глубин) или кривая спада
(уменьшение глубин). В первом случае скорости будут уменьшаться и в канале может начаться заиление. Увеличение глубин при подпоре приводит к
10
необходимости предусматривать большие запасы высоты бортов канала, чтобы не допустить перелив воды через борта. При спаде, наоборот, скорости воды увеличиваются и может происходить размыв.
В связи с указанными особенностями работы канала для обеспечения движения, близкого к равномерному, проектируют или водослив с изменяемой высотой порога (разборный порог, состоящий из нескольких перегораживающих поток горизонтальных балок, которые по мере необходимости убираются), или водосливы, автоматически поддерживающие равномерное движение в канале при изменении расходов в некотором диапазоне. В общем случае такой водослив должен иметь криволинейное сечение, нормальное к направлению потока (рис. 2). Равномерное движение поддерживается таким водосливом при изменении расходов от Qmax до
Qmin .
Обычно применяют щелевые водосливы с трапецеидальным сечением,
состоящие из одной или нескольких щелей (рис. 3).
Принимая глубину в плоскости щелевого водослива равной 0,8H ,
получим среднюю ширину трапецеидального сечения в этой плоскости
bср b 0,8Hctg , (12)
где - угол наклона откосов трапецеидального сечения водослива.
Чтобы меньше нарушать условия равномерного движения, в данном расчете принимают два промежуточных значения расхода: Q1 Qmax и
Q2 Qmin и назначают их так, чтобы соответствующие им значения нормальных глубин в канале равнялись
h01 h0max 0,25 h0max ho min (13)