Материал: 374

Внимание! Если размещение файла нарушает Ваши авторские права, то обязательно сообщите нам

риалов для ПБВ (дорожного битума, модифицирующей добавки, пластификатора).

Цель лабораторной работы – ознакомить студентов с техническими требованиями к ПБВ и методами определения их физико-механи- ческих свойств, показать преимущества ПБВ по сравнению с битумами.

Лабораторная работа рассчитана на два занятия (8 ч). На первом занятии студенты приготовляют ПБВ разных составов (2 3) и заполняют вяжущими (ПБВ и битумом) формы для испытания.

Процесс получения ПБВ на основе полимеров типа СБС достаточно длительный. Поэтому по указанию преподавателя учебный мастер заранее готовит растворы полимера в пластификаторе.

На втором занятии студенты испытывают ПБВ, битум и анализируют полученные результаты.

Учитывая весьма обширный объем испытаний ПБВ и битума, при проведении лабораторной работы рекомендуется определять следующие основные свойства вяжущих: глубину проникания иглы при температурах 25 и 0 °С, температуру размягчения, температуру хрупкости, растяжимость и эластичность при температуре 25 °С, сцепление с гранитом и мрамором.

Сопоставляя результаты испытаний с техническими требованиями к битуму и ПБВ [8 10], по показателям свойств устанавливают марки вяжущих и анализируют результаты эксперимента. Пример оформления лабораторной работы дан в прил. 1, технические требования к ПБВ – в прил. 2.

8

1. ТЕХНОЛОГИЯ ПРИГОТОВЛЕНИЯ ПОЛИМЕРНО-БИТУМНЫХ ВЯЖУЩИХ

Используемые материалы:

1. Битум нефтяной дорожный одной из марок: БНД 60/90, БН

60/90, БНД 90/130, БН 90/130.

2.Растворы полимера ДСТ в индустриальном масле разной концентрации.

3.Полимерная добавка «Каудест-Д» (улучшенный). Используемые приборы и оборудование:

1.Смеситель лабораторный.

2.Электроплитка.

3.Весы лабораторные.

4.Стакан металлический или фарфоровый вместимостью не менее 600 см3 .

5.Термометр.

6.Шпатель, стеклянная палочка.

1.1. Приготовление полимерно-битумных вяжущих на основе полимера ДСТ

Исследованиями, проведенными в Союздорнии [1], разработана технология приготовления ПБВ и изучены свойства ПБВ различных составов на битумах разных марок. В состав ПБВ входят, % по массе: вязкий дорожный битум – 70…93; полимер ДСТ – 2,0…5,0; пластификатор – 5…25.

Состав ПБВ подбирают в лаборатории следующим образом [1]:

определяют свойства битума, его марку и тип структуры;

назначают содержание ДСТ и пластификатора в вяжущем с учетом свойств битума и требуемой марки ПБВ;

устанавливают концентрацию ДСТ в пластификаторе;

рассчитывают количества битума и раствора ДСТ с учетом требуемого для испытания количества ПБВ;

определяют свойства ПБВ в соответствии с требованиями ГОСТ

Р52056 2003.

При выполнении настоящей лабораторной работы рекомендуется приготовить по 500 г ПБВ трех составов на основе битума марки БНД 60/90 (или БН 60/90) с разным содержанием ДСТ и одина-

9

ковом содержанием пластификатора. По результатам испытания вяжущих установить их марки, изучить зависимость свойств ПБВ от содержания ДСТ и сравнить свойства ПБВ и битума.

Содержание компонентов в ПБВ можно принять: ДСТ – 2,0, 3,5 и 5 %; индустриального масла – 15 % по массе. Тогда содержание битума в каждом составе будет: 83,0, 81,5 и 80,0 % по массе соответственно.

Концентрация С полимера ДСТ в масле:

для 1-го состава С1=2∙100/17=11,8 %;

для 2-го состава С2=3,5∙100/18,5=18,5 %;

для 3-го состава С3=5∙100/20=25 %.

Требуемое количество компонентов для приготовления ПБВ трех составов приведено в табл. 1.

 

 

 

 

 

 

 

 

Таблица 1

Компоненты ПБВ

 

 

Содержание компонентов в составе

1

 

 

2

 

3

 

%

 

г

%

 

г

%

 

г

Битум БНД 60/90

83

 

415

81,5

 

407,5

80

 

400

 

 

 

 

 

 

 

 

 

 

Раствор ДСТ

17

 

85

18,5

 

92,5

20

 

100

В том числе ДСТ-30-01

2

 

10

3,5

 

17,5

5

 

25

Масло И-40А

15

 

75

15

 

75

15

 

75

Итого

100

 

500

100

 

500

100

 

500

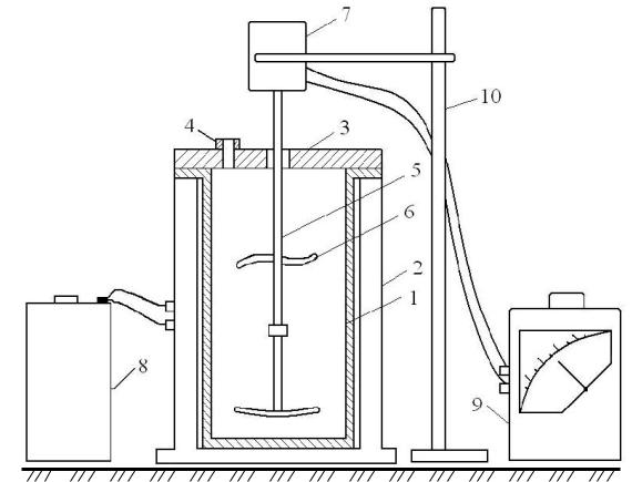
Полимерно-битумное вяжущее получают в лабораторном смесителе с электрообогревом и перемешивающим устройством – пропеллерной мешалкой (рисунок).

Рабочая емкость смесителя (мешалки) имеет объем 1 л. На валу мешалки установлено три пары винтовых лопастей, которые при вращении создают турбулентное перемещение жидкости. Лопасти установлены под углом 90° со смежными парами. Число оборотов мешалки регулируется и составляет до 500 об/мин.

Полимерно-битумное вяжущее получают в такой последовательности.

В разогретую емкость смесителя заливают обезвоженный и нагретый до рабочей температуры вязкий битум, при перемешивании нагревают его до 150…160 °С, а затем дозируют в битум приготовленный ранее раствор ДСТ в масле. Раствор вводят нагретым до 130…150 °С или при комнатной температуре. Битум с раствором интенсивно перемешивают до однородного состояния в течение 30…

10

40 мин при температуре 150…160 °С. Готовое ПБВ выгружают из смесителя и проверяют его однородность по п. 2.1. Однородное ПБВ заливают в формы для дальнейших испытаний.

Лабораторный смеситель:

1 – емкость смесителя; 2 – обогревательная рубашка; 3 – крышка; 4 – штуцер; 5 – лопастной вал; 6 – лопасти; 7 – электродвигатель; 8 – реостат; 9 – вольтметр; 10 – штатив

1.2. Приготовление полимерно-битумного вяжущего на основе полимера « Каудест-Д»

Полимерно-битумное вяжущее получают введением в исходный битум 2. ..6 % по массе полимера «Каудест-Д» (улучшенный) [10].

При выполнении лабораторной работы предлагается изучить зависимость физико-механических свойств ПБВ от количества вводимой добавки и установить ее оптимальную дозировку.

За оптимальную дозировку «Каудест-Д» принимается его минимальное количество, при котором ПБВ требуемой марки удовлетворяет техническим условиям (прил. 2).

11

Следует приготовить по 500 г ПБВ на основе битума марки БНД 60/90 и полимера «Каудест-Д» (улучшенный). Содержание полимерной добавки в вяжущем принять равным 2, 4 и 6 % по массе. Составы ПБВ приведены в табл. 2.

 

 

 

 

 

 

 

 

Таблица 2

Компоненты ПБВ

 

 

Содержание компонентов в составе

1

 

 

2

 

3

 

%

 

г

%

 

г

%

 

г

Битум БНД 60/90

98

 

490

96

 

480

94

 

470

«Каудест-Д»

2

 

10

4

 

20

6

 

30

Итого

100

 

500

100

 

500

100

 

500

Полимерно-битумное вяжущее получают в лабораторном смесителе следующим образом. Сначала в подогретую рабочую емкость смесителя заливают обезвоженный и нагретый до рабочей (для данной марки) температуры битум вязкий дорожный, а затем вводят в

холодном виде «Каудест-Д». Смесь перемешивают до однородного состояния при температуре 130…150 °С в течение 30…40 мин. Критерием готовности ПБВ является его однородность, определяемая по п. 2.1. Готовое ПБВ выгружают из смесителя и заливают в формы для дальнейших испытаний.

2. МЕТОДЫ ИСПЫТАНИЯ ПОЛИМЕРНО-БИТУМНЫХ ВЯЖУЩИХ

Качество ПБВ устанавливают по стандартным методам, принятым для оценки свойств вязких дорожных битумов, а также определяют однородность и эластичность [7, 9, 1115].

Перед испытанием ПБВ оценивают его однородность. Если проба однородна, проводят дальнейшие испытания. Требования к показателям свойств ПБВ приведены в прил. 2.

2.1. Метод определения однородности

Сущность метода заключается в определении однородности ПБВ визуально с помощью стеклянной палочки [9].

Пробу ПБВ массой 0,5 кг отбирают в фарфоровый стакан вместимостью не менее 600 см3. Если проба ПБВ хранилась при температуре ниже температуры размягчения ПБВ, то перед испытанием ее следует

12

Смотрите также:

ATT00373
Тимпанопластика