Материал: 2015 [Тынчеров] Основы автоматизации ТПНП

Внимание! Если размещение файла нарушает Ваши авторские права, то обязательно сообщите нам

нечном итоге сводится к измерению массы, длины и времени. Вышеизложенное позволяет сформулировать следующее определение.

Таким образом, поршневой манометр — это манометр, в котором действующее на поршень измеряемое давление преобразуется в силу и определяется по значению силы, необходимой для ее уравновешивания. В наиболее распространенных поршневых манометрах давление уравновешивается весом грузов. Такие манометры называ-

ются грузопоршневыми.

Одно из обязательных условий, обеспечивающих возможность выполнения измерения — сохранение постоянства измеряемого давления при его измерении. В жидкостно-поршневых манометрах это достигается уравновешиванием измеряемого давления гидростатическим давлением столба жидкости. Например, в колокольном манометре столб образуется в кольцевом пространстве между боковыми поверхностями колокола и сосуда, в который залита разделительная жидкость (гидростатический затвор). В отличие от этого в поршневых манометрах постоянство давления в измерительной камере поддерживается благодаря гидравлическому сопротивлению протекания жидкости через зазор между поршнем и цилиндром (гидродинамический затвор). При этом ввиду малости зазора (1–2 мкм) гидравлическое сопротивление позволяет поддерживать постоянство давления с допускаемыми отклонениями. Не обеспечивая полную герметичность, гидродинамический затвор обладает очень важным преимуществом — измеряемое давление практически не влияет на размеры прибора, в то время как во всех жидкостных манометрах высота столба жидкости, необходимая для уравновешивания, прямо пропорциональна измеряемому давлению.

Измерительные системы поршневых манометров могут быть классифицированы по различным признакам: форме и конструкции поршневых пар, уравновешенности собственного веса поршня и способам его уравновешивания, видам измеряемой среды, способам уравновешивания измеряемого давления, назначению поршневого манометра, виду измеряемого давления и пр.

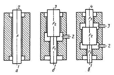
Основные конструктивные формы цилиндрических поршневых пар, представленные на рисунке 4.30, позволяют осуществить преобразование измеряемого давления в силу или в давление другого назначения.

Различные формы поршневых пар при их применении в поршневых манометрах для измерения различных видов давления имеют свои преимущества и недостатки.

При измерении избыточного давления наиболее предпочтитель-

ны одноступенчатые поршневые пары (рис. 4.30, а), которые обес-

печивают максимальную конструктивную простоту манометров и технологичность их изготовления.

Рис. 4.30 — Формы цилиндрических поршневых пар

При этом масса грузов, которые, как правило, применяются для уравновешивания измеряемого давления, при измерении избыточного давления (рабс > ратм) прилагается непосредственно к верхнему торцу 2 поршня; а при измерении отрицательного избыточного давления (рабс < ратм) к нижнему торцу 1 поршня. На этом принципе основаны образцовые и эталонные манометры с верхними диапазонами измерений от 40 кПа до 250 МПа, а в некоторых случаях до 600 МПа.

При измерении абсолютного давления и разности применение одноступенчатой поршневой пары приводит к существенному усложнению конструкции поршневого манометра и методики выполнения измерений. Так, при измерении абсолютного давления пространство над верхним торцом 2 поршня должно быть вакуумировано, что приводит к необходимости герметизации верхней части прибора, а это существенно усложняет процесс наложения уравновешивающих грузов при измерении давления. В данном случае более предпочтительно применение трехступенчатой поршневой пары

(рис. 4.30, в), которая позволяет подводить измеряемое и опорное давления непосредственно в замкнутые измерительные камеры 2 и 3.

При этом обеспечивается свободный доступ к верхнему торцу 4 поршня при наложении уравновешивающихся грузов.

Двухступенчатые (дифференциальные) поршневые пары (рис.

4.30, б) наиболее часто применяются для многократного уменьшения измеряемого давления при измерении высоких избыточных давлений или увеличения измеряемого давления при измерении низких давлений.

Показания поршневых манометров, как и любых других приборов, зависят от условий, в которых проводятся измерения. Поэтому, несмотря на то, что поршневые манометры являются наиболее стабильными по сравнению с манометрами других типов, в их показания при измерениях высокой точности необходимо вводить соответствующие поправки, учитывающие влияние условий измерений. К ним относятся: влияние температуры окружающей среды, деформации поршня и цилиндра под действием измеряемого давления, а для поршневых манометров, в которых измеряемое давление определяется по весу уравновешивающих его грузов, необходимо учитывать местное ускорение свободного падения и потерю массы грузов в воздухе.

Перспективы развития поршневых манометров тесно связаны с общим развитием науки и техники. Здесь, в первую очередь, следует отметить достижения в создании новых материалов поршневых пар, повышающих точность их изготовления, прочностные характеристики и износостойкость, а также достижения в развитии микроэлектроники, представляющие новые возможности автоматизации поршневых манометров.

Повышение качества изготовления поршневых пар — одна из важнейших задач в развитии поршневой манометрии. Применение в качестве материалов для поршневых пар сверхтвердых сплавов на основе карбида вольфрама, прочностные характеристики которых (твердость, модуль упругости) существенно выше, чем у обычно применяемых легированных сталей, а температурный коэффициент линейного расширения ниже, позволяет соответственно снизить влияние измеряемого давления и температуры на постоянство эффективной площади поршня и на ее стабильность в период эксплуатации манометра.

Деформационные манометры. По мере развития промышлен-

ности, особенно в связи с появлением паровых машин и железных

дорог, потребовались более удобные, чем жидкостные манометры, приборы.

Первый деформационный манометр с трубчатым чувствительным элементом был изобретен случайно. Рабочий при изготовлении змеевика для дистилляционного аппарата сплющил поперечное сечение цилиндрической трубки, изогнутой по спирали. Тогда, чтобы восстановить форму трубки, один конец ее заглушили, а в другой конец насосом дали давление воды. При этом часть трубки с деформированным сечением приняла цилиндрическую форму, а спираль на этом участке разогнулась. Этот эффект был использован немецким инженером Шинцем, который в 1845 г. применил трубчатый чувствительный элемент для измерения давления.

Простота и компактность деформационных манометров, возможность их применения в различных условиях эксплуатации очень быстро поставили их на первое место в технике измерения давления практически во всех отраслях народного хозяйства.

Диапазон измерений деформационных манометров охватывает почти 10 порядков, простираясь от 10 Па (1 мм вод. ст.) до 1–2 ГПа (более 10000 кгс/см2). При этом достигается высокая точность измерений, в отдельных случаях погрешности измерений не превышают

0,02–0,05%.

Основные принципы преобразования давления деформационным манометром. Принципиальное отличие деформационных манометров от жидкостных и поршневых состоит в применении в качестве первичного преобразователя давления упругого чувствительного элемента (УЧЭ). Чувствительный элемент, воспринимающий измеряемое давление, представляет собой упругую оболочку, которая обычно выполняется в форме тела вращения, причем толщина стенки оболочки существенно меньше ее внешних размеров. Под действием измеряемого давления упругая оболочка деформируется так, что в любой точке оболочки возникают напряжения, уравновешивающие действующее на нее давление.

Понятие «деформационный манометр» в общем виде может быть сформулировано следующим образом. Деформационный манометр — манометр, в котором измеряемое давление, действующее на упругую оболочку УЧЭ, уравновешивается напряжениями, которые возникают в материале упругой оболочки. Таким образом, УЧЭ преобразует давление, являющееся входной величиной, в выходную величину, несущую измерительную информацию о значении давления.

Для УЧЭ естественно выбрать в качестве выходной величины в зависимости от принципа действия деформационного манометра: перемещение заданной точки УЧЭ; напряжение в материале заданной точки и усилие, развиваемое УЧЭ под действием давления.

Выбор того или иного выходного сигнала УЧЭ определяет способы его дальнейшего преобразования для получения результатов измерения давления, а следовательно, и принцип действия деформационного манометра. В технике измерения давления нашли применение два основных метода: метод прямого преобразования и метод уравновешивающего преобразования (рис. 4.31).

По методу прямого преобразования (рис. 4.31, а) все преобразования информации о значении давления проводятся в направлении от УЧЭ через посредство промежуточных преобразователей П1, П2, …, Пn к устройству И, представляющему результаты измерений давления в требуемой форме. При этом суммарная погрешность преобразования определяется погрешностями всех преобразователей, входящих в измерительный канал.

Рис. 4.31 — Методы измерения давления

Метод уравновешивающего преобразования (рис. 4.31, б) ха-

рактеризуется тем, что используются две цепи преобразователей: цепь прямого преобразования, состоящая из цепи промежуточных преобразователи П1, П2,…, Пn, выходной сигнал которой Увых поступает на указатель результата измерений И и одновременно на цепь обратного преобразования, состоящей из преобразователя ОП. Метод уравновешивания состоит в том, что усилие N, развиваемое УЧЭ, уравновешивается усилием Nоп, создаваемым обратным преобразователем ОП выходного сигнала Iвых цепи прямого преобразования. Поэтому на вход последней поступает лишь отклонение заданной точки