Колошниковый газ проходит последовательно три ступени очистки – грубую, полутонкую и тонкую. В агрегатах каждой ступени удаётся уловить пыль определённых размеров и свойств.
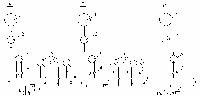
С развитием доменного производства изменяются и совершенствуются агрегаты всех ступеней очистки. Современные схемы газоочисток, распространённые в России, представлены на рис. 2.
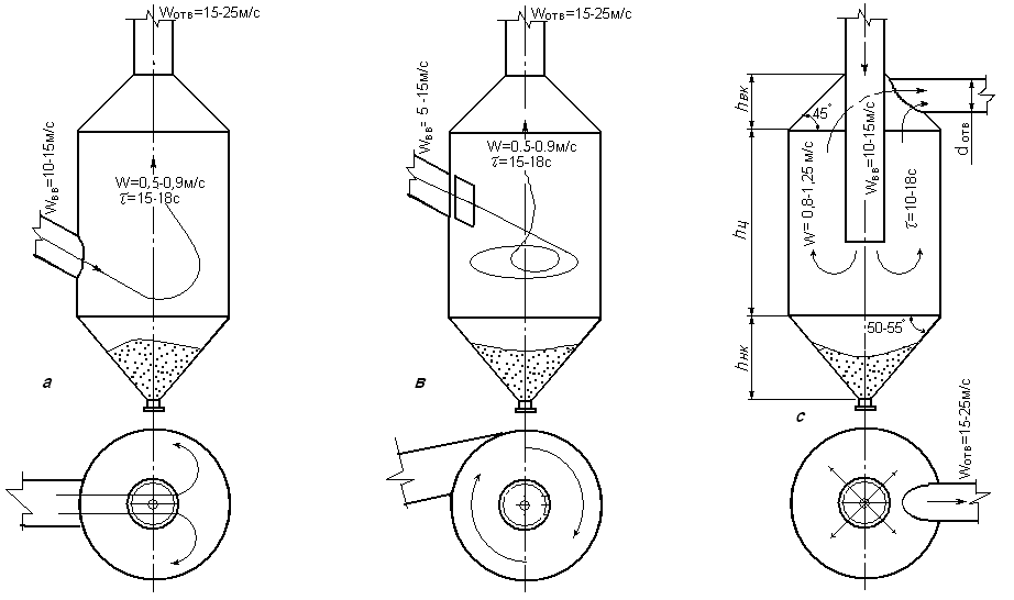
Для грубой очистки газа используются сухие пылеуловители инерционного типа, отличающиеся способом подвода газа (рис.3). Процесс улавливания пыли в них основан на использовании силы тяжести, инерционных и центробежных сил. Раньше предусматривали не меньше двух последовательно установленных сухих пылеуловителей – первичный и вторичный. При этом в качестве первичного пылеуловителя использовали циклон. С переходом на работу с повышенным давлением колошникового газа и с улучшением подготовки железорудного сырья вынос пыли существенно сократился. Поэтому ещё в СССР при строительстве новых доменных печей, отказались от тандемов из первичного и вторичного пылеуловителей. В настоящее время интерес к ним повысился, так как степень очистки газа в них достигает 95% [7].
Полутонкая очистка осуществляется в скрубберах и трубах – распылителях. В них осаждаются самые мелкие частицы пыли.
Тонкой очистке газ подвергается в электрических и металлотканевых фильтрах; на старых печах ещё используются дезинтеграторы. С переводом доменных печей на работу с повышенным давлением газа под колошником в схеме газоочисток, как известно, появился новый агрегат – дроссельная группа. Выполняя свои основные функции по повышению и поддержанию постоянного давления колошникового газа, она оказалась очень эффективным агрегатом для тонкой очистки его.
При давлении газа под колошником более 1,0 ати основными агрегатами для полутонкой и тонкой очистки газа и охлаждения его стали скрубберы высокого давления, трубы-распылители и дроссельные группы. При отлаженной технологии такие довольно компактные схемы мокрой газоочистки обеспечивали требуемое обеспыливание. Реже стали применять электрофильтры.

Рисунок 2 - Современные распространённые схемы газоочисток:
1-доменная печь; 2-пылеуловитель; 3-скруббер; 4-труба-распылитель; 5-электрофильтр; 6-отсекающее устройство; 7-дроссельная группа; 8-газорасширительная турбина; 9-генератор;
10-коллектор чистого газа; 11-водоотделитель
Рисунок
3 - Схемы сухих пылеуловителей инерционного
типа
а – с радиальным вводом; б – с тангенциальным вводом; с – с центральным (осевым) вводом
Рисунок
4 - Схема цепи
аппаратов газоочистки (обозначения в
тексте)
Строительство доменных печей, работающих с давлением газа под колошником более 2,0 ати, выдвинуло проблему утилизации этого давления с использованием газотурбинных расширительных станций. Применение последних повышает требования к очистке доменного газа и заставляет снова включать электрофильтры в схему газоочисток.
Для более широкого использования газотурбинных расширительных станций целесообразна сухая очистка газа. Разработка её надёжной схемы – одна из важных задач [8]. Перспективным считается использование для сухой тонкой очистки газа металлотканевых, тканевых фильтров [9], вихревых пылеуловителей [10].
Работа агрегатов для очистки газа характеризуется коэффициентом осаждения пыли (), равным отношению количества уловленной пыли к количеству её в газе до очистки. Величина её в сухих пылеуловителях зависит от конструкции их, крупности выносимой пыли и составляет 0,5 – 0,8. Меньшие значения (0,5-0,6) характерны для пылеуловителей с центральным (осевым) вводом, большие (0,7-0,8) для пылеуловителей с тангенциальным подводом газа. Однако первые получили широкое распространение как более удобные в конструктивном отношении.
В агрегатах мокрой очистки коэффициент осаждения пыли достигает: 0,8-0,9 – в скрубберах, 0,88 – 0,9 - в трубах-распылителях, 0,95 – в дроссельных группах.
Наиболее распространённая схема комплекса газоочистных сооружений представлена на рис. 4.
Газ из доменной печи по вертикальным и нисходящим газоотводам направляется в сухой пылеуловитель 2 для грубой очистки. Скорость ввода его через центральную трубу достигает 10-15 м/с . В результате изменения направления движения и резкого снижения скорости газа до 0,8-1,2 м/с крупная и тяжёлая пыль, находящаяся в газе во взвешенном состоянии, под действием сил тяжести и инерции осаждается в нижней конической части пылеуловителя. Сухие пылеуловители имеют диаметр до 12-17 м, высоту цилиндрической части до 20 м. Время пребывания газа в них составляет 10-18 с. Обычно диаметр пылеуловителя определяют по скорости газового потока, а высоту цилиндрической части – по времени пребывания газа в нём.
Из сухого пылеуловителя газ по газопроводу грязного газа 3 подаётся в скруббер 4. Во избежание осаждения пыли скорость газа в газопроводе должна быть не менее 15 м/с.
Внутренняя поверхность газоотводов, пылеуловителя и газовых трактов до скруббера футеруется шамотными изделиями толщиной слоя футеровки 115-230 мм.
Скруббер представляет собой цилиндр диаметром до 8,5 м, высотой до 35 м. В нём осуществляется улавливание относительно крупной и легкосмачиваемой пыли, охлаждение газа до температуры, необходимой при последующей его очистке.
В основу скрубберного процесса положен принцип противотока – снизу вверх движется газ, сверху вниз – вода, распыливаемая специальными форсунками, расположенными в несколько рядов. Равномерность распределения газа и воды по сечению скруббера ранее достигалась устройством насадок из деревянных брусьев. В настоящее время всё более широкое применение находят безнасадочные скрубберы.
Время пребывания газа в скруббере составляет 10-20 с, скорость движения его – 1,2-3 м/с. Температура газа по высоте скруббера снижается по S-образной кривой [11] и на выходе не превышает 40-65 0С.
Требуемый уровень шламовой воды в нижней конической части скруббера поддерживается мотыльковым клапаном, работающим совместно с поплавковым регулирующим устройством.
Дальнейшая очистка газа осуществляется в трубах–распылителях 5 и дроссельной группе 6. Высокие до 150 м/с в трубе-распылителе и до 300 м/с [5] в дроссельной группе скорости газа, создаваемые в этих агрегатах, способствуют, при соударениях частиц друг с другом, каплями воды и стенками, разрушению газовых оболочек на частицах пыли, смачиванию и коагуляции этих частиц.
Чистый газ после водоотделителя 8, где улавливаются капли воды, поступает в коллектор чистого газа 9.
Суммарный расход воды во всех аппаратах мокрой очистки составляет 2,0-4,5 м3 на 1000 м3 газа.
Вариант 2
Давление газа на колошнике, ати 2,2
Температура колошникового газа, 0С 130
Температура горячего дутья, 0С 1200
Содержание О2 в дутье, % 29
Выход газа, нм3/т чугуна 2050
Полезный объём печи, м3 2700
КИПО 0,40
Производительность печи, т/сут. 6750
Расход на тонну чугуна, кг/т: кокса 443
агломерата 1724
Содержание железа в агломерате, % 56
Содержание железа в окатышах 63
В соответствии с данными А.Н. Рамма о примерном выносе из печи компонентов шихты (см стр. 4,5) будет вынесено:
частиц
кокса -

агломерата
-


Вынос пыли (уловленной в сухом пылеуловителе) составит
17,24+1,10=18,34 кг. Если принять коэффициент осаждения пыли в сухом пылеуловителе = 0,6, то общий вынос её на тонну чугуна и запылённость газа составит:


Средний выход колошникового газа за секунду V0 определяем по относительному выходу его на тонну чугуна, взятому из расчёта материального баланса плавки и суточной производительности печи
(4.1)
где Vг – относительный выход газа, нм3/т;
П – производительность печи, т/сут.;
1440*60 – количество секунд в сутках

Расчёт ведём, взяв за основу увеличенный на 20% выход газа с возможной интенсификацией процесса в будущем,

Если материальный баланс доменной плавки не составлялся, то количество газов, выходящих из доменной печи за секунду, нужно рассчитать приближённо по балансу азота в дутье и колошниковом газе для печи, работающей в условиях, близких к проектным, используя формулу
Vо
= Jvд*Vп*
(4.2)
Vо
= 1375*2700*
где Jvд - индекс интенсивности плавки, выраженный количеством дутья, подаваемым в печь на 1м3 полезного объёма, нм3/м3 *мин;
Vп – полезный объём печи, м3
N2 – содержание азота в дутье (100-O2), %;
СО2, СО, Н2 – содержание соответствующего компонента в колошниковом газе, %
При интенсивной работе печи на подготовленной шихте, обычном атмосферном дутье, Jvд достигает 1,8-2,0 нм3/(м3 *мин). В случае обогащения дутья кислородом значение Jvд корректируется с использованием формулы
Jvд
=
нм3/(м3
*мин), (4.3)
где 21 и 29 - содержание кислорода в атмосферном и обогащённом дутье, %.
Принимаем следующую схему очистки газа (см. рис. 4): пылеуловитель с центральным вводом – скруббер – трубы-распылители – дроссельная группа –водоотделитель – коллектор чистого газа. При коэффициентах осаждения пыли: в пылеуловителе (п ) – 0,6, скруббере (с) – 0,88, трубах-распылителях (т) – 0,9 и дроссельной группе (д) – 0,95 запылённость газа после очистки составит
14,82*(1-0,6) * (1-0,88) *(1-0,9) * (1-0,95) = 14,82* 0,4 * 0,12 * 0,1 * 0,05 =0,00356 г/нм3
или 3,56 мг/нм3, что ниже допустимого.
Принимаем второй вариант сети газоотводов.
Суммарное сечение четырёх вертикальных участков газоотводов (Sв) в пределах копра выбираем, используя соотношение
Sв = (0,25~0,3)*Sк=0,3*50,2=15,07 м2 (4.4)
где Sк – площадь сечения колошника, м2.
Принимая Sв = 0,3 Sк, получим при диаметре колошника
dк= 8 м


Тогда сечение и диаметр в свету одного вертикального газоотвода составит



Принимаем, что газоотводы будут изготавливаться из листовой низколегированной стали марки 15Г2СФ, толщиной 8 мм. Тогда, при толщине футеровки 115 мм и зазоре между кладкой и стенкой 2 мм, наружный диаметр вертикального газоотвода будет равен
dн =2,18+2(0,008+0,002+0,115) = 2,43 м.
Такой же диаметр имеют наклонные участки газоотводов, отходящих от купола доменной печи. Если длина образующей купола не обеспечивает вписывание газоотвода, необходимо увеличить либо высоту купола, либо число наклонных участков до 6-8 с соответствующим уменьшением сечения в свету наклонного участка газоотводов.
Следует заметить, что в месте примыкания к куполу сечения газоотводов делают овальными, с большой осью в горизонтальной плоскости. Суммарное сечение доводят до (0,4-0,5) Sк . Но, учитывая, что малая ось овала равна диаметру наклонного участка газоотводов, отмеченное выше остаётся справедливым.
Длина образующей купола доменной печи 2000 м3 составляет 2.75 м, следовательно обеспечивается вписывание 4 наклонных газоотводов наружным диаметром 2.27 м каждый.
Суммарное сечение двух нисходящих газоотводов также выбираем в зависимости от площади поперечного сечения колошника
Sнис =(0,2~0,25)*Sк=0,2*50,2=10,04
Принимая Sнис = 0,2Sк, получили при dк = 8 м
Sнис = 0,2*3,14*82/4 =10,04м2.
Тогда сечение и диаметр в свету одного нисходящего газоотвода составит
Sнис =10,04/2 = 5,02 м2.

Наружный диаметр нисходящего газоотвода при прежней толщине листа и кладки будет равен
Dнис = 2,52+2*(0,008+0,002+0,115) = 2,77м.