Федеральное государственное бюджетное образовательное учреждение
высшего образования
(ФГБОУ ВО «МГТУ им. Г.И. Носова»)
Институт металлургии, машиностроения и материалообработки
Кафедра металлургии и химических технологий
по дисциплине "Эксплуатация доменных печей"
по теме : "Расчет агрегатов газоочистки доменной печи"
Исполнитель:
Руководитель:
Работа допущена к защите «_____»_____________2020______________________
Работа защищена «______»______2020___с оценкой_____________________
Магнитогорск
2020
Содержание
1 Введение 3
2 Колошниковый газ 4
3 Отвод и очистка колошникового газа 7
3.1 Отвод газа из доменной печи 7
3.2 Очистка колошникового газа 10
4 Пример выбора схемы и расчёта основных
устройств для отвода и очистки доменного газа 15
4.1 Исходные данные 15
4.2 Выбор схемы газоочистки 16
4.3 Определение размеров газоотводов 17
4.4 Расчёт максимального размера частиц, выносимых
Газовым потоком из доменной печи 18
4.5 Расчёт сухого пылеуловителя 21
4.6 Расчёт скруббера 24
СПИСОК ИСПОЛЬЗОВАННЫХ ИСТОЧНИКОВ 28
На современном этапе развития науки и техники большое внимание уделяется комплексному использованию природных ресурсов, и особенно топлива.
В чёрной металлургии основным источником энергии является кокс, доля которого в общем потреблении энергии достигает 60%.
В условиях доменного процесса энергия кокса не может быть усвоена полностью, так как часть тепла, выделяющегося при горении кокса у фурм, и углерода, в виде его окиси, уносятся из печи колошниковым газом. Коэффициент использования тепловой энергии углерода в доменных печах не превышает 65% [1]. Возможно некоторое увеличение его при возврате к равномерному распределению материалов на колошнике, но прирост будет небольшим в связи с тем, что при 800-900 0С состав газа приближается к равновесному. Поэтому весь доменный газ, содержащий заметные количества горючих составляющих, стремятся улавливать и использовать в качестве газообразного топлива, включая тот, которым заполняется межконусное пространство.
Применение колошникового газа невозможно без очистки его от выносимой из печи пыли. Поэтому выбор схемы, агрегатов газоочистки и определение их основных размеров занимают большое место при проектировании комплекса доменной печи.
Данное пособие, раскрывая тенденции в развитии схем газоочисток, позволит определить ориентировочные размеры основных агрегатов. В основу его положены пособия по расчёту газоочистки [2,3], ранее разработанные на кафедре металлургии чугуна Магнитогорского горно-металлургического института. Дополнительно включены расчёты размеров газоотводов, максимального диаметра частиц кокса и агломерата, выносимых газом из доменной печи на различных этапах движения его.
В топливном балансе металлургического завода доменный (колошниковый) газ покрывает до 25% энергетических нужд завода.
Теплотворная способность колошникового газа, обычно не превышающая 1000 ккал/нм3, зависит от условий работы печи и уровня технологии. В результате снижения удельного расхода кокса, который наиболее полно характеризует тепловую работу печи и степень использования энергии газов, падает и калорийность колошникового газа. Обогащение дутья кислородом, вдувание топливных добавок способствуют повышению или, по крайней мере, стабилизации её значения
Газ, отводимый из печи сетью газоотводов, содержит значительное количество пыли: 5-10 г/нм3 – при работе печей на грохоченном стабилизированном железорудном сырье с давлением газа под колошником более 1,5 ати; 20-60 г/нм3 – при давлении газа под колошником менее 1,5 ати и содержании фракции – 5 мм в агломерате 10-20%; до 100 г/нм3 и более – при работе печей на пылеватых рудах.
Отмеченным выше запылённостям газа соответствуют следующие выносы пыли на тонну выплавляемого чугуна: 6-12, 20-72, до 120 кг/т и более, обычно фигурирующие в отчётах о работе печей и представляющие средние значения отношения веса уловленной за сутки в сухом пылеуловителе пыли к суточной производительности.
Главными факторами, определяющими запылённость газа, являются динамический напор его на колошнике, содержание мелочи в железорудных материалах и способности их к разрушению при восстановлении.
Колошниковая пыль состоит из мелких частиц материалов, составляющих шихту (агломерата, окатышей, кокса …), а также сконденсированных и затвердевших частиц сернистых, цианистых и других соединений.
При работе на обычном давлении газа под колошником и нормальной интенсивности плавки вынос меняется в следующих пределах [1], %:
-кокс, известняк 0,5-1,0
-агломерат, окатыши, кусковые руды 2-5
-рядовые руды в зависимости от гранулометрического
состава 5-10
С повышением давления газа на колошнике до 1,0-2,5 ати вынос уменьшается в 2-4 раза [1].
Содержание мелких фракций (-0,315мм) в пыли для современных условий плавки достигает иногда 90% (табл.1).
Таблица 1- Гранулометрический состав колошниковой пыли (%)
доменных печей некоторых заводов [3]
|
Размеры зерна, мм |
ММК |
ЧМЗ |
Донецкий металлургический завод |
Завод им. Ильича |
|
0,4-1,6 0,315-0 0,2-0,315 0,16-0,2 0,1-0,16 0,063-0,1 0,5-0,63 -0,5 |
4,9 4,9 19,45 11,2 29,1 19,6 3,9 6,95 |
9,0 9,7 1,2 7,1 34,6 24,1 4,2 10,1 |
5,2 5,3 19,7 11,2 29,2 17,5 4,7 6,7 |
25,6 12,4 25,7 8,7 15,4 7,5 1,24 3,46 |
С переходом на повышенное давление газа под колошником и более подготовленную шихту доля частиц железорудных составляющих в пыли уменьшается, а кокса – увеличивается. Содержание углерода в колошниковой пыли из сухого пылеуловителя в настоящее время достигает 16% и более (табл.2).
Таблица 2 - Химический состав (%) колошниковой пыли доменных
печей некоторых заводов [3]
|
Составляющие |
ММК |
Донецкий металлургический завод |
Завод им. Ильича |
|
FeO Fe2O3 SiO2 CaO Al2O3 C |
20.53 42.3 11.04 7.4 2.9 13.53 |
22.94 39.672 9.61 6.65 3.26 15.5 |
9.5 49.124 11.864 7.63 2.26 16.591 |
Отмечается [4] увеличение содержания углерода в колошниковой пыли печей, работающих с повышенными расходами природного газа. Объясняется это не только выносом более крупных частиц кокса с ростом температуры и выхода колошникового газа, но и усилением разрушения кокса в результате увеличения скорости газификации его, повышающего пористость и снижающего прочность кусков.
Наличие пыли в газе затрудняет его транспортировку и применение в качестве топлива.
До 60% всего очищенного доменного газа сжигается в воздухонагревателях и коксовых батареях. Поэтому эти потребители определяют требования к очистке и охлаждению его. Запылённость доменного газа, используемого в качестве топлива, не должна превышать 0,005-0,01 г/м3, а температура его не должна быть выше 35оС [5]. При использовании газорасширительных турбин в схемах газоочистки возникает опасность обледенения лопаток ротора в результате снижения температуры газа при резком увеличении его объёма. Поэтому перед подачей в турбину газ специально подогревают в нагревателях поверхностного типа с таким расчётом, чтобы на выходе из турбины температура его составляла 10-30оС [5].
Отвод колошникового газа из доменной печи и распределение его по аппаратам газоочистки осуществляется газопроводами. Различают газопроводы грязного газа – от колошника до скруббера, газопроводы получистого газа – от скруббера до последнего аппарата газоочистки, и газопроводы чистого газа – от газоочистки до потребителей.
Газопроводы грязного газа от колошника до сухого пылеуловителя называют газоотводами. Они служат для отвода газа из пространства печи над поверхностью засыпи и транспортировки его к сухим пылеуловителям.
Газоотводы должны обеспечивать равномерный отвод газа по окружности и уменьшение выноса пыли. В связи с этим отверстия для врезки газоотводов располагают равномерно по куполу печи, а суммарная площадь их либо должна обеспечивать определённую скорость отходящих газов, либо составлять определённую долю от площади сечения колошника.
Перепад давления газа в газоотводах не играет существенной роли, так как современные печи работают с повышенным давлением газа под колошником.
При подходе к сухим пылеуловителям количество газоотводов обычно уменьшается в соответствии с типом и количеством применяемых пылеуловителей. Поэтому пространственное расположение газоотводов, их количество от купола до пылеуловителя (так называемая сеть газоотводов) могут быть различными.
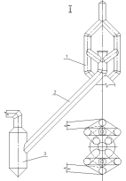
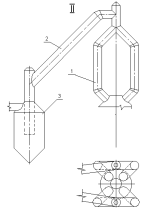
В настоящее время встречаются два варианта сети газоотводов: первый – при использовании пылеуловителей с тангенциальным и радиальным вводами газа, второй – при использовании пылеуловителей с центральным вводом, Но в любом случае сеть газоотводов состоит из сочетания наклонных и вертикальных участков, образующих две параллельные ветви, объединяющиеся при использовании одного пылеуловителя.
Каждая ветвь состоит из вертикальных и наклонных участков газоотводов, образующих в пределах колошникового устройства вертикальную раму (рис. 1), которая заканчивается свечой и соединяется с пылеуловителями с помощью наклонных газоотводов. В случае применения пылеуловителей с радиальным или тангенциальным вводом требуется более низкое расположение наклонных газоотводов, поэтому они отходят от середины вертикальной рамы (первый вариант сети газоотводов).
При использовании пылеуловителей с центральным вводом наклонные газоотводы отходят от верхней части рамы, на 4 м ниже уровня свечи, в соответствии с правилами безопасности в газовом хозяйстве [6]. Второй вариант сети газоотводов предпочтительнее в связи с более плавным переходом от вертикального участка к наклонному, а также меньшими распорными усилиями наклонных газоотводов на пылеуловители при разогреве.
Газоотводы являются газопроводами большого диаметра и сравнительно низкого давления (с избыточным давлением газов менее 3 кгс/см2). Поэтому они выполняются стальными, сварными с толщиной стенок 8-12 мм. В связи с высокой температурой и абразивностью колошникового газа, газоотводы внутри футеруют на прямых участках шамотными изделиями, а на поворотах и перегибах литыми плитами из стойкой к абразивному износу стали. Толщина футеровки 1/2 длины нормального кирпича, который укладывается в один слой на ребро к поверхности газопровода кольцами. Футеровка производится отдельными участками длиной не более 2-х метров. Каждый участок опирается на стальное кольцо, приваренное к кожуху. Футеровку участка не доводят до вышерасположенного кольца, оставляя зазор 15-20 мм для компенсации теплового расширения кладки.

Рисунок 1 - Варианты сети газоотводов при использовании пылеуловителей с радиальным и тангенциальным вводом - I и с центральным вводом – II:
1 –вертикальная рама газоотводов; 2- наклонный газоотвод; 3- пылеуловитель
| 9493_Старикова_МЭТ_5 |
| Атмосферные осадки и их химический состав |