|
Номер варианта
|
Q, млн. т/год
|
a, мм
|
b, мм
|
c,
мм
|
d,
мм
|
e,
мм
|
d, т/м3
|
g2
|
g6
|
|
5
|
1.2
|
1000
|
35
|
25
|
15
|
3
|
2.5
|
24
|
32
|
|
g10
|
g13
|
g15
|
g16
|
g17
|
g19
|
g20
|
g21
|
g24
|
|
34
|
46
|
46
|
8
|
19
|
6
|
36
|
4
|
6
|
Введение
Обогащение полезных ископаемых
является одной из важнейших составляющих процесса добычи и переработки
минерального сырья.
При выборе обогатительного
оборудования приходиться решать три основных вопроса:
выбор типа аппарата;
определение его производительности;
выбор оптимального в
технико-экономическом отношении размера аппарата и в связи с этим потребного
количества устанавливаемых аппаратов.
В ряде случаев для проектируемых
условий может быть применен только один тип аппарата. Однако часто для осуществления
одной и той же операции могут быть применены аппараты разных типов.
1. Выбор и расчет
основного технологического оборудования процесса переработки минерального сырья
.1 Выбор приемного
бункера
Доставка полезного ископаемого из
шахты или карьера в приемный бункер обогатительной фабрики осуществляется
железнодорожным транспортом, с максимальным размером куска 1000 мм.
Объем приемного бункера определяется
исходя из обеспечения работы не менее 12 часов, дробилки первой стадии
дробления, в случае остановки отгрузки сырья.
(1)
где Qч - часовой грузопоток поступающий в бункер, который может быть
определен по следующей зависимости.
(2)
где QГ - годовая производительность карьера или шахты по полезному
ископаемому т/год;
N - число рабочих дней в году;
т - число рабочих смен в сутки;
п - продолжительность смены, ч;
kн - коэффициент
неравномерности подачи сырья, kн=1,15

1.2 Расчет
технологического оборудования для дробления
Расчет основного
технологического оборудования
При обосновании схем дробления
необходимо определить количество стадий дробления и задаться типом оборудования
для дробления.
Общую степень дробления определяют
по формуле:
(3)
где Dmax -
максимальный размер куска в исходном продукте, мм;
dmax - максимальный размер куска в дробленом продукте, мм.
Общая степень дробления является
произведением степеней дробления различных стадий.
(4)
Выбираем по стадийную степень
дробления:
i1=5; i2=5; i3=3.
Определяем условную максимальную
крупность дробленого продукта в отдельных стадиях:
D1=D/i1=1000/5=200 мм,
D2=D1/i2=200/5=40 мм,
D3=D2/i3=40/3=13 мм.
При этом дробленый продукт на выходе
имеет больший размер по сравнению с размером выходной щели, характеризующийся
коэффициентом закрупнения:
(5)
где l - ширина разгрузочной
щели дробилки, мм
Крупное дробление твердых пород
целесообразно проводить в щековых, мягких и средней твердости в конусных.
Среднее и мелкое дробление крепких пород и пород средней крепости как правило
осуществляется в конусных дробилках.
Для первой стадии дробления
принимаем конусную дробилку. Для нее относительная максимальная крупность
продукта дробления zp=1,4, тогда ширина разгрузочной щели
дробилки крупного дробления:
Принимаем дробилку
ККД-1200/150 с размером загрузочного отверстия 1200 мм., и шириной разгрузочной
щели 130-180 мм. Техническая характеристика приведена в табл. 1. [1, табл.
П. 2.5;].
технологический питатель
грохочение
Таблица 1. Техническая
характеристика щековой дробилки с простым качанием щеки
|
Показатели
|
ККД 1200/150
|
|
Диаметр основания дробящего конуса, мм
|
1900
|
|
Размер загрузочного отверстия, мм
|
1200
|
|
Ширина выходной щели, мм
|
130 - 180
|
|
Частота вращения дробящего конуса, мин-1
|
120
|
|
Наибольший размер кусков в питании, мм
|
1000
|
|
Паспортная производительность, м3/ч
|
550-800
|
|
Частота вращения электродвигателя, мин-1
|
750
|
|
Примерная стоимость, млн. р.
|
10.62
|
Во второй стадии принимаем конусную
дробилку среднего дробления zp=1,9.
Принимаем конусную
дробилку КСД-2200Т с размером загрузочного отверстия 250 мм. и шириной
разгрузочной щели 15-30 мм.
Рис. 2. Конусная
дробилка среднего дробления
Таблица 2. Техническая
характеристика конусной дробилки среднего дробления
|
Показатели
|
КСД - 2200Т
|
|
Диаметр основания дробящего конуса, мм
|
2200
|
|
Размер загрузочного отверстия, мм
|
275
|
|
Ширина выходной щели, мм
|
15 - 30
|
|
Наибольший размер кусков в питании, мм
|
250
|
|
Частота вращения дробящего конуса, мин-1
|
242
|
|
Паспортная производительность, м3/ч
|
180 - 360
|
|
Частота вращения электродвигателя, мин-1
|
495
|
|
Примерная стоимость, млн. р.
|
3,5
|
В третьей стадии целесообразно
использование конусной дробилки для мелкого дробления КМД. Для нее
относительная максимальная крупность продукта дробления zp=1.85.
Принимаем конусную
дробилку КМД-1200Гр с размером загрузочного отверстия 80 мм. и шириной
разгрузочной щели 5-15 мм. Конструкция дробилки такая же как и у дробилок КСД.
Таблица 3. Техническая
характеристика конусной дробилки мелкого дробления
|
ПоказателиКМД - 1200Т
|
|
|
Диаметр основания дробящего конуса, мм
|
1200
|
|
Размер загрузочного отверстия, мм
|
100
|
|
Ширина выходной щели, мм
|
|
Наибольший размер кусков в питании, мм
|
80
|
|
Частота вращения дробящего конуса, мин-1
|
260
|
|
Паспортная производительность, м3/ч
|
45
|
|
Примерная стоимость, млн. р.
|
1,3
|
Расчет конусной дробилки
Определение производительности (т/ч)
конусных дробилок для крупного дробления осуществляется по зависимости:
(6)
где k - коэффициент
разрыхления, k=1,2;
d -
плотность дробимого материала, т/м3.
Мощность электродвигателя конусной
дробилки крупного дробления (NКК) определяется по
эмпирической зависимости
, (7)
технологический питатель
грохочение дробление
где D - диаметр
основания дробящего конуса, м;
r
- эксцентриситет в плоскости выходной щели, м;
п
- частота качаний конуса, мин-1.
кВт
Окончательно принимаем
асинхронный двигатель 4АН250М6У3 установленной мощностью 75 кВт номинальной
частотой вращения 1000 об/мин, [2, стр. 233].
Расчет конусных дробилок
среднего и мелкого дробления
Конусные дробилки для
среднего и мелкого дробления выбираются по ширине загрузочного отверстия и
производительности при заданной ширине разгрузочной щели. Массовая
производительность дробилок типа КСД и КМД определяется:
(8)
где q - удельная
производительность дробилки, м3/см×ч, [1, табл. П. 2.8];
е - ширина разгрузочной щели, см;
kн=2 - насыпная плотность,
т/м3.
Для дробилки среднего дробления:
Потребляемая мощность
электродвигателя для дробилок типа КСД и КМД:
(9)
Установленная мощность
двигателя с учетом запаса:
Принимаем двигатель CDK2-16-24-10KY4 установленной
мощностью 400 кВт, частотой вращения 600 об/мин, [2, стр. 193].
Для дробилки мелкого дробления:
Принимаем асинхронный двигатель
4А280S2У3 установленной мощностью 110 кВт, частотой вращения 600 об/мин,
[2, стр. 230].
Выбор и расчет
вспомогательного оборудования для дробления
Расчет операций
грохочения
После определения производительности
дробильного оборудования осуществляется распределение грузопотоков по стадиям
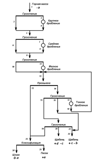
дробления, для чего составляется схема 2. При этом следует учитывать, что:
Схема №2. Производительность колосникового
грохота (т/ч) определяют по зависимости:
где а - размер
щели между колосниками, мм;
F
- площадь просеивающей поверхности грохота, м2.
То есть,
производительность колосниковых грохотов применяемых для предварительного
грохочения в схемах крупного дробления, зависит от площади просеивающей
поверхности. Поэтому, так как при крупном дроблении применяется, как правило,
одна дробилка, то расчет колосниковых грохотов сводится к определению площади
просеивающей поверхности.
(10)
Ширина грохота (В) из
условий не забивания должна пропускать не менее трёх кусков максимального
размера:
(11)
Длина грохота (L)
принимается в два раза больше ширины:
(12)
Рис. 3. Грохот инерционный
Для операций предварительного
грохочения в схемах среднего и мелкого дробления в настоящее время применяют,
как правило, инерционные грохоты.
Основным критерием при выборе
инерционного грохота является - плотность исходного материала, требуемый размер
под решетного продукта и количество фракций под решетного продукта.
Исходя из крупности кусков на
стадиях дробления, принимаем следующие размеры отверстий сит:
Перед средним дроблением - 21 мм
Перед мелким дроблением - 11.5 мм.
Для первого случая применим грохот
ГИС42 с размером отверстий сит - 25 мм. [1, табл. П. 2.10];
Таблица 4. Техническая
характеристика инерционного грохота тяжелого типа ГИС42
|
ПоказателиГИС42
|
|
|
Размер просеивающей поверхности, мм
|
|
Число сит
|
2
|
|
Частота колебаний короба, мин-1
|
900
|
|
Амплитуда колебаний, мм
|
4,5
|
|
Размер отверстия сита, мм
|
25
|
|
Мощность двигателя, кВт
|
10
|
|
Максимальная производительность, м3/ч
|
70
|
Для второго случая ГИЛ42 с размером
просеивающей поверхности -13 мм, техническая характеристика приведена в табл.
5.
Таблица 5. Техническая
характеристика инерционного грохота легкого типа ГИЛ42
|
ПоказателиГИТ42
|
|
|
Размер просеивающей поверхности, мм
|
1500×3750
|
|
Число сит
|
2
|
|
Частота колебаний короба, мин-1
|
900; 1000
|
|
Амплитуда колебаний, мм
|
3 - 3,5
|
|
Размер отверстия сита, мм
|
13
|
|
Мощность двигателя, кВт
|
7,5
|
|
Максимальная производительность, т/ч
|
180
|
Производительность инерционных
грохотов по исходному материалу:
(13)
где F - рабочая площадь сита,
м2;
q - удельная производительность грохота, м3/(м2×ч), [1, табл. П. 2.9];
d -
насыпная плотность грохотимого материала, т/м3;
k, l, т, о, р - поправочные коэффициенты, [1, табл. П. 2.12]; коэффициент
р=1,25-1,3 при мокром грохочении.
Мощность (кВт),
потребляемая электродвигателем инерционного грохота может быть определена:
(14)
где Nгрох
- энергия расходуемая на грохочение, кВт;
Nтр.грох
- мощность, расходуемая на трение в приводе грохота, Nтр.грох=1,75×Nгрох
(15)
где Мгрох -
масса материала, находящегося на просеивающей поверхности:
(16)
где L - длина просеивающей
поверхности сита, м;
- скорость перемещения
материала, м/с;
bп,
Е - соответственно содержание продукта класса - п мм в исходном
продукте и эффективность грохочения, %.
Расчеты для ГИС42
Окончательно принимаем
асинхронный двигатель 4А160S6У3
мощностью, 10 кВт, частотой вращения 1000 об/мин, [2, стр. 230].
Расчеты для ГИЛ42
Окончательно принимаем
асинхронный двигатель 4А160М6У3 мощностью, 15 кВт, частотой вращения 1000
об/мин, [2, стр. 230].
Расчет питателей
Регулярное и равномерное
питание дробильно-измельчительных машин, обеспечивающее максимальную
производительность и эффективность их работы, достигается применением
питателей. В схемах крупного дробления чаще всего применяют пластинчатые
питатели, [1, табл П2.13]. Загрузка дробилок среднего и мелкого дробления
осуществляется непосредственно с конвейера.
Производительность
пластинчатого питателя определяется:
где В-ширина
пластины бортами, м;
h
- толщина слоя материала на пластине, м;
v
- скорость движения ленты, v=0,16.
k
- коэффициент заполнения питателя материалом, k»0,75.
(17)
2. Выбор количества
основного оборудования
Часовая производительность
дробильных отделений при производительности фабрики 1.2 млн. т/год составит Qчас=338 т/ч.
При этом на крупное дробление
направляется надрешетный продукт колосникового грохота, которого примерно
75-85%, то есть
Потребное количество конусных
дробилок 287/880=0,3.
принимаем 1 дробилку.
Количество надрешетного продукта
перед средним дроблением составляет: 55 - 60%, то есть
QСД= 0,6×338 = 203 т/ч
Потребное количество КСД:
203/330=0,6.
Принимаем 1 дробилку.
Количество надрешетного продукта
перед мелким дроблением составляет: 40-45%, то есть
QМД = 0,45×338 = 152 т/ч.
Потребное количество КМД:
152/95=1,6.
Принимаем 2 дробилки.
Потребное количество грохотов ГИС42:
338/507=0.7
Принимаем 1 шт.
Потребное количество грохотов ГИЛ42:
338/411=0,8.
Принимаем 1 шт.
Таблица 6. Основное технологическое
оборудование
|
Наименование оборудованияКоличество
|
|
|
Дробилка конусная ККД 900/140
|
1
|
|
Дробилка конусная типа КСД-2200Т
|
1
|
|
Дробилка конусная типа КМД-1200Гр
|
2
|
|
Грохот колосниковый
|
1
|
|
Грохот инерционный типа ГИС42
|
1
|
|
Грохот инерционный типа ГИЛ42
|
1
|
|
Питатель пластинчатый
|
1
|
Заключение
В данной
работе рассчитано и выбрано основное оборудование для крупного, среднего,
мелкого дробления. Определён часовой грузопоток поступающий в бункер, определён
объём приёмного бункера с учётом обеспечения работы не менее 12 часов.
Рассчитана потребная мощность двигателей для оборудования. Выбрано и рассчитано
вспомогательное оборудование.
Список литературы
1. Гуров М.Ю.,
Гришин И.А., Великанов В.С. Выбор и расчет электромеханического оборудования
обогатительных фабрик. Методическое указание по выполнению контрольной работы
для студентов специальности 150402. МГТУ 2006. 35 с.
2. Справочник по
электрическим машинам: В 2 т./С74 Под общ. ред. И.П. Копылова и Б.К. Клокова.
Т.1. - М.: Энергоатомиздат, 1988. -456 с.
3. Проектирование
обогатительных фабрик. Учебник для вузов. 4-е изд., перераб. и доп. Разумов
К.А., Петров В.А.М., Недра, 1982. 518 с.